The Hybrid Chevy Corvette’s Secrets Are Hiding in Plain Sight

We already know a lot about GM's electrification plans, and the Corvette likely slots right into that.
General Motors

Electrification isn’t a curse. As automakers like McLaren, Ferrari, and Porsche have adopted it, it’s created some of the greatest, most technically impressive automobiles the world has seen. Adding electric motors to help out a combustion-based drivetrain makes a lot of sense, and as it was announced yesterday, it’s the Corvette team’s turn to take a swing at creating a battery-assisted, mid-engine beast. It’s going to be impressive, but it’s also likely to be one of the few that anybody besides an unbelievably wealthy person could dream of owning, at least for a while.

To achieve this, General Motors will doubtlessly do some parts sharing. Everybody knows GM is a big fan of dipping into the parts bin to save money, and the Corvette is no exception. As such, it’s likely the new electrified C8 will use an existing front-drive unit out of the automaker’s Ultium powertrain catalog, which we already have details of. Just the same, patent documents from Tremec, the Corvette’s transmission supplier, have shown us that this new ‘Vette is unlikely to get electric power on the front axle only. Considering these two factors, we can scrape together a pretty good picture of what this AWD, hybrid Corvette will probably be like.

Let’s start by putting the front-drive unit options out on the table. GM currently makes or has plans to make three different electric motors for use in five different drive units. The most popular motor so far within the company’s growing EV lineup is the 255-kilowatt design, which forms the base of the Hummer EV and Cadillac Lyriq’s powertrains. In the Hummer’s case, it uses two of these motors in a singular drive unit to power the rear wheels, and a single one up front to power those wheels. At 341 horsepower apiece, the total system output is just north of a thousand happy ponies. A very similar drive unit to the Hummer’s front single-motor setup is also used in the Cadillac Lyriq, which just entered production.

Adding 341 horsepower to the Corvette even in its basic LT2-powered guise would offer a total output of 836 horsepower, assuming the Z51 exhaust system is used which nets the ‘Vette an extra five horses. This isn’t the only front motor option, though. A less powerful, 180-kW unit intended for front-drive purposes only—think of cars such as the upcoming Equinox and Blazer EV—is also on the table. This extra 241 hp would still boost a regular Corvette to a hair-raising 736 horsepower.

I haven’t even mentioned combining the Z06’s LT6 with these electric motors yet because it’s so exciting I can barely contain myself. With the 341 horsepower motor up front, it brings the total system output to 1,011 horsepower. And that’s not even mentioning the possibility of using the Hummer EV’s ~682 horsepower rear drive unit. It seems absurd, but a Corvette with this and the LT6 would be in the neighborhood of 1,350 horsepower. Can they… do that?

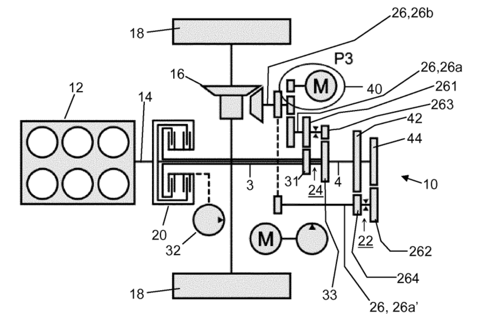
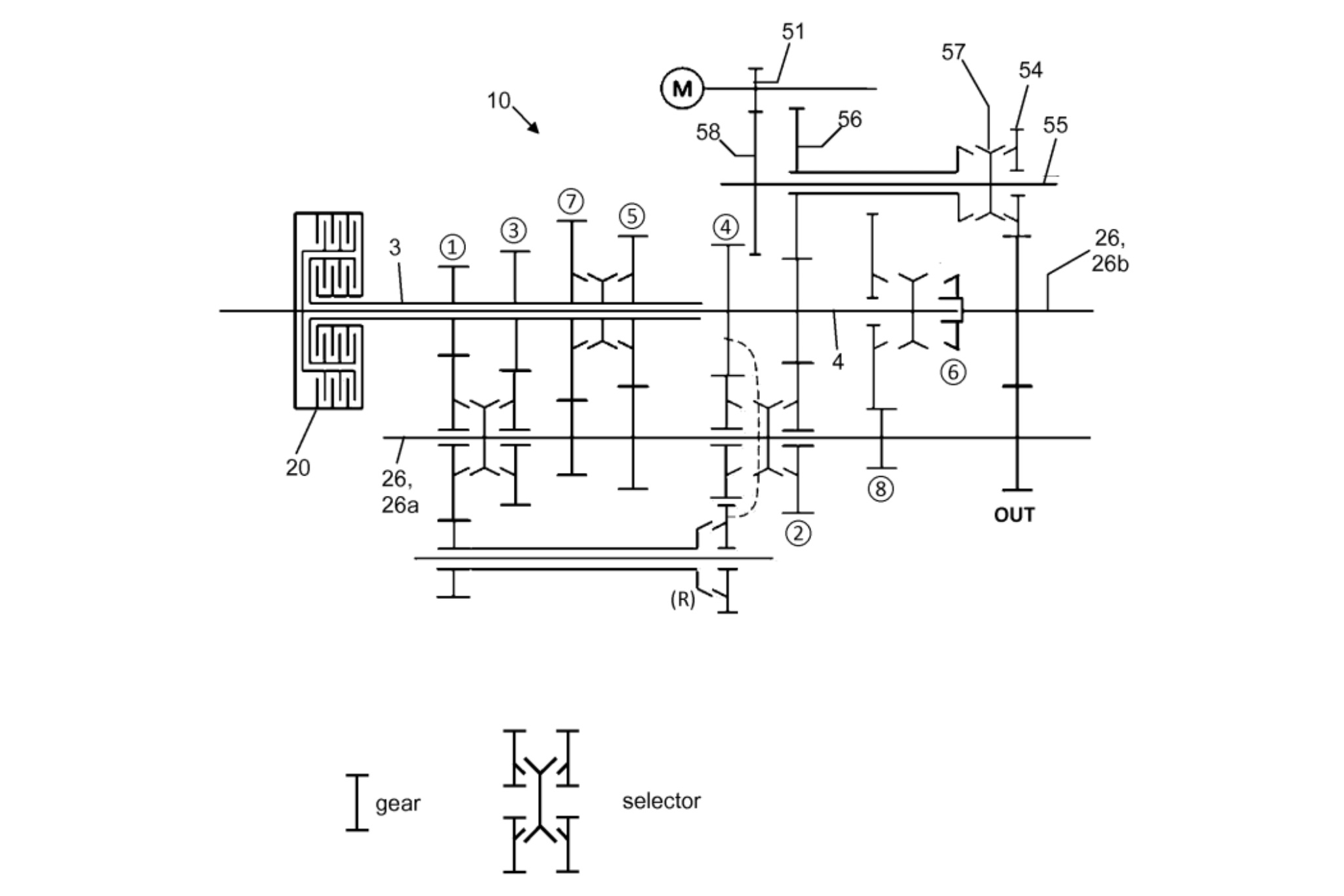
Now, as previously mentioned, this likely isn’t everything on the table. Patent documents indicate the dual-clutch transmission in the C8 will have an electric motor mounted to it. These patent documents do not represent a statement of intent from GM or Tremec, to be clear; however, the writing seems to be on the wall. The transmission in the patent documents is explicitly intended for a sports car, and it’s an eight-speed—Tremec only makes an eight-speed DCT for the Corvette. Yes, it’s entirely plausible this transmission will not enter production because companies don’t follow through with patents all the time; they’re often just meant to protect intellectual property. That being said, GM suspiciously makes a motor that could work nicely for this application.

Yes, the third Ultium drive motor, a 62-kW “all-wheel drive assist motor,” could be a potential winner in terms of being bolted up to the C8’s DCT. GM probably intends for this to be placed at the rear wheels in a primarily front-drive EV to offer a sort of cheap AWD system and prevent a car from getting stuck, sort of like the Prius’ AWD-e setup. To be transparent, though, GM doesn’t provide a clear use case for this motor in its limited literature describing it. That greatly broadens my speculatory horizons, which I appreciate very much.

This relatively small motor would provide a modest power increase of 83 hp. In an LT6-powered hybrid with a 341-hp front drive unit, though, it would mean a total system output of right around 1,100 hp. Likewise, it would mean that the C8 hybrid could drive around in fully electric mode whilst retaining AWD. If you’re thinking having so much power at the front might make for some unusual dynamics, well, the Tremec patent document states that there’s no reason why the transmission couldn’t still be shifted while the electric motor is enabled. The DCT would still be able to take full advantage of the motor’s torque characteristics at a variety of speeds thanks to the physical transmission which must be retained, of course, because of the internal combustion engine. I won’t go off on too much of a tangent here, but the proposed drive motor on the hybridized DCT Tremec described only powers one of the two shafts clutched to the engine on the DCT, which means the electric motor would have just four gears—one, three, five and seven or two, four, six and eight—to bang through as opposed to the full spectrum of ratios.

The most interesting part of all of this—as if what you’ve read so far isn’t intriguing enough—isn’t necessarily the 1,350 horsepower, or the all-wheel drive, or even the ability to slam gears in a DCT using an electric motor. No, it’s the possibilities. Several drive units are on the table to use as well as two exceptional combustion engines. The way these systems might be combined, configured, and programmed to work together is plain exciting. Just the same, the fact that all of this technology is being developed for the Corvette might open the door for its use in other vehicles.

The only issue I see here is that this sort of collaboration between the world of internal combustion and electrification might be limited. We deserve more great, (relatively) affordable hybrid sports cars. In many ways, they have all the potential in the world to be more exciting, capable, livable, and enjoyable than the strictly ICE-powered vehicles that came before them. With many automakers seeming to be in full EV mode, though, we’ll see how many we actually get. This new Corvette is hopefully enough to inspire others to take the hybrid performance route.

Got a tip or question for the author? You can reach them here: peter@thedrive.com

Peter Holderith is a former staff writer for The Drive. He enjoys covering the regular news cycle, writing reviews, and hunting down long features on obscure pieces of automotive history.