It’s been a well-established rumor ever since the C8 Corvette was introduced in 2019 that hybrid versions of the car are happening. Whether it’s a 1,000-horsepower beast or a slightly more pedestrian plug-in machine, electrification is coming. Exactly how a hybrid ‘Vette would work has been something of a mystery, though.
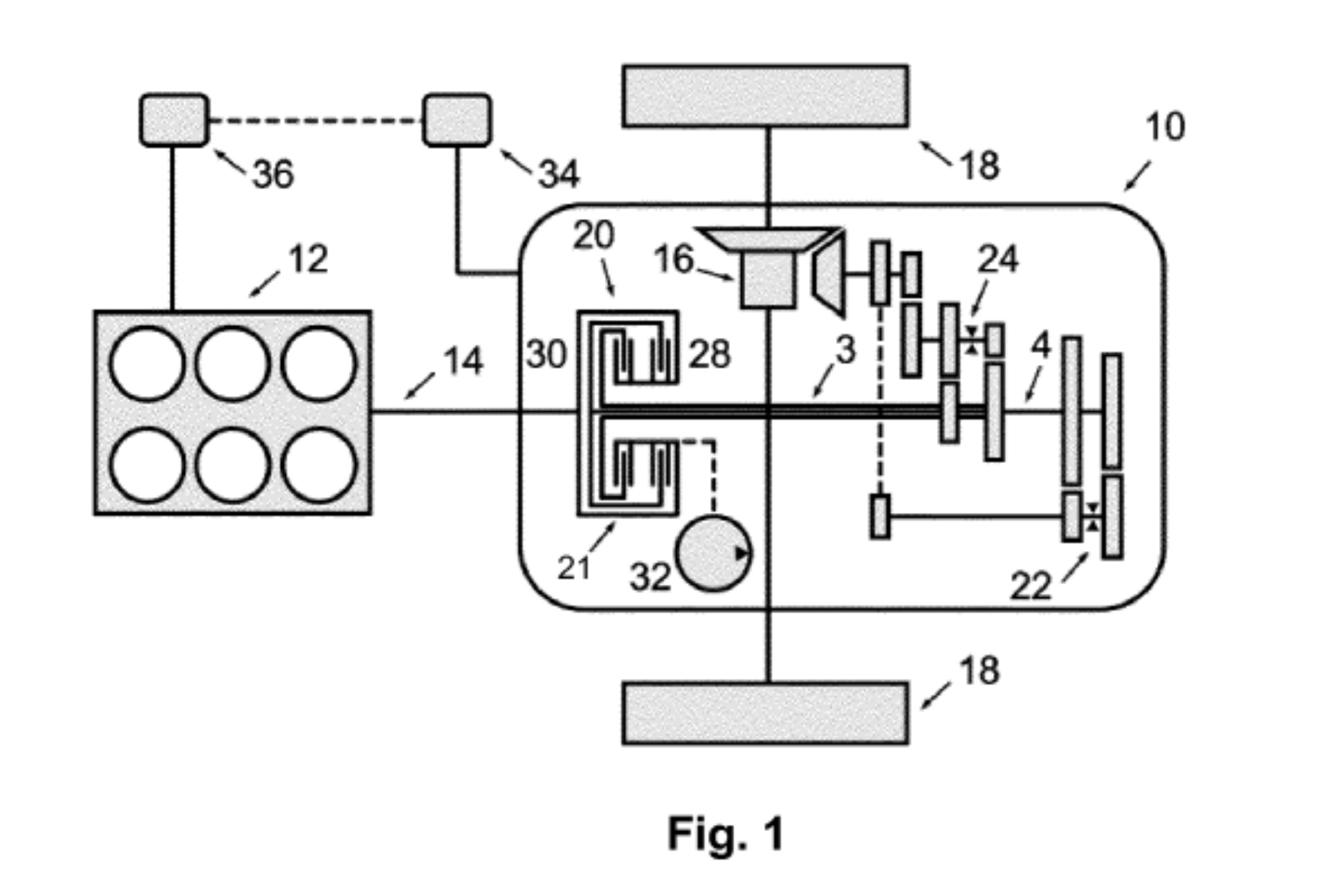
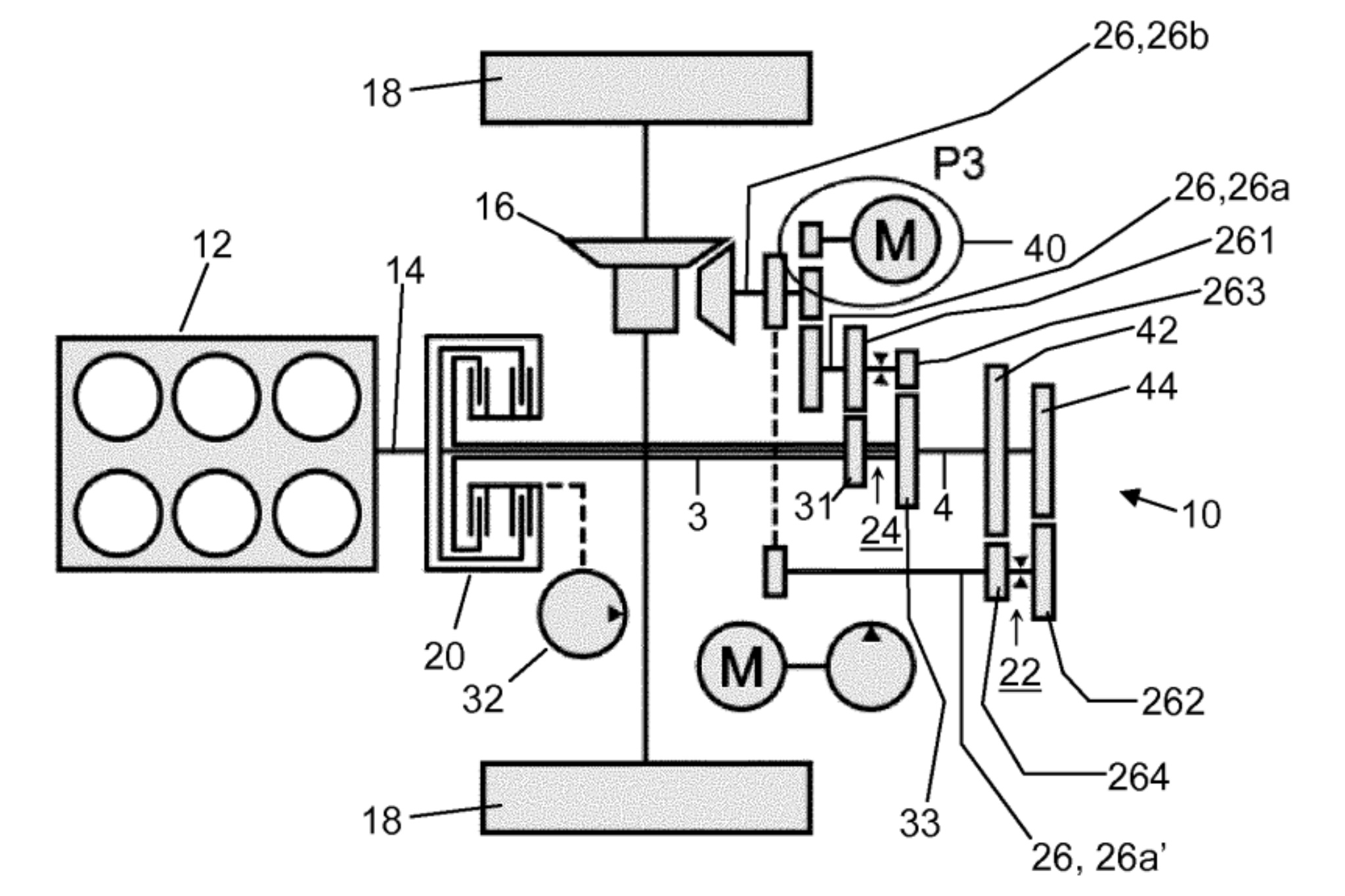
Fortunately, it looks like we’ve got more details now. Tremec, one of the companies behind the eight-speed dual-clutch transmission in the C8 Corvette, applied for a patent back in 2019 that was just published in early January 2022. It details not just any DCT, but an eight-speed unit with an integrated electric motor-generator that’s powerful enough for applications in “high performance sports cars.” How this transmission works is fascinating, and keep in mind, the only eight-speed DCT the company currently makes—the TR-9080—goes into the Corvette. It seems pretty clear where this new gearbox is headed.

We’ve seen photos of what appears to be a hybrid Corvette a few times, but the inner workings of those cars are, of course, not evident on the surface. What this patent details is a little complex, but here’s what we’re able to understand about it from a mechanical perspective. If you’re unfamiliar with dual-clutch transmissions, some of this might seem like mumbo-jumbo, but I’ll be as clear as possible.
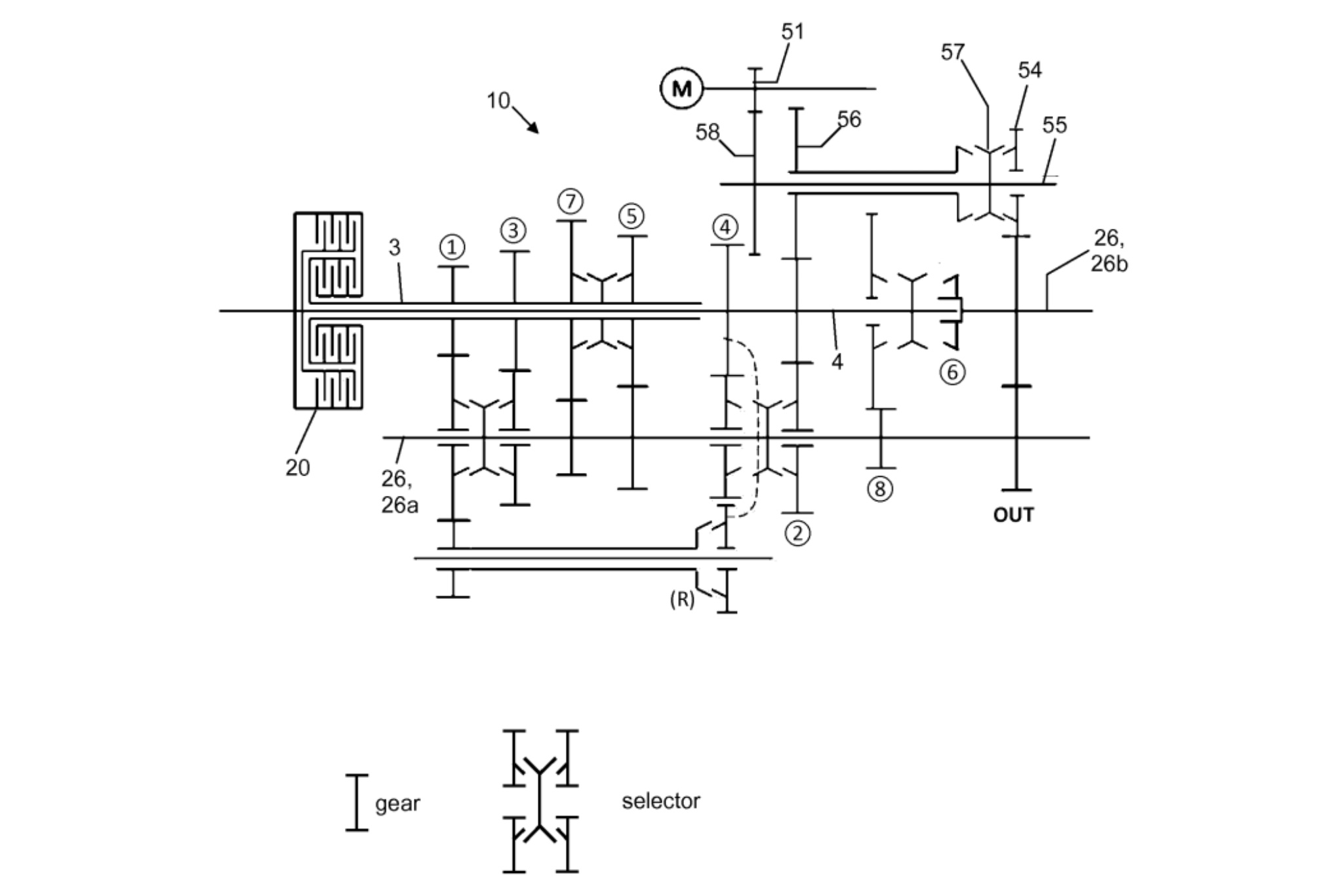
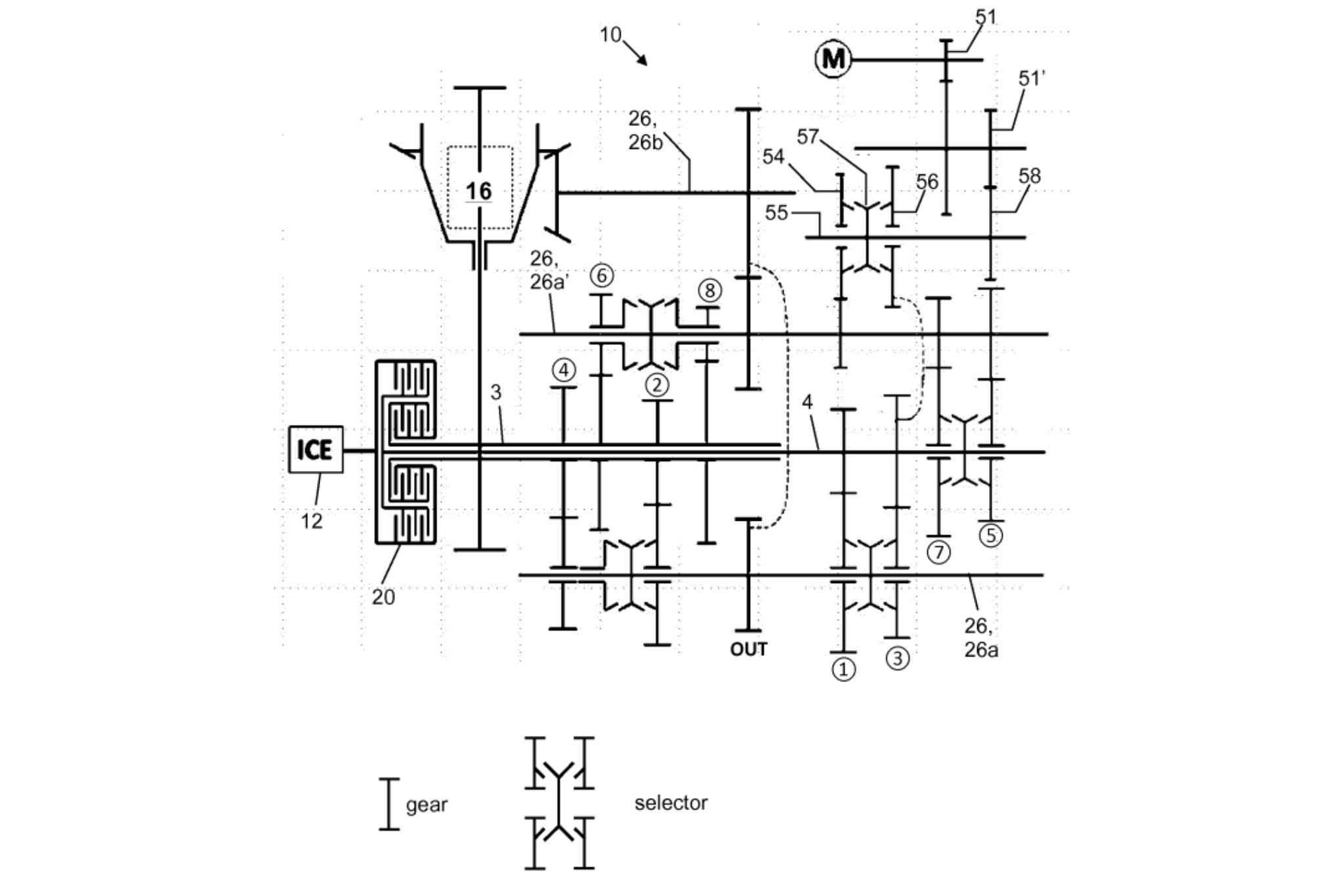
The motor-generator, an electric motor that can be used to power the wheels or regenerate braking energy, is integrated into the gearbox. It transmits power to either the primary output shaft of the transmission that sends power to the differential and subsequently the rear wheels, or to one of the input shafts—there are two, an inner and outer on most DCTs. It does this via a selector mounted to a “torque transfer shaft,” which is geared to the input and output shafts. Importantly, it cannot transmit power to both input shafts at the same time, and perhaps only one of them by design.

Now, this is a dense engineering document and I don’t have a mechanical engineering degree. That said, it seems to me that the intent of powering the input shaft is for a number of reasons not necessarily related to transmitting power to the wheels during a hybrid drive mode. In this configuration, the electric motor can be clutched to the input shaft and the engine at the same time, but the output shaft does not have to be coupled to the rear wheels. That means the motor-generator can be used to start the engine when the car is stationary. It also means the engine can charge the car’s battery when it’s stationary.
The input shaft will likely also be used for a pure electric driving mode. As previously mentioned, however, that likely entails only one of the input shafts. This has a few implications. The document states, “The decision to which one of the two transmission input shaft[s] the [electric motor] may be connected is a design choice and may not be selectable during operation.” It goes on to note, “This decision may be based on performance simulations but may be limited due to design and packaging constraints. The selective connection may be effected with a dog clutch or other connection device with or without a mechanical synchronization.”

What it’s saying is that, sure, we could figure out a way to drive both input shafts if that’s what we need to do, but as it sits, it’s probably good enough to just drive one of the shafts. This means that, yes, you’ll probably still be able to shift this transmission in pure electric mode. The document actually goes into detail about how this would work, noting lower gears might be preferable for fast acceleration, although they would limit the top speed of the vehicle. It actually states that using a lower gear in the electric mode might create “tyre-grip-surpassing acceleration,” AKA a burnout. Yes, Tremec says this “high performance sports car” will be able to burn rubber in electric mode.
Furthermore, what this means is that since only one input shaft is driven by the electric motor, the car will have four forward electric gears. That’s if Tremec doesn’t figure out a way to power both input shafts and quickly switch between them before the car is unveiled. The document states that the electric motor could be used to match the speeds between the gears, which would be necessary since they are all now on the same input shaft. In essence, in electric mode, the car is now a single clutch transmission, shifting between the gears on that respective shaft. That means either gears 1, 3, 5, and 7 or 2, 4 , 6, and 8 depending on which input shaft is chosen. For those who are unfamiliar, this is because DCTs mount the even and odd sets of gears on different shafts, so that you can change gear just by swapping a clutch attached to each respective shaft, as opposed to selecting a new gear with a conventional selector.




What’s funny about this situation is that the patent states you would probably want to match the speeds between the ratios using the electric motor. After all, you would be shifting from first, to third, to fifth, and then seventh; the ratio gaps are larger than usual. “During gear change from a lower gear to a higher gear on the same transmission input shaft… the selector (synchroniser) of the lower gear may be disengaged, the speed of the [electric motor] synchronised to the new speed by a control unit and the next gear engaged.” However, it notes that this isn’t actually necessary. Indeed, you could skip this speed-matching entirely because, in short, it might be pretty cool. “The [electric motor] may also be brought up to speed by the selector (synchroniser) of the upper gear. This strategy is maybe atypical for electric cars. It brings a sports-car feeling to pure electric drive.” Basically, you could be able to slam gears in your ‘Vette in full-electric mode. Man, that is sick.
There’s some other funny business going on here with the input shafts and the electric motor in terms of how the car starts and stops, but really, it’s about time to move onto the main output shaft, because that’s how it’s able to extract the “maximum boost capabilities” from the entire system. This mode is intended, according to the patent, for “spirited hybrid [drives].” In short, the primary output shaft is clutched to the electric motor during the hybrid performance mode at a ratio of around “8-10:1.” The engine and DCT work together as normal. Electric power is sent to neither of the input shafts, but rather only to the output shaft for a few reasons.
The first is to augment the loss of torque at the tires when the car is shifting, to “torque fill,” as has been seen on other performance hybrids. The other is to add power directly to the wheels during acceleration. The patent states the primary output shaft is ideal for this because the electric motor will only send extra torque through the output shaft, to the differential, and then the wheels—not through the input shafts the combustion engine is interacting with. Therefore, only the output shaft and everything after that has to handle the extra torque of the electric motor, not anything before it. Just the same, it’s stated that the output shaft is mechanically a short distance from the wheels from the electric motor, which makes it ideal for regenerative braking.

It’s possible I may have missed something here. Tremec’s patent is well over 10,000 words and these companies aren’t chomping at the bit to answer questions from the media about unrevealed products.
There are also a lot of minor details of this hybrid transmission that are just sort of sidenotes. The car doesn’t need reverse gear anymore—the electric motor can just spin in reverse—so that has been made optional in this design. Just the same, the electric motor has the option of not selecting either shaft in order to save fuel on the highway, or oppositely engaging with an input shaft during the same period to gather battery charge for later. Did I mention the fact that it might also be advantageous to drive the input shafts during the hybrid performance mode, and that a computer might ultimately decide all of this? Also, the document references other DCT designs by Kia/Hyundai and Porsche, but only to say that what it has designed here is not like those transmissions, sort of like evidence to justify the patent.
All of this is a lot to take in, but very exciting in the same breath. We’ve reached out to a few contacts at General Motors as well as to Tremec to try and get any comment on this patent, but as of publishing, we have yet to hear back. It’s also unlikely that anybody from these companies will spill the beans about what we’re seeing here. If we’re right, though, and this transmission is indeed intended for the hybrid C8, it’s sure to be an absolutely stellar car to drive.
Got a tip or question for the author? Contact them directly: peter@thedrive.com