Drift Mode on the Ford Focus RS was created largely by accident, going on to become a headline feature for that car which was quickly copied by competitors in the industry. The hot Focus is long gone from the Ford lineup, of course, but a new patent suggests Drift Mode could be coming back in a big way on a future Ford vehicle.
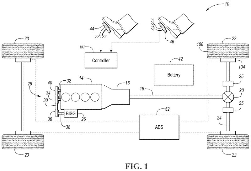
Right off the bat, there’s plenty of juicy detail to drool over in the patent filing titled “VEHICLE WITH DRIFT MODE.” The figures included in the patent describe a rear-wheel-drive vehicle, obviously the layout of choice for the drifting faithful. The text notes that the vehicle could use an automatic or manual gearbox, with the latter option sure to further excite enthusiasts.
According to the patent, the new Drift Mode operates in much the same way as the traditional drifting technique of pulling the e-brake. The patent describes a system in which a special set of clutches disconnect the rear wheels from the drivetrain when Drift Mode is activated, potentially by a lever, or “drift-stick,” mounted in the cabin. The brakes are then applied to lock the rear wheels, inducing a lurid slide as desired.
It’s a different method of operation versus the Drift Mode in the Focus RS. In that vehicle, torque vectoring was used to induce drift rather than locking up the rears with the brakes.

The system diagram specifically shows the two special clutches mounted on either side of the rear differential. The patent does describe alternative methods of achieving the same disconnection of wheels and drivetrain, though, such as relying on the regular clutch in a manual transmission, clutches in an automatic gearbox, or even through the use of a transfer case or center differential. The latter indicates Ford is covering its bases if it wants such a patent to apply to all-wheel-drive designs.
The rest of the patent goes into finer detail regarding how the engine or electric motor will be controlled during this activity to assist in maintaining or exiting the slide as needed. Notably, the patent refers to an engine fitted with a mild-hybrid setup using a belt integrated starter generator, or BISG. However, it also describes modes of operation using solely electric drive as well.

It’s exciting to speculate on the vehicles that Ford might have in the pipeline featuring this technology. Given the rear-wheel-drive layout described and the fact that Drift Mode wouldn’t be ideal in a tall SUV, one’s mind naturally drifts to the next Ford Mustang. Reports from Automotive News last year suggested the new Mustang would arrive for the 2023 model year, with a hybrid version possibly arriving for 2025, and hints at an all-wheel-drive version. All of that information lines up very well with the text of the patent, hinting at a tantalizing future for the Blue Oval’s legendary pony car.
Speculation is just that, of course. To play devil’s advocate, the patent may instead simply be a design Ford has experimented with and wants to lock down the intellectual property, with no real plans for production at this stage. In any case, The Drive has reached out to Ford and will update if any comment is forthcoming.
Got a tip? Let the author know: lewin@thedrive.com