Ford is expected to level the rebooted Bronco at the Jeep Wrangler and Gladiator, which today dominate the swelling midsize off-roader market. To beat the Jeeps at their own game, Ford is supposedly working on ensuring the Bronco one-ups both its rivals in every conceivable metric, plus some ways that aren’t normally measured, like how easy it is to take off the doors and roof. Ford has been going nuts patenting removable door mechanisms believed to be for the Bronco and according to patent documents that surfaced last week, the Blue Oval could apply this same thinking to the Bronco’s roof.
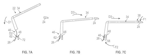
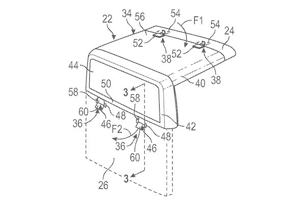
Images from the documents published Sept. 26 by Patent Swarm depict removable roof assemblies held on by two pairs of latches and an “alignment bracket” that essentially wedges itself down against the front edge of the bed. In theory, all that you need to remove this roof is a pair of hands and enough muscle to lift the assembly once it’s loose.





Patent illustrations depict the roof fitted to a Ranger lookalike, though again, everything points to this system going on the Bronco rather than the Ranger. Images from the filing also suggest the Bronco’s removable top will be available with a sliding rear cab window, a glass roof, or both, but not neither.
If this style of roof and the easily removable doors make it to the production Bronco—whose launch is reportedly about a year from now—it may make the Ford more attractive to consumers than the Wrangler, whose roof and door removal is known to be a time-consuming process that sometimes involves multiple people plus tools.
Even if the Bronco doesn’t beat the Jeep by much on the user-friendliness front, it’ll still likely draw drivers who want an off-roader, but would rather not be associated with Wrangler owners’ tacky taste in modifications.