Ford doesn’t want the public to see the 2021 Bronco until later this month, so it can’t be thrilled that someone snagged photos of an un-camouflaged Bronco in a company facility and shared them to the Bronco6g forum on Thursday evening. They’ve since been taken down, but we’ve preserved them for you. The highlights: a full convertible roof, Wrangler-like exposed roll bars, removable door/window storage in the cargo area, flared fenders, and steel wheels on the base model. This is looking good, folks.
In our lead image at the top of the article, the four-door version is on the left and the two-door is on the right.

2021 Ford Bronco Leaked
, Bronco6G Forum
2021 Ford Bronco Prototype
, SpiedbildeThe unnamed tipster claims that the full-size Bronco (a smaller, slightly curvier smaller Bronco is set to debut in April) is extremely rectangular, which we’ve seen in spy photos—but it’s great to hear that the extra camouflage wasn’t hiding a softer-than-expected exterior design. That full convertible roof—an upgrade from the last Bronco’s half-convertible setup—was likewise strongly hinted by spy photos showing the truck with a floating third brake light mounted above the rear spare tire, instead of above the back window like you’d expect.
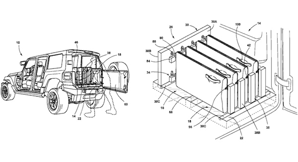
Last year, we detailed the number of patent filings related to removable door and roof systems Ford had applied for or received over the course of the Bronco’s development timeline. From what the tipster says, it sounds like the automaker’s pulling from a few of them.
“You can pull the hard top off and hit a button for the soft top to come up. There is like an oven in the back to store the windows.”

2021 Ford Bronco Leaked
, Bronco6G Forum
2021 Ford Bronco Prototype
, SpiedbildeThat last line is a bit confusing—it’s possible they mixed up their appliances in this metaphor, as one of the patents showed a toaster-like door storage system in rear of the four-door Bronco. But we’ve been unable to reach the initial poster here for clarification, as he’s wisely gone to ground with Ford looking for answers about how this leak happened.
Meanwhile, the exposed roll bars will guarantee the Bronco’s structural rigidity even without its roof, just like its Jeep rival, and that promised one-touch soft top operation sounds a lot easier than the Wrangler’s manual setup.

Verifying the above patent image, the photographer said that the 2021 Bronco’s tailgate will be side-hinged, presumably to avoid stressing the full-sized spare’s solid mount—thought to house the Bronco’s backup camera. While said spare tire’s specs aren’t legible, its tread pattern visibly differs from that of the tire spotted on a Bronco test mule, which was of a spec similar to an F-150 Raptor. If there’s a Bronco Raptor on the way, this clearly ain’t it, but if the Bronco photographer’s excitement is anything to go by, even the base model will be a game-changer.
Further similarities to the camo mules seen testing in public are the wide fender flares, a slight upward notch in the beltline at the back of the rear doors, and the vertically-oriented taillights, so there’s no evidence to suggest this is anything but the real deal.


“All I will say is get ready, it is everything we want it to be,” hinted the tipster. “We are getting what we want, trust me.”
Got a tip? Send us a note: tips@thedrive.com