Detailed Patent Might Preview New Toyota MR2 Hybrid

An electric/hybrid MR2 has been rumored for a while, and now there's more evidence.
Toyota

Toyota is upping its enthusiast car game. From uninspiring offerings just a decade ago, the automaker has released the GR86, the Supra, and now the GR Corolla and Yaris in quick succession. In fact, the only thing missing from its lineup now is a sequel to a long-celebrated model from the Japanese company’s history: the MR2. That might be changing, though.

Rumors of a new mid-engine MR2 have been swirling around for a long time, however solid evidence that these whispers were anything more than hearsay hasn’t materialized. That might be changing. In a patent granted to the automaker and published May 11, it’s clear something interesting is going on across the Pacific.

The patent is simply titled “MONOCOQUE VEHICLE STRUCTURE” and was filed in late January 2020. Mostly, it doesn’t describe a vehicle at all, just the carbon fiber structure itself and how various parts might be attached effectively. It’s those parts and where they’re mounted that’s the eye-opening part, of course.

The monocoque structure patented by Toyota.

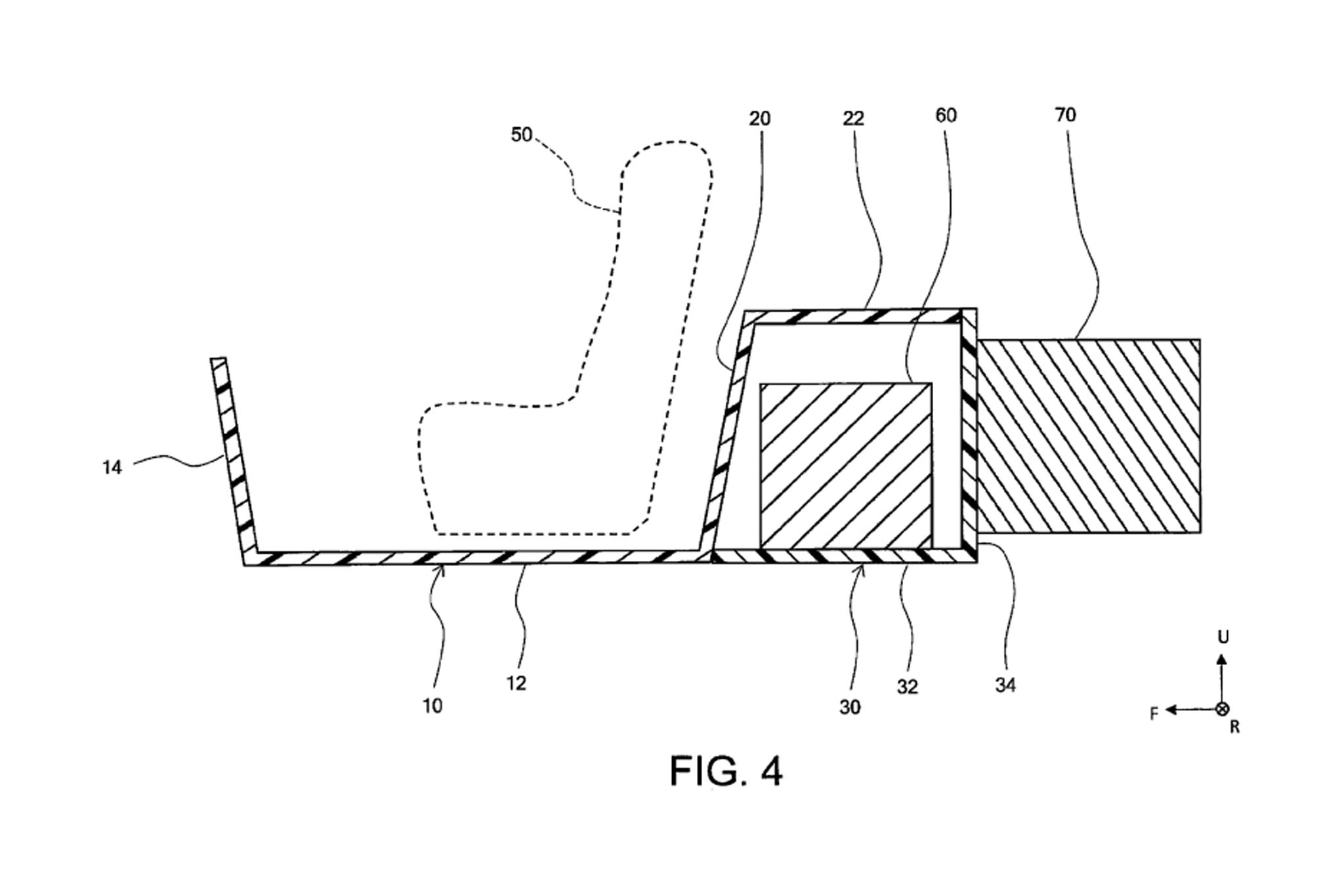
Above, you can see the structure included in Toyota’s patent. It’s conceptually similar to monocoques built by, say, Lotus or McLaren, which can be configured either as coupes or roadsters. The shaded portion of this diagram is a subframe that houses both a battery in the area labeled “32,” and an engine mounted to the holes visible on the back of the subframe. The primary frame and the subframe are interestingly made from different types of carbon fiber. Or more precisely, they use different types of resin binders.

The patent explains this must be done to manage the heat from the engine. The subframe’s resin is slightly weaker but more heat resistant, while the chassis’ resin is stronger but couldn’t stand up to the temperatures associated with having a hot engine mounted to it. The document argues this is the best compromise in this situation but, as a side note, it also mentions attempting to use no subframe. Instead, two different resins would be injected into opposite ends of one larger carbon chassis. Evidently, that’s possible but not practical, as the structure is especially weak at the point where the two different resins meet.

The layout of Toyota’s system.

Above, you can see a simpler view of what Toyota is describing. Engine at the back, battery in the middle, and cockpit at the front. These drawings are not to scale—automaker’s patents typically aren’t—but it gets the point across. The document doesn’t even mention the word hybrid, either. Obviously, though, there’s no reason to find a dedicated place on a subframe to mount a battery if it isn’t of considerable size and mass. This thing isn’t just cranking the engine over. Or it is just cranking the engine over but really fast for a very, very long time. I’ll let you, the reader, make the final judgment.

As far as solid evidence that this document translates into production-intent for something like the MR2, it’s always hazy with patents. In this instance, other supporting patents would be nice, but those are hard to come by. For instance, when GM makes a hybrid Corvette, it’s easy to spot the patents because they make no hybrids with a completely electric front axle. If they describe anything like that, it’s almost definitely Corvette-related. In Toyota’s case, this will be a hybrid—the company makes plenty of those—and feature a transaxle/engine combination that would resemble a front-wheel-drive car’s very closely, making spotting unique documents hard. However, it’s promising that this patent document is not an application but has indeed been granted to the Japanese automaker. Also, Toyota just recently released a concept (pictured below) that could very well be underpinned by a chassis like this one.

Toyota

There are still doubts though. The manufacturing process Toyota is using for this chassis, resin transfer molding, is capable of producing parts at scale and at a somewhat reasonable cost. However, the idea of an affordable, mass-market sports car with a carbon fiber chassis and a hybrid system seems unlikely. If anyone could pull it off, Toyota is certainly on the list, but it’s still a tough argument.

All of this being said, I do hope it happens. The return of the MR2 could be a big boon for the future of the enthusiast’s car, especially if it’s a hybrid. So far, EVs are proving to be uninspiring as real backroad carving, two-seat weekend machines. Hybrids, though, might have the right stuff to prove that sustainability and driveability can be totally inseparable. Toyota, if you’re listening, just do it.

Got a tip or question for the author? Contact them directly: peter@thedrive.com

Peter Holderith is a former staff writer for The Drive. He enjoys covering the regular news cycle, writing reviews, and hunting down long features on obscure pieces of automotive history.