Ford never mentions specific vehicle names in patent applications, but when it relates to removable doors, that narrows it down quite a bit. Early last week, the Dearborn automaker applied for a patent concerning a series of accessories that could be mounted on a vehicle’s door strikers. Of course, these strikers are only accessible when a door is left open or removed, and as such, all of these gadgets are designed for when a rig like the Bronco is in adventure mode.
Yes, following up on Ford’s seemingly obsessive habit of applying for patents on what can only be described as frivolous—but admittedly interesting—gizmos for off-roading and entertaining, it has recently devised a series of accessories like ladders, tables, and lights that might be good to mount from a door striker. They’ll go nicely with the complex entertainment system in the frunk of an F-150 Lightning, the chair the automaker seems to want to put on the roof of the Bronco, and of course, the screen doors it could add to the truck.
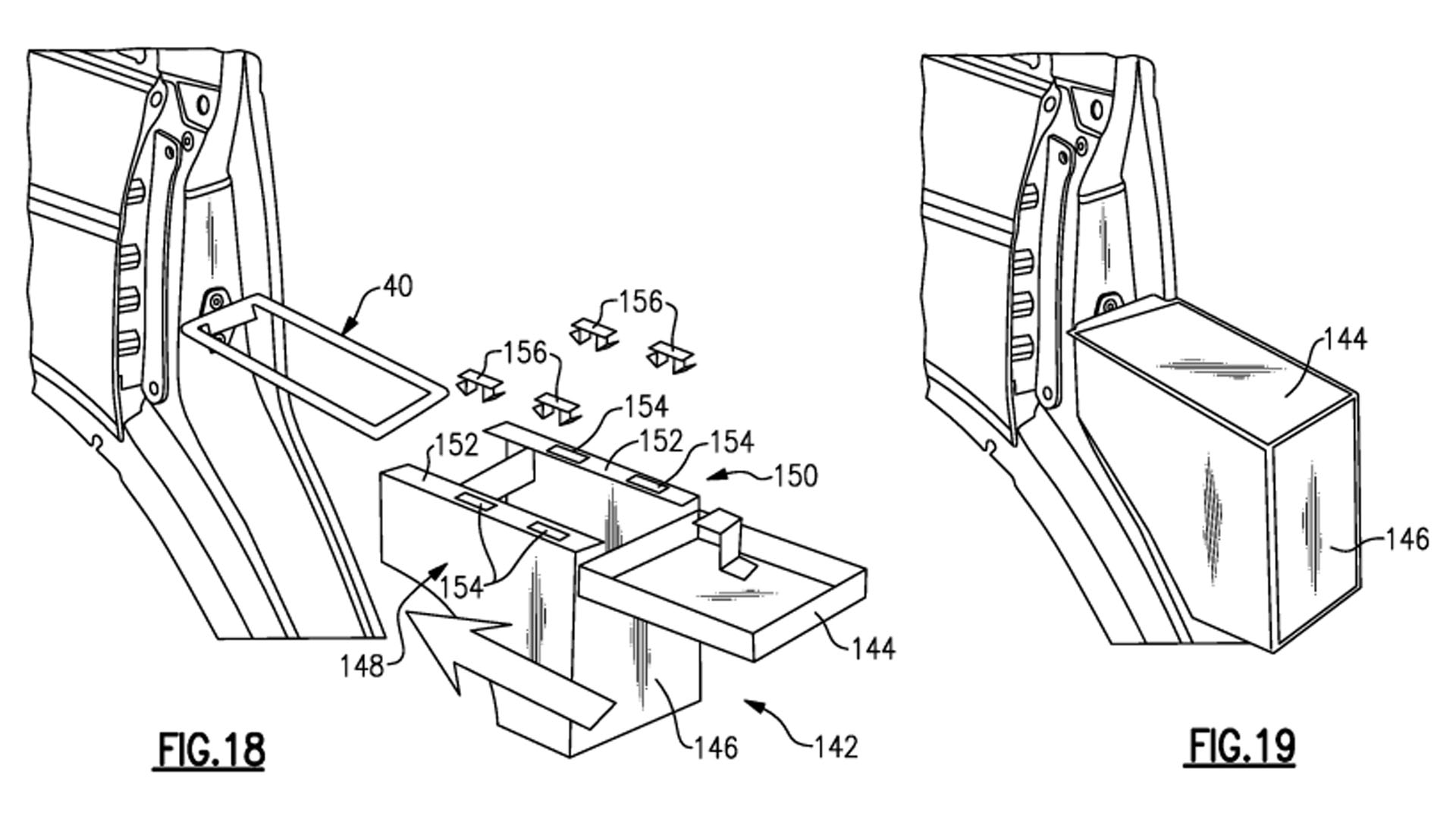
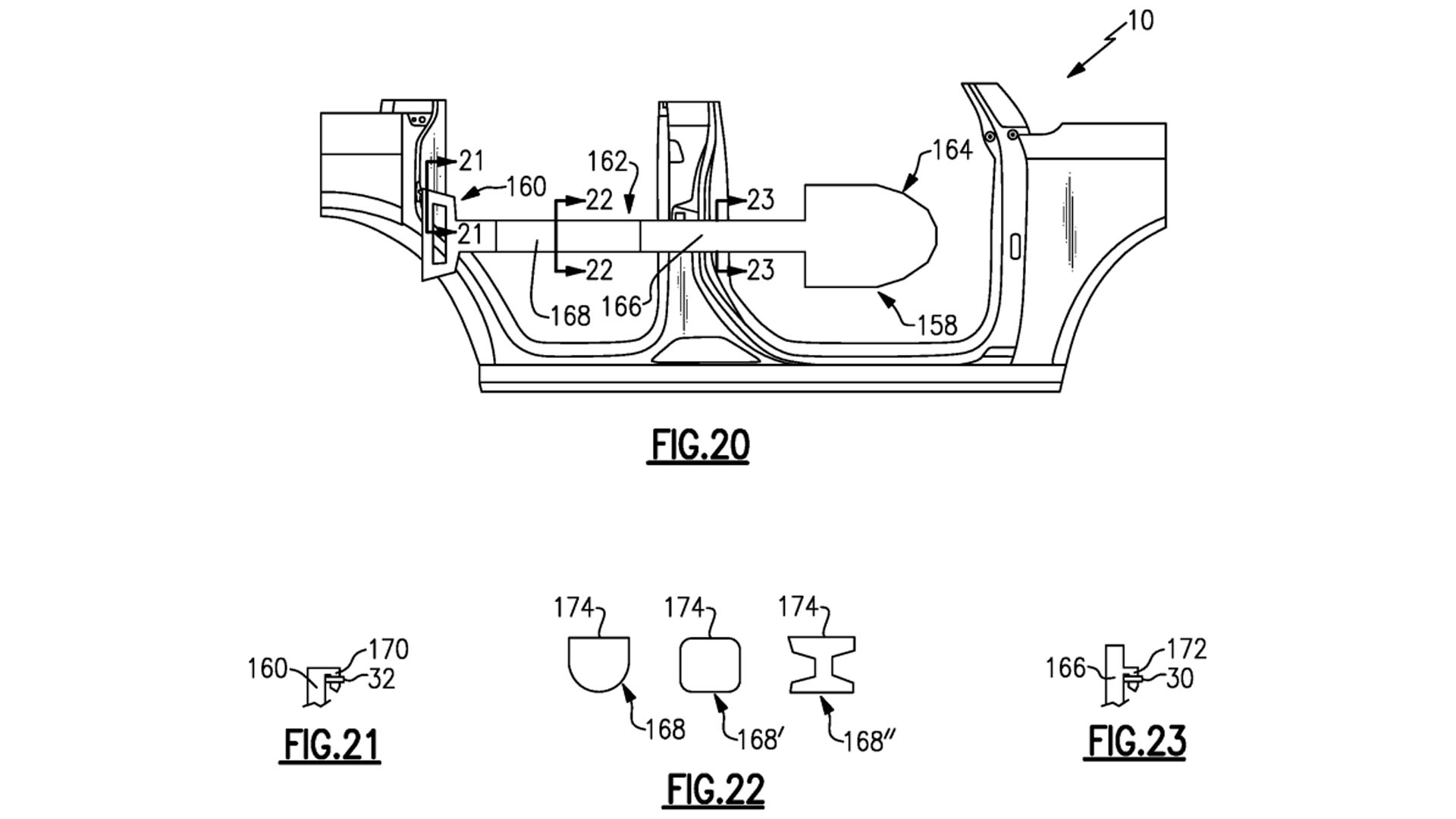
The patent app, appropriately titled “ACCESSORIES SUPPORTED BY DOOR STRIKERS OF MOTOR VEHICLES,” describes a lot of different stuff. It explicitly mentions ladders, storage containers, cupholders, tables, and lights, though the full scope of what could be attached is even more extensive. The document also says some of these items are dual-purpose, noting that they “are useable as a step when mounted to the vehicle, and are also useable as a tool (i.e., as a shovel, flashlight, bit driver, socket wrench, and/or hex wrench) when removed from the vehicle.” So not only is Ford selling you a useful gadget, but it’s also selling you a set of tools.



The above images show a few of the accessories. Items like the table are described as having adjustable legs to support themselves beyond just being held on by the striker, as well as outlets and USB ports to charge devices that would be powered from the door harness plug. Likewise, you’ll notice the ladder has serrations. The documents claim these are included for “de-scaling fish or as a shoe scraper.”
If you haven’t caught on yet, all of these items are designed for the sort of hardcore tailgating Ford is encouraging with the Bronco. The lighting in figure 26 is also a nice touch, but I don’t like how there’s just a set of disembodied legs setting on the roof. I added the rest of the person in the illustration below to resolve this issue. This individual is appropriately wearing Blue Oval-branded merchandise.
As far as whether or not these accessories will actually be released, that’s up in the air. Patent applications aren’t a statement of production intent. But the fact that Ford wants to protect the idea from being mimicked by other companies is something, at least.
It could be that this and a number of other concepts that Ford is looking to protect are part of a merchandising push. Stellantis is already doing something similar with its collection of Direct Connection performance parts for Dodge vehicles.
Even if these striker-mounted add-ons don’t come to fruition, they’re still interesting. Similar to the Maverick’s FITS slots, it’s a simple way to attach a variety of useful accessories to a car that improves its functionality, and another creative solution from Ford.
Got a tip or question for the author? You can reach them here: peter@thedrive.com