Every driver knows hydroplaning is extremely dangerous. It comes on suddenly, can cause complete loss of control, and it almost always occurs at highway speeds. It happens when a car’s tires can’t channel enough water through them and they momentarily lift off the ground. Applying the brakes, adjusting the steering angle, and other corrections usually do little to stop it. General Motors has patented a system that might be able to help, though.
GM wants to use aerodynamic devices to stabilize a car if it’s hydroplaning. A patent granted to the company titled “Control Of Vehicle Aerodynamic Force For Hydroplaning Mitigation” describes a way to do this using various aerodynamic surfaces. Presumably, this sort of system would only be applied to high-performance vehicles, unless GM plans to start putting a whole bunch of active aero on its more pedestrian cars.
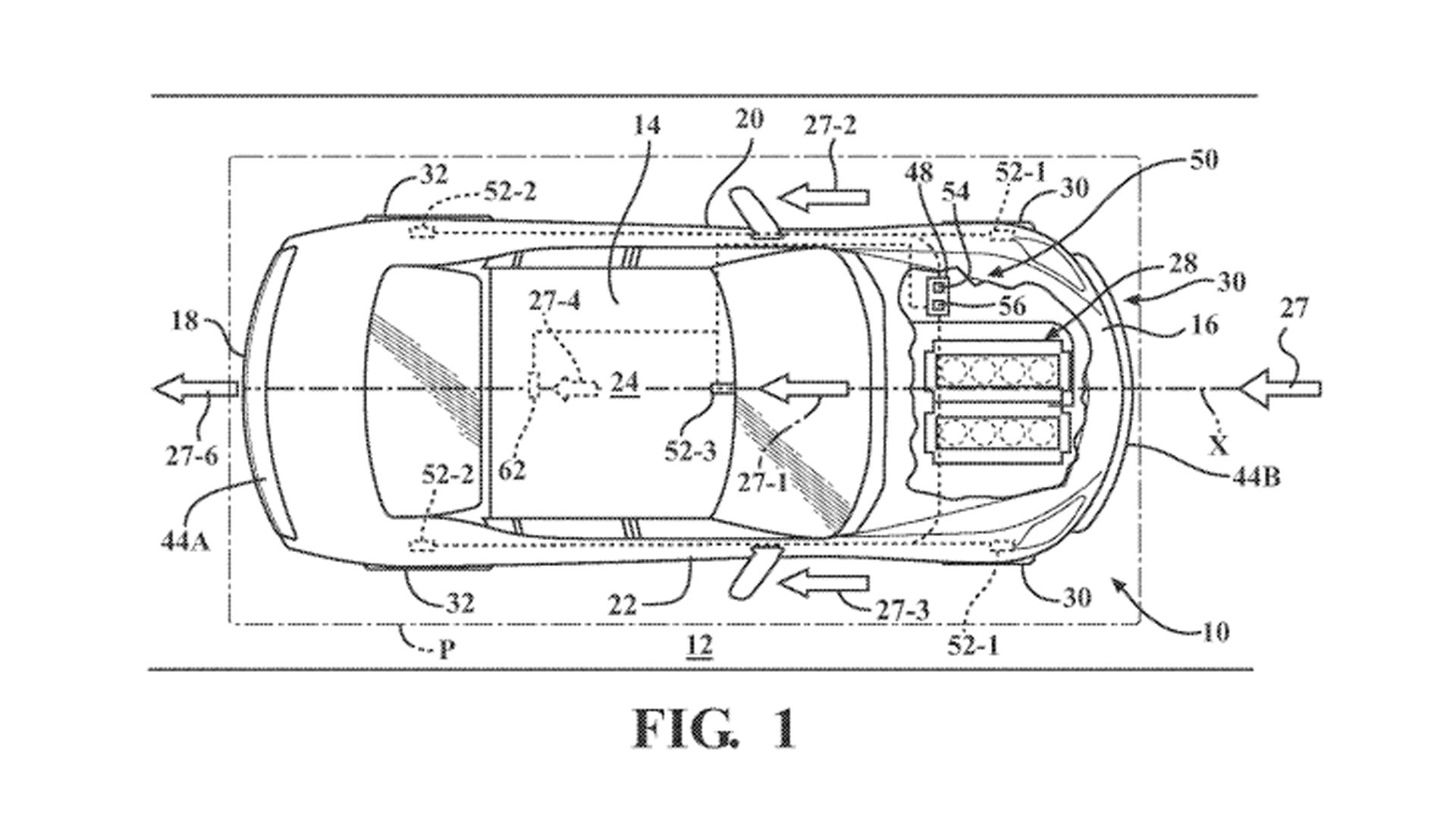
To be fair, the patent images show non-representative vehicles to demonstrate the idea—one is an old Honda Civic and the other is a Chrysler Sebring.


The logic behind the setup is pretty simple. Hydroplaning is detected via data gathered from multiple sources; the vehicle’s wheel speed sensors and brake pressure data are mentioned explicitly. If the data says the car is hydroplaning, it actuates an aerodynamic device into a position where it applies downforce. This presses the offending tires back onto the road and returns the car to a state of control.
In its patent, GM describes a variety of aerodynamic surfaces that could help achieve this goal:
“The adjustable aerodynamic-aid element may be an adjustable-position spoiler, an adjustable-position splitter, an extendible air dam, an adjustable-position diffuser, adjustable-position dive planes, a front wheel-well radiator intake or exhaust opening, and a variable-position shutter.”
Pretty much anything that affects airflow around the car might be used to try and control the vehicle’s attitude.
Other automakers have patented systems to detect or prevent hydroplaning in the past, but none of them use aerodynamics in order to counter it. This isn’t just a patent application, either—if this idea infringed on another company’s intellectual property, it wouldn’t have been granted.
GM offers a few vehicles with aerodynamic devices like wings and splitters that it might be able to apply this to. The Corvette immediately springs to mind, and the Camaro also features aerodynamic surfaces in some of its higher trims. It’s more plausible we would see this sort of system on a next-generation vehicle, likely an EV. To be clear, though, patents are not a statement of production intent. It’s possible this system will never make it onto any vehicle.
It is interesting, though, and something that I could see added over the air to future cars. If a customer wants to utilize their pre-installed aerodynamic devices in a new way, they could just download—and undoubtedly pay for—the logic to enable the feature. “Active hydroplaning mitigation” is a box a lot of people might check if given the opportunity.
Got a tip or question for the author? Contact them directly: peter@thedrive.com