Despite Tesla owners’ insistence to the contrary, autonomous vehicle technology is nowhere near ready for primetime. The tech faces a long purgatory where it’s near enough to perfect to make drivers complacent, but not actually refined enough to be left alone. Anticipating this period, Volvo has conceived and filed a patent for an adjustable driving position, one which would prove to be the easiest way yet to convert a car from right-hand drive to left-hand drive, or vice versa.
The mechanism was outlined in a recent patent filing application with the United States Patent and Trademark Office (USPTO), as unearthed by Rivian Owners Forum. In the patent abstract, Volvo describes the system as being intended for use with vehicles not capable of completely unmonitored self-operation, which strictly speaking doesn’t mean an autonomous vehicle but a highly automated one—the difference is more than semantic.



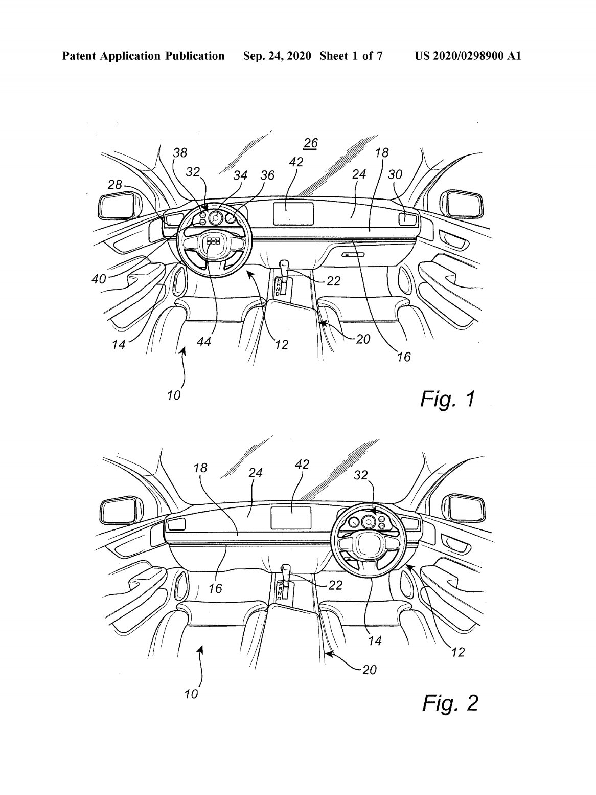
This sliding driver position would center around a steer-by-wire wheel assembly that can be slid across the dash, possibly in tandem with a shifter, standalone gauge cluster, and driver’s seat.
Alternatively, it could be configured to work with front bench seats using a dashboard-spanning screen, which would display gauges behind the wheel, and in place of traditional pedals, there could be a strip of sensor pads across the floor. Naturally, only those beneath the wheel would accept any occupant input.

Though it’d be novel to see center-drive available on something more affordable than a Gordon Murray-designed hypercar, it’s hard not to call this system’s usefulness (and thus its likelihood to make production) into question. It could let Volvo standardize parts across left-hand and right-hand drive markets, reducing manufacturing costs, but outside of making transitions between countries that drive on opposite sides of the road, its value is questionable.
If anything, a mechanism such as this could be abused in a variety of ways—all of them fairly unsafe. Enabling such behavior seems antithetical to Volvo’s zealous regard for safety, so if there are any reasons to expect this tech to reach the market, they’ll boil down to cost-cutting and novelty. Because for all Tesla has gotten wrong, it has shown the auto industry there’s not just room, but appetite for novelty in modern cars.
Got a tip? Send us a note: tips@thedrive.com