Automotive manufacturers have been experimenting with virtual mirror technology for some time now. BMW has recently filed a patent that aims to better replicate the classic mirror experience while still providing the same benefits of virtual mirror technology, as revealed in a forum post on i4talk.com.
The general idea of using cameras and interior screens to replace side-view mirrors has been around for some time, with multiple manufacturers exploring the technology. The benefit of the technology is that it allows automakers to replace bulky side mirrors with sleeker camera modules, reducing aerodynamic drag and providing designers more stylistic freedom. Audi have already shipped the technology on the e-Tron SUV, which is on sale in several global markets. Virtual mirrors are not yet legal in the USA, though the NHTSA began testing the technology in 2019.

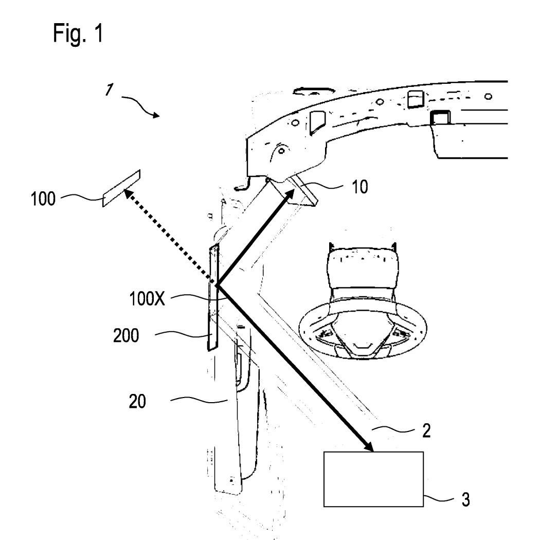
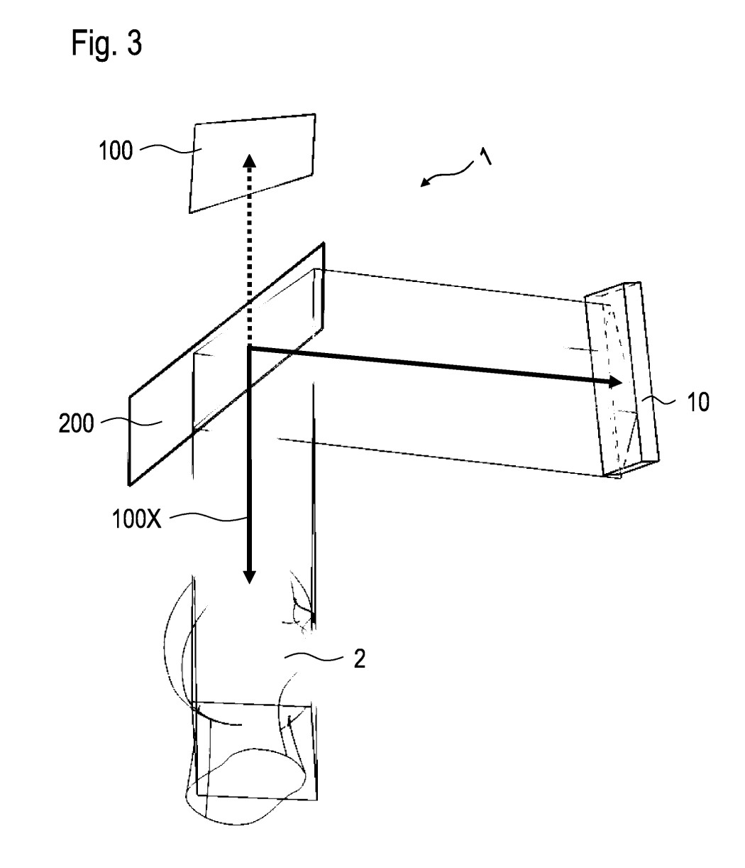
The BMW patent uses cameras in place of side-view mirrors like other virtual rear-view designs. Where the BMW design differs is in the display of the video feed, dispensing with the typical screens mounted on the door or A-pillar in the driver’s line of sight. Instead, the video is sent to displays which are hidden from view, which then project onto a semi-mirrored section of the vehicle’s side windows. This creates a virtual image at a distance of roughly 0.5 to 2 meters from the driver’s eye, similar to the way heads-up displays work on vehicle windshields. While this system would likely use cameras mounted on stalks to provide the side view video feed, the projection of the image is done from the display inside the vehicle, as per the patent drawings shown below.

The system has multiple benefits over both traditional side mirrors and more common virtual mirror systems. The system retains the beneficial drag reduction, as side-view cameras can be made much smaller than traditional mirrors while retaining a large field of view. It also allows the driver’s eyes to remain focused at long distance while checking the mirrors, reducing eye strain and the time required for the driver’s eyes to transition from near to far vision. It also provides a more nebulous benefit in the sense that it allows drivers familiar with normal mirrors to more quickly adjust to using the system. The images projected by the system are intended to be visible in the same location as a typical side mirror would be.

Another benefit cited by the patent is the capability of overlaying useful data on the virtual mirror display. This could involve everything from navigational instructions, to parking warnings and even distances of nearby vehicles for safer lane changes. Of course, this isn’t unique to BMW’s technology, and could readily be applied to any other virtual mirror system using regular screens as well.
You might be thinking there’s a fundamental problem with this system—what happens when you wind the windows down? The patent addresses that, with a machine translated version of the document stating “According to at least one embodiment of the display system, the mirror area is arranged in a partial area of the side window which is stationary.” In clearer terms, the semi-mirrored part of the window won’t move, meaning your virtual side mirrors will always be there. The intention is also for the reflectivity of the mirrored section to be variable. This would allow the brightness of the virtual mirrors can be adjusted as per exterior lighting conditions, so they’re visible during the day but not too bright at night.
One key failing of virtual mirror systems remains their fixed field of view. Unlike traditional side-view mirrors, virtual mirror designs that use screens are unable to respond when the user moves their head, as the camera is fixed regardless of the driver’s head position. This could be remedied by head tracking, an already mature technology used in fighter jets and virtual reality devices. Alternatively, it may simply be the case that drivers adjust to using a fixed side-view camera as long as it provides a suitably large field of vision.

The Bavarian automaker is no stranger to virtual mirror technologies; BMW debuted the i8 mirrorless concept at CES back in 2016. That particular car used cameras mounted on stalks on each door, combined with a screen which replaced the central rear-view mirror, providing a 180-degree view towards the back of the vehicle. YouTube channel Linus Tech Tips reviewed the vehicle at the time, noting the great usability of the system for providing the driver with a clear and complete view of what was happening behind the car.
It’s unclear as to the timeline upon which BMW intends to ship the technology on actual vehicles. We’d expect it to first drop on their cutting-edge electric cars, similarly to previous innovations like laser headlights. While the patent dropped on the i4talk.com forum, pictures of an i4 development mule from January show no fancy mirror cameras on board. In the mean time, we’ll have to wait and see.
Got a tip? Let the author know: lewin@thedrive.com