Toyota has been killing it with patents lately. On Tuesday, the Japanese automaker published another weird invention that it says can increase or decrease the amount of friction between a driver’s hands and the steering wheel of their car.
The patent was originally spotted by a member of the New Nissan Z forum and describes a number of scenarios where changing this kind of friction can be beneficial to drivers. It even goes in-depth on how it could achieve this type of sci-fi stickiness, so let’s dig in and take a look at what Toyota might have up its sleeve for future vehicles.

Toyota aligns the method in its patent with vehicle safety. For example, it could help to keep drivers from being distracted or startled if the vehicle has an advanced driver assistance system and its lane-keeping or centering feature is active. When the vehicle’s software pulls the steering wheel towards the center of a lane, it could feel torquey and distract the driver, this method would essentially reduce the friction between the driver’s hands and the steering wheel in order to more easily center the wheel without the sensation of torque.
Likewise, the friction between a driver’s hands and the steering wheel can be increased. Let’s say that a driver begins taking a turn and miscalculates just how sharp the curve is. Other sensors on the vehicle may have already identified the ideal path that that vehicle should take in order to stay between the lane markings. When the vehicle detects that it’s going to deviate from the optimal path, it may increase the friction between the driver’s hands and help to guide the car into the corner more aligned with its ideal trajectory.


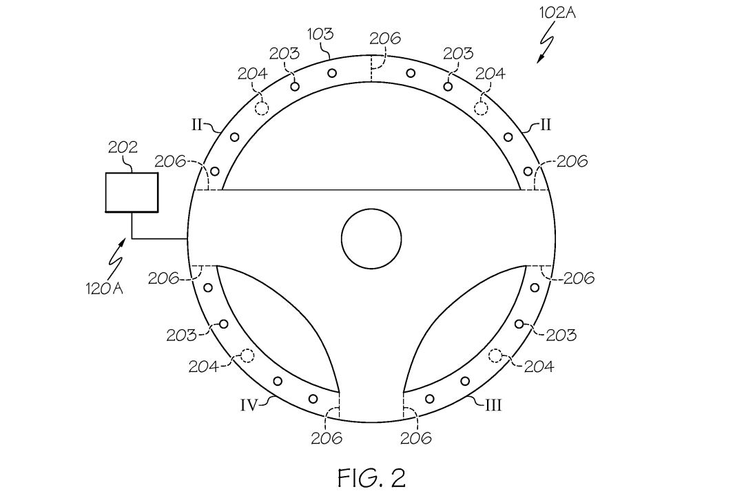
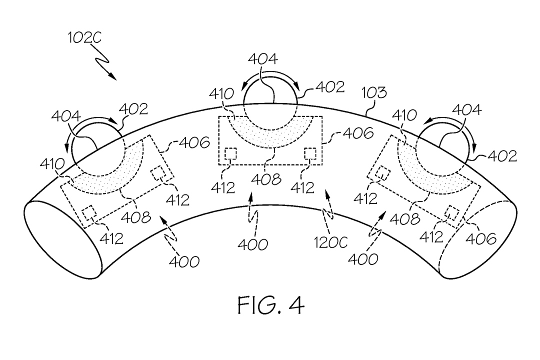
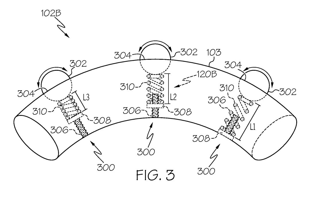
Toyota describes a myriad of possible solutions to achieve this goal, most of which utilize pressure sensors that can determine how forcefully a driver is gripping the steering wheel at any given time. The secret sauce is then how the vehicle either makes the steering wheel more or less grippy.
One scenario described in the patent uses air similar to an air hockey table or vacuum forming machine. When increased friction is desired, small “air flow devices” inside of the steering wheel can use vacuum to increase the driver’s hold on the wheel. Conversely, the devices could also blow air outwards to create a cushion of air around the rim of the steering wheel, thus decreasing friction.
Another method described uses a series of spheres on the outside of the steering wheel rim. These spheres can make contact with a driver’s hand and its resistance can be modified using spring-actuated plates, a viscous fluid, or other methods to meet the desired amount of torque.


Safety aside, I think this opens up some other cool possibilities. Could you imagine a track mode in the rumored Lexus LFA replacement that helps guide the driver to hit a corner’s apex just right? Or maybe using it as a comfort method to augment a variable steering ratio on the highway?
There’s no indication that something like this will actually make it into a production vehicle, or if Toyota has even taken this past the conceptual stage at all. Either way, it’s cool to dream.
Got a tip or question for the author? You can reach them here: Rob@TheDrive.com