If there are two things you can say about the engineers and executives at Porsche, it’s that they love technology…and they love going fast. As a result, the carmaker is always looking for ways to combine the two, whether it’s dual-clutch transmissions, all-wheel-drive, or gas/electric hybrid powertrains. Now, judging by a filing with the U.S. Patent and Trademark Office, Porsche is exploring a retractable rear diffuser for its sports cars.
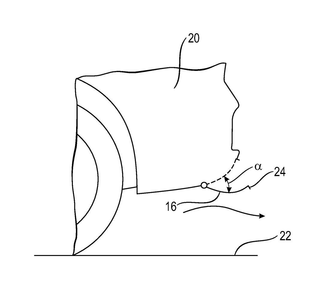
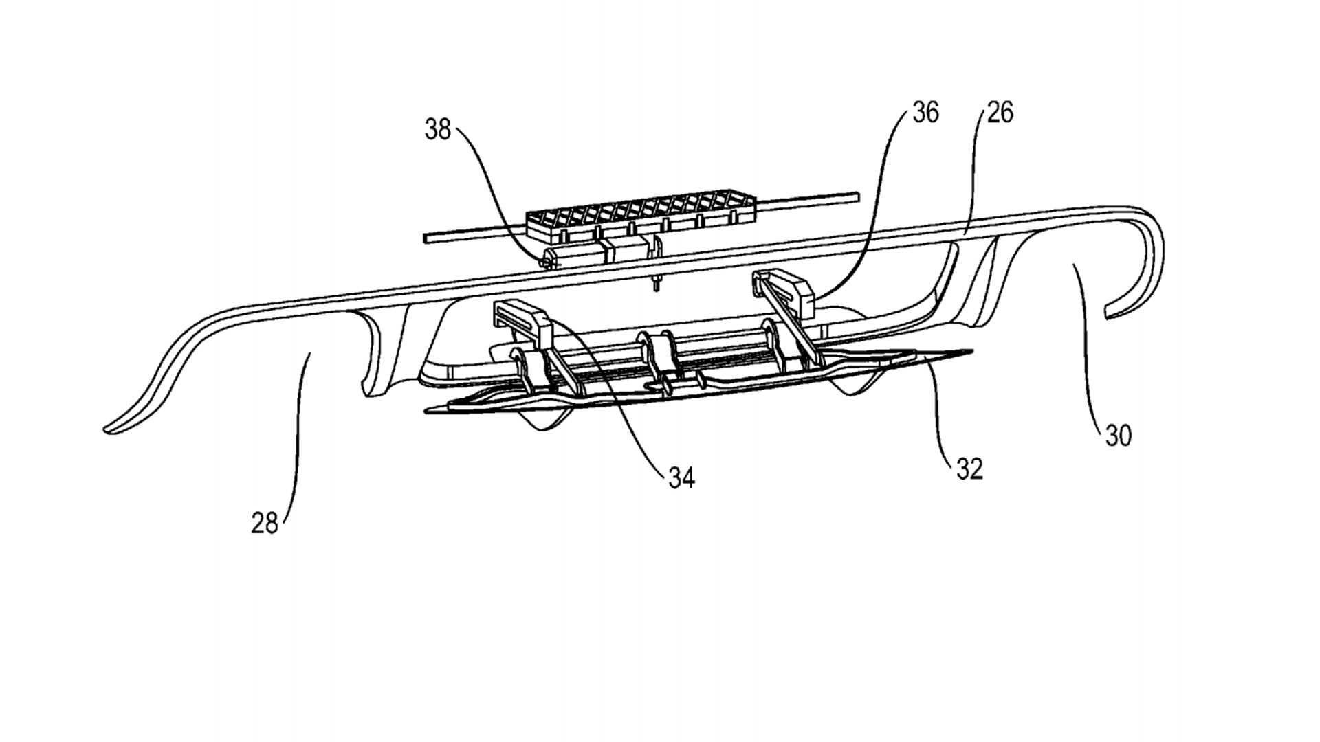
Filed on April 27th and discovered by Car and Driver, the Porsche patent describes a retractable concave flap mounted on the lower rear end of a car that extends to add downforce when needed at high speeds, much like the rising rear spoiler found on Porsche’s sports cars and sedans. (You can read the whole six-page patent filing here, if you like.) As Porsche points out in the patent filing, a movable rear diffuser would have several advantages over a conventional, fixed one; it could allow for greater ground clearance, has more room to work with on the car’s body than an underbody-affixed one, and doesn’t run into the same design issues.


Unlike the occasional automotive-themed patent that crosses our path every now and again, there’s nothing about this retractable diffuser that seems particularly pie-in-the-sky. Besides, active aerodynamics are becoming increasingly popular as manufacturers search for new ways to take better advantage of their sports cars’ power; Lamborghini used the technology to help the Huracan Performante set a new production car Nurburgring lap time, and Chevrolet is expected to use active aero on its new Corvette ZR1. Porsche has had moving aerodynamic parts on the rear end of its sports cars for decades; adding a moving diffuser would just be moving the ball down the field.