It seems like every time we report on a new drone-delivery technology being patented by a giant corporate entity, it’s Amazon we’re writing about. Just recently we covered the company’s fulfillment center patent, the mobile train-based drone-hub idea, and Amazon’s drone-chute concept. Well, this time it’s Walmart’s turn to be the belle of the intellectual property ball.
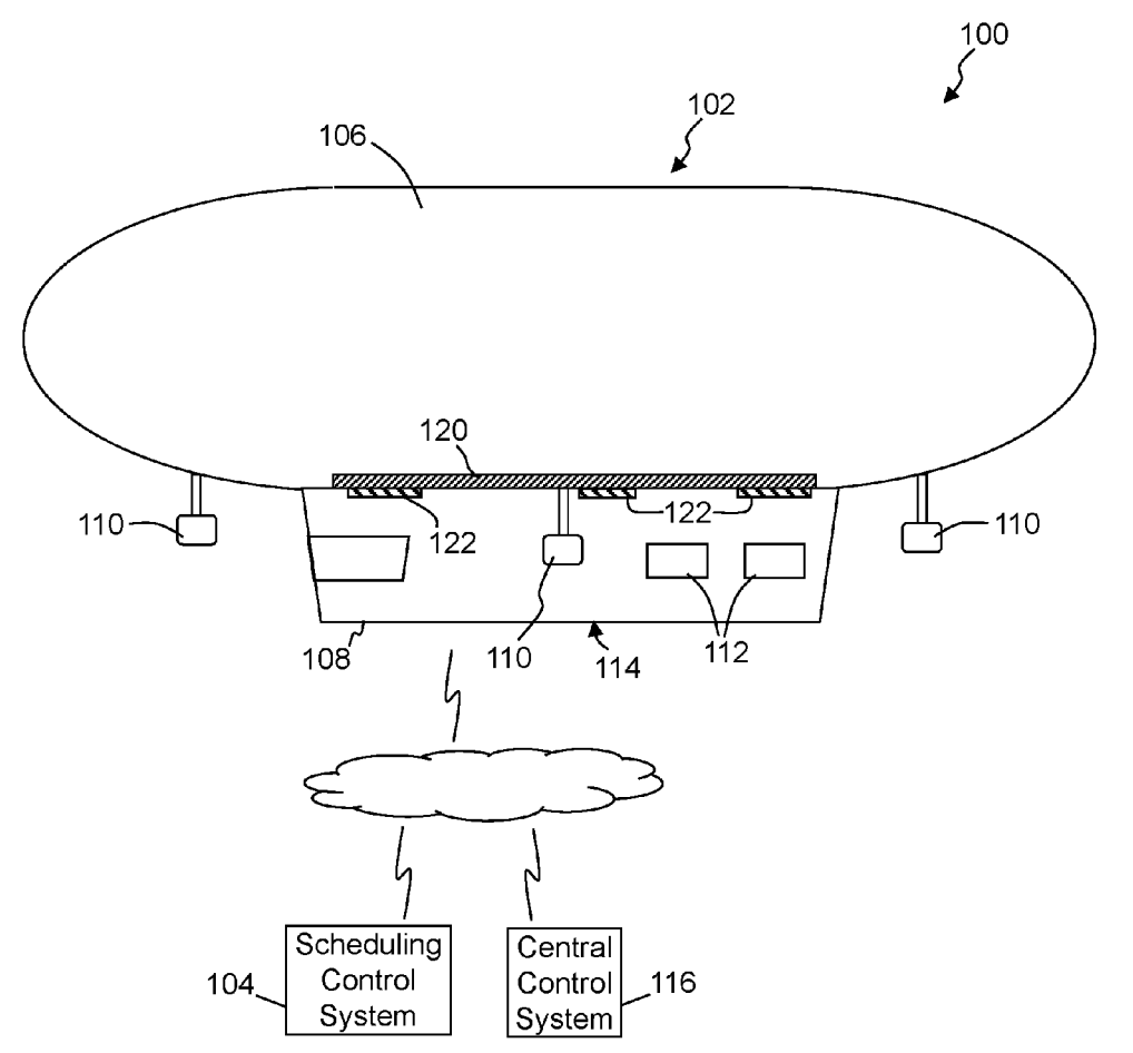
According to the U.S. Patent and Trademark Office, Wal-Mart Stores Inc. applied for a patent in February that would allow the company to use a “gas-filled aerial transport and launch system” as it relates to “an unmanned aircraft system (UAS) storage area configured to receive multiple UASs; and an UAS launching bay that enables the UAS to be launched while the transport aircraft is in flight and while the UAS is carrying a package to be delivered.” In short: Walmart’s eager to produce gas-run blimps that can deploy a fleet of drones to make deliveries more efficient, as opposed to launching them from a stationary location.
This is similar to Amazon’s train-based concept. Instead of relying on fulfillment centers or warehouses on the outskirts of cities, these companies are looking to low-cost mobile variations that would cut down on distance and energy their drones would be required to cover and expend. It’s very smart, and Walmart joining Amazon down this road seems like they agree with the central conceit—drone delivery is quite possibly the future of e-commerce.
According to Endgadget, while Amazon filed for a similar patent last year, Walmart goes into extensive depth in their filing. It tells us that these blimps would reach up to 1,000ft and communicate with a scheduling system on the ground in order to plan the most efficient pickups and delivery options. Thus far, this is essentially all we know about Walmart’s intentions. If they want to keep up with Amazon and how prolific they’ve been in their patent efforts, they’ll need to think even further ahead. Take a look at this preliminary illustration included in the Walmart patent. As always, we’ll keep a very close eye on this story, and Walmart, as this story develops. Stay tuned.
