Amazon Patents Train-Mounted Mobile Hubs For Its Drone Delivery Fleet

The patent describes a system for retrieving and launching the drones while the train or ship is in motion.
www.thedrive.com

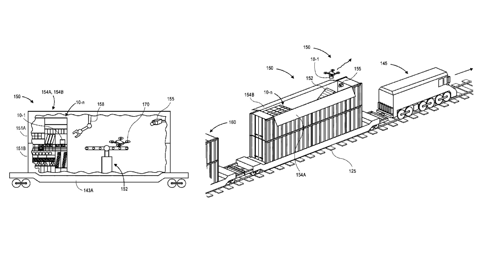
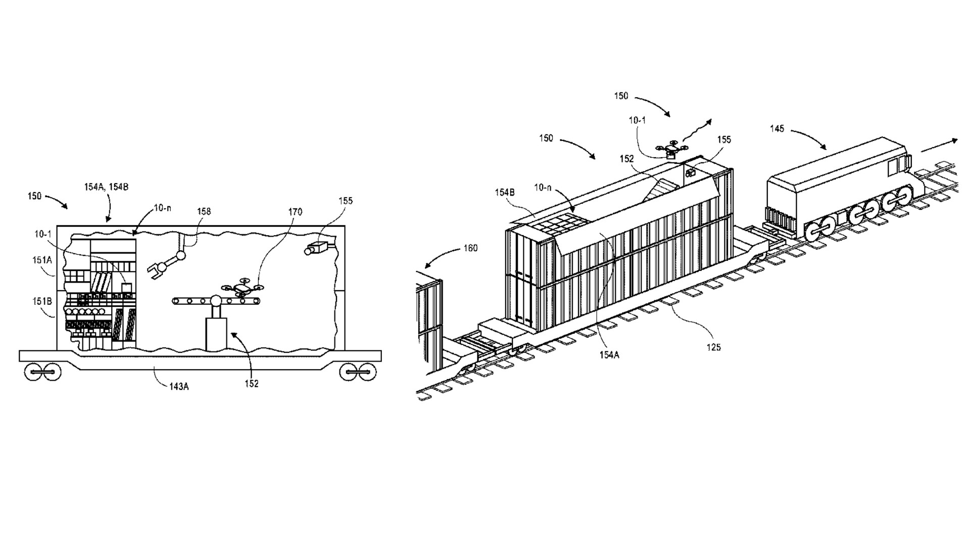
Amazon has officially patented a moving warehouse, of sorts. In addition to relying on the recently reported “fulfillment centers” in major U.S. cities to supply and service their planned fleet of aerial delivery drones, the company has introduced a more mobile version of the same idea. Using traditional freight train railroad tracks and infrastructure, which is naturally already in place across the country, Amazon is tinkering with the idea of developing drone-hubs that ride atop the trains.

The idea is that the train does the long-haul travel, while the hubs would serve as repairing hubs for UAVs that launch from the train for local deliveries, and return for maintenance and further delivery pickups. It’s quite clever, and evident of Amazon’s strong focus on creating a powerful drone-delivery system of their own. 

The publicly available patent calls these hubs “Ground-based mobile maintenance facilities for unmanned aerial vehicles” which “may be coupled to locomotives, container ships, road tractors or other vehicles, and equipped with systems for loading one or more items onto the aerial vehicle, and for launching or retrieving the aerial vehicle while the intermodal vehicles are in motion.” This expands upon the idea of using railroad infrastructure and widens the concept to a far broader scope. Amazon is planning on finalizing not only the land and the air, but the sea, as well.

It makes sense—a container ship could launch deliveries before reaching the coast, as soon as it geographically makes sense to send UAVs off. There would be no waiting for the ship to dock or unload hundreds of containers with massive cranes. Amazon is clearly pressing forward with the concept of a nationwide system of drone delivery, and we’ll surely hear of more such patents from them in the near future.