It’s no secret that there’s still a lack of charging stations for EVs in the United States. Charging infrastructure is seen as a vital hurdle to overcome in the quest for more widespread adoption of what many consider the future of personal transportation. Ford recognizes that and has at least one other idea (besides more public chargers) on how to solve the issue.
In a recently published patent, the Dearborn automaker described a system by which an EV can be towed and charged by a vehicle such as an RV or semi-truck. This would be especially handy in sparse rural areas where people might commute in or travel to with charging stations few and far between.

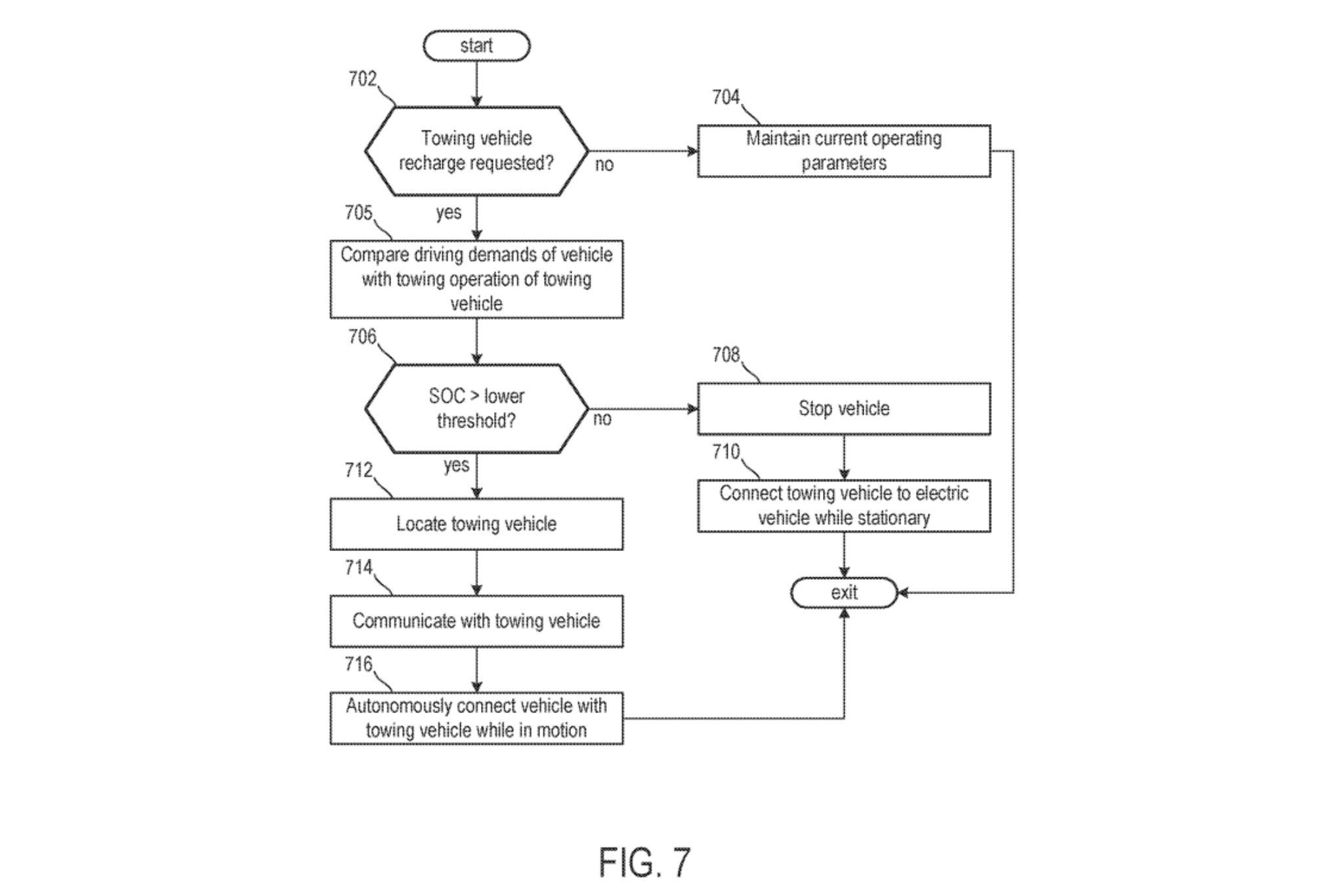
Ford’s patent application, filed in December 2020 and published a little under two weeks ago in early July, describes a few possible ways to do this. One method has a tow vehicle charging the EV all the time, but the suggestion to only charge the batteries when the tow vehicle is under less load is also brought up. Ford suggests a variety of possible tow vehicles and a few methods to working out the kinks of such a setup.
The document reads: “The towing vehicle can be for example a transporter, a heavy goods vehicle, a road train, a semitrailer or the like, for example, but it can also be a passenger car having appropriate performance features.”
It also describes how the vehicle would have to adjust to a variety of load situations. If the tow vehicle was going up or down a hill, obviously the level of regeneration would have to change. Other details like the speed of the tow vehicle would also be considered.
In some configurations, the two vehicles are linked together via Bluetooth or the internet. Sometimes this is just to share data. In other instances, it’s to link up a moving tow vehicle with an EV traveling in the same direction. Basically, the system would allow for the vehicle to link up with a moving source of charge, fix itself to the tow vehicle with help from a variety of sensors, and begin charging. In this way, Ford could essentially have a fleet of rolling chargers, as impractical as that seems.




The more likely situation, although the patent is seemingly endless in its scope, would be for a driver inside a vehicle such as an RV to select a series of parameters to choose when the vehicle would charge itself, like if the tow vehicle was going downhill, if it was braking, etc. In this way, there would be no extra load on the engine of the tow vehicle, but extra charge would still be gained. Another possible option, shown above, is that only the vehicle’s rear wheels would be on the ground, with the front two being on a tow dolly or similar device.
With Ford unveiling new electric vehicles like the Mustang Mach-E and electric vehicles seeming like simple, low maintenance options for tow cars, this might be a good idea. Rivian has said its electric trucks will be flat-tow capable but hasn’t described any sort of system like this in official literature. It will be interesting to see if Ford decides to put this feature in future products, or even current ones via over-the-air updates.
Got a tip or question for the author? You can reach them here: peter@thedrive.com