Ford might spend more time innovating new truck features than any other automaker. Its F-150 Lightning, for instance, is not only electric, but it’s also the first pickup with a frunk. Now, it seems like it wants to expand on that concept even more.
No, I’m not talking about the frunk entertainment center Ford designed before. This is a different patent application. This time around, it looks like it wants to put a passthrough tray between the frunk and the truck’s passenger compartment. This way, somebody could get something out of the car’s interior without having to open any of the exterior doors.


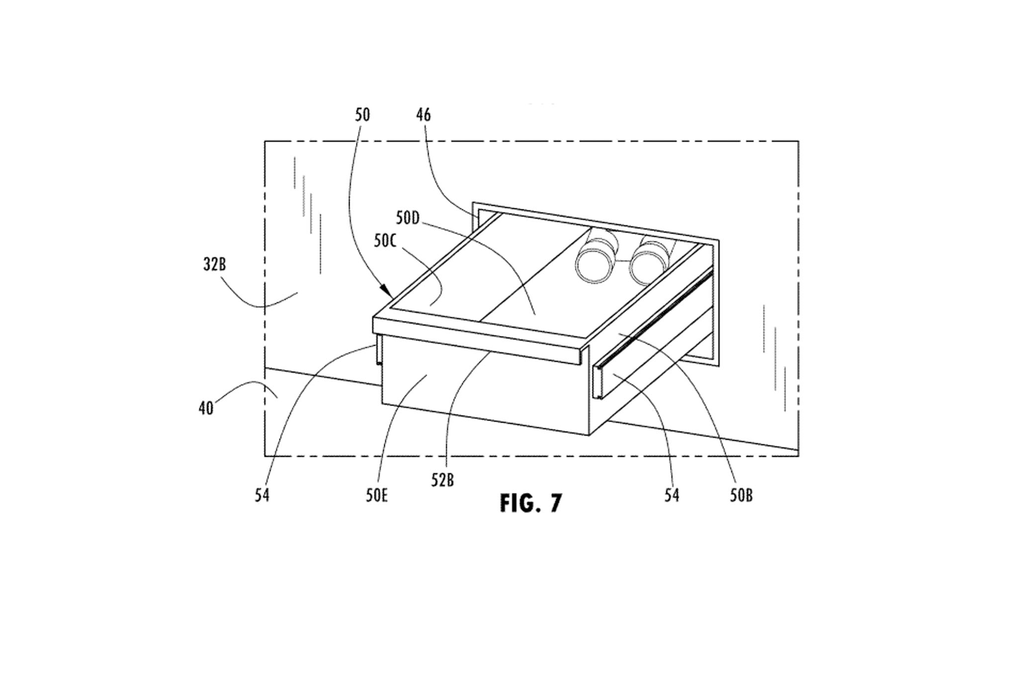
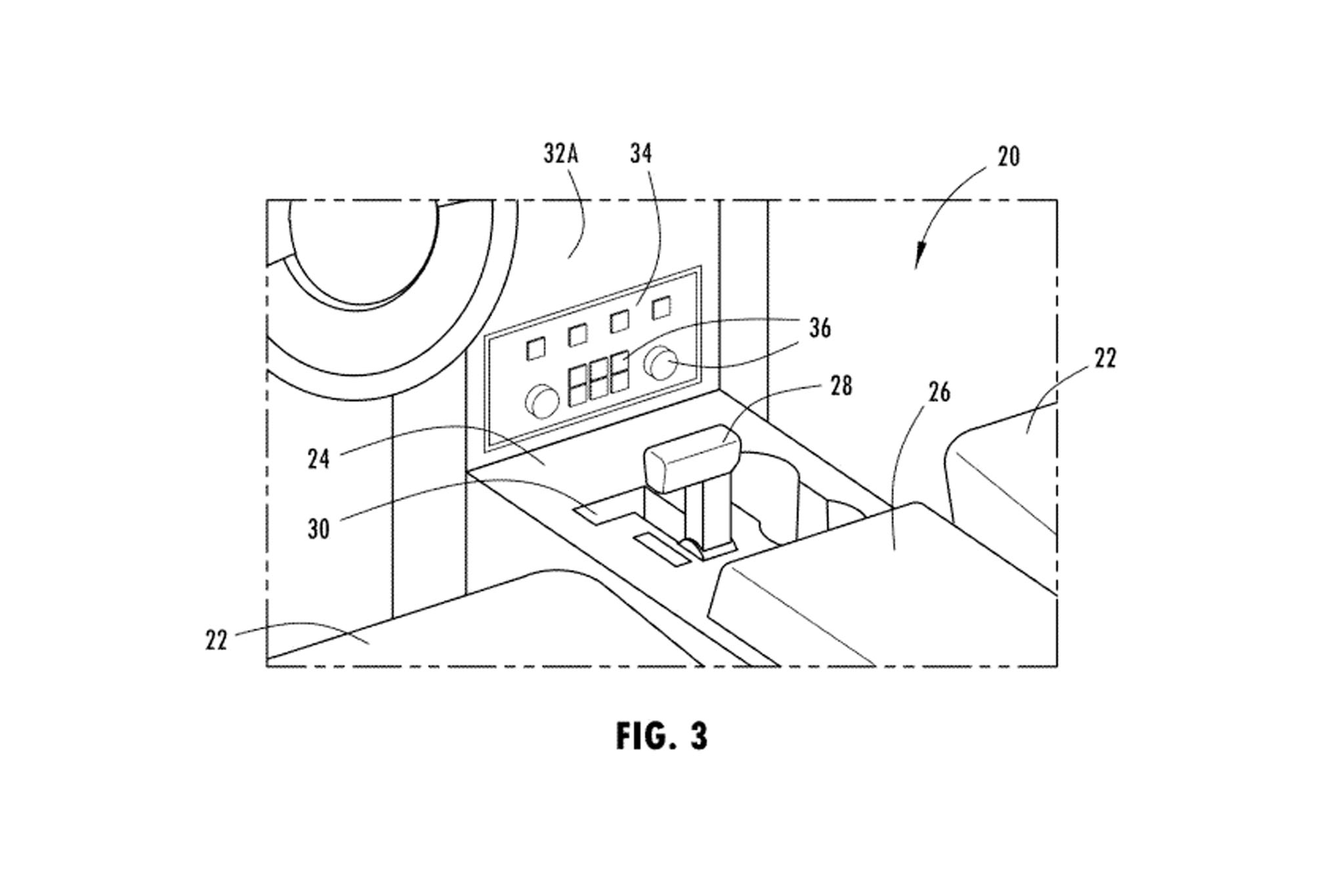
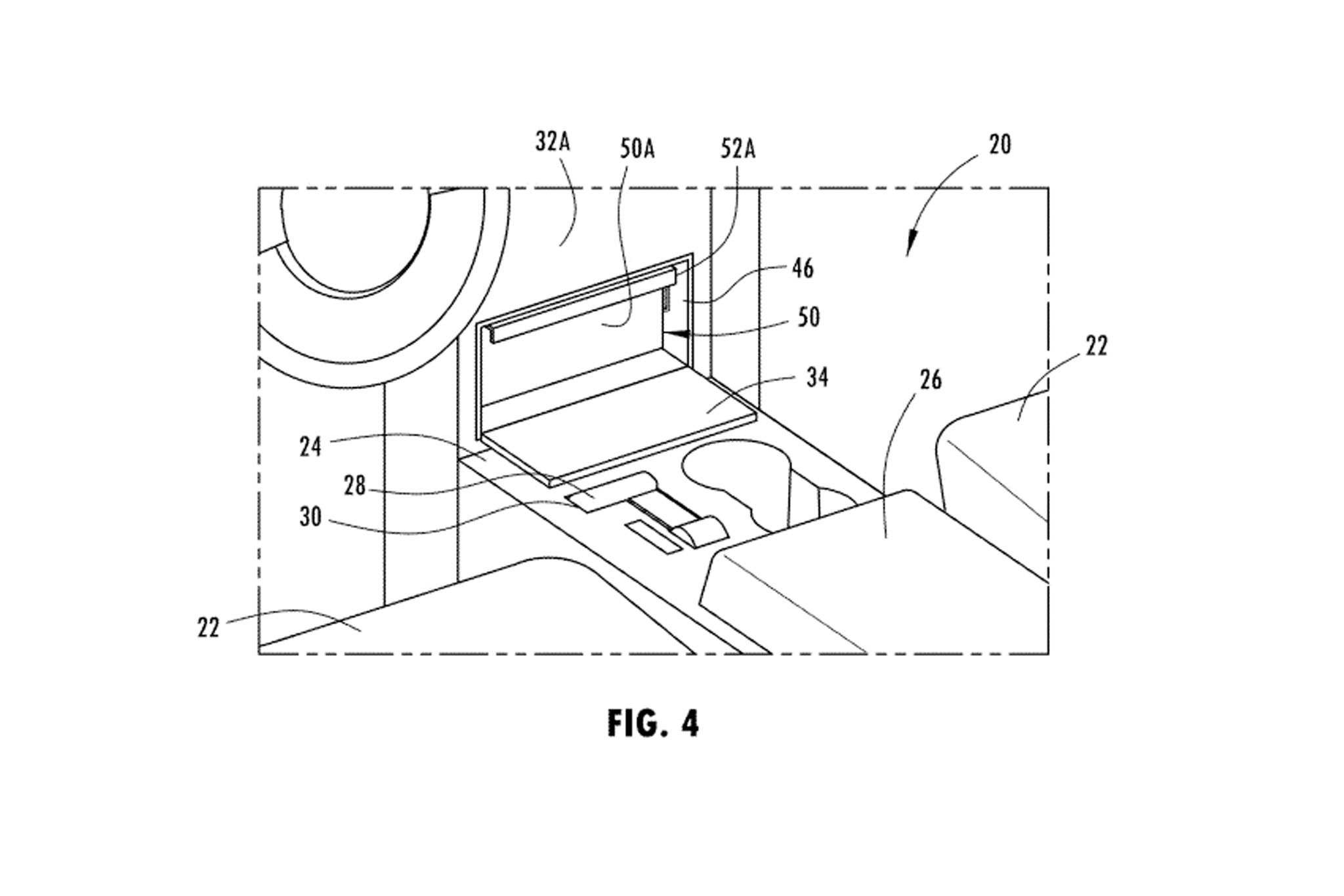
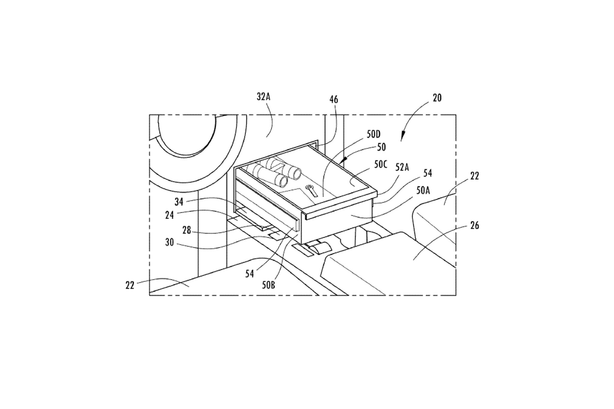
The utility of this is a little questionable, but it’s a neat proposal that’s nicely illustrated in the patent app. The tray would ride on tracks and slide between the interior and the frunk. A climate control or radio panel would fold out of the way to make space for it, and it would also be lockable with a keypad so those on the outside of the car could access items placed in the tray with a level of security. It would either move with the help of an electric motor or manually.
It’s pretty heavily implied in the patent literature and in the accompanying art that this would specifically apply to the F-150 Lightning. That’s not just because of the frunk detail, but because the storage tray would slide out on top of a folded automatic shifter like the F-150 already has.



I could see this being used for camping and tailgating, for sure. It would sort of be like a little storage locker. The patent art shows binoculars in the tray, but I think it would probably make more sense to quickly stash valuables like a phone or wallet there if you’re outside the vehicle. Truthfully, I think its applications are a little limited, but I also don’t do many outdoor activities with my car since it’s not exactly suited for it.
Patent applications like these are not statements of production intent. The Blue Oval might just be protecting the idea so somebody like Ram or General Motors doesn’t run away with it. It’s interesting either way, though. If a frunk passthrough tray makes its way into a new electric Ford pickup, you heard it here first.
Got a tip or question for the author? You can reach them here: peter@thedrive.com