Only weeks after Ford unveiled its first mass-market electric vehicle, the 2021 Ford Mustang Mach-E, a newly published patent application has come to light to give us a peek at the underpinnings of the upcoming electric F-150 pickup—specifically, how Ford might build a tough-enough EV “skateboard” chassis by sandwiching the battery between the boxed steel rails of a traditional truck frame.
The patent application, filed in May 2018 and published late last month, was first spotted by the keen eyes of the Mach-E Club forum. It describes retaining the body-on-frame design of the current F-Series pickup—America’s best-selling vehicle—for an electric version with a few key tweaks.

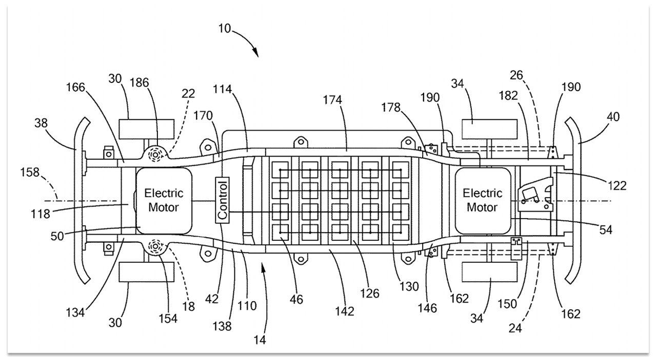
Nestled neatly in the center of the truck and positioned below the cabin are a group “power storage modules” which Ford says can be comprised of battery cells or capacitors. The battery resides safely it its own compartment between the two frame rails, cordoned off by two crossmembers and a stiff bottom plate permanently attached to the frame with either welds or bolts. This bottom plate also makes the entire chassis more rigid and allows for a lighter, thinner gauge steel to be used on the rails.
If this looks familiar, it’s because this is Ford’s version of the increasingly popular skateboard chassis for electric vehicles—that’s a base frame containing the battery and drive units on which a number of different bodies can be built. It also happens to be the same idea Rivian is using for its R1T truck and R1S SUV combo, a company Ford recently poured $500 million into that’s also been using F-150 bodies on its own EV chassis during road testing.
Details are also given about the pickup’s power plant. The images in the patent show two electric motors mounted to the frame, each of which controls a set of corresponding wheels by use of a “differential or other gearsets.” However, Ford also describes using up to four electric motors to power the pickup with one at each corner. There’s also a section that talks about automated or manual switching between one or both electric motors, indicating the truck may be able to alternate between two-wheel- and all-wheel-drive.
Ford has only recently begun to show off all-electric prototypes of its flagship pickup. More information will be trickling in as we edge closer to the truck’s anticipated launch in 2021.
Got a tip? Send us a note: tips@thedrive.com