Mazda is one of the automakers struggling the hardest with what the future of enthusiast cars will look like. While many seem to be settling into an electric future, Mazda’s only EV has just 100 miles of range, and it’s preparing a powerful inline-six engine in an attempt to move upmarket. Not only that, but it manufactures the crown jewel of the compact, lightweight, and inexpensive sports car; the Miata.
Mazda has previously stated that the next generation of the vehicle will have a mild-hybrid system, and recent patent documents published in Dec. 2021 have laid out the way such an unorthodox system might work. Like patents from every automaker, the document does not mention any specific model, but it does describe a series of constraints that make it clear it’s something a lot like an MX-5. Also, the level of detail it provides is very unusual for a patent, which makes me suspect it’s something pretty significant.
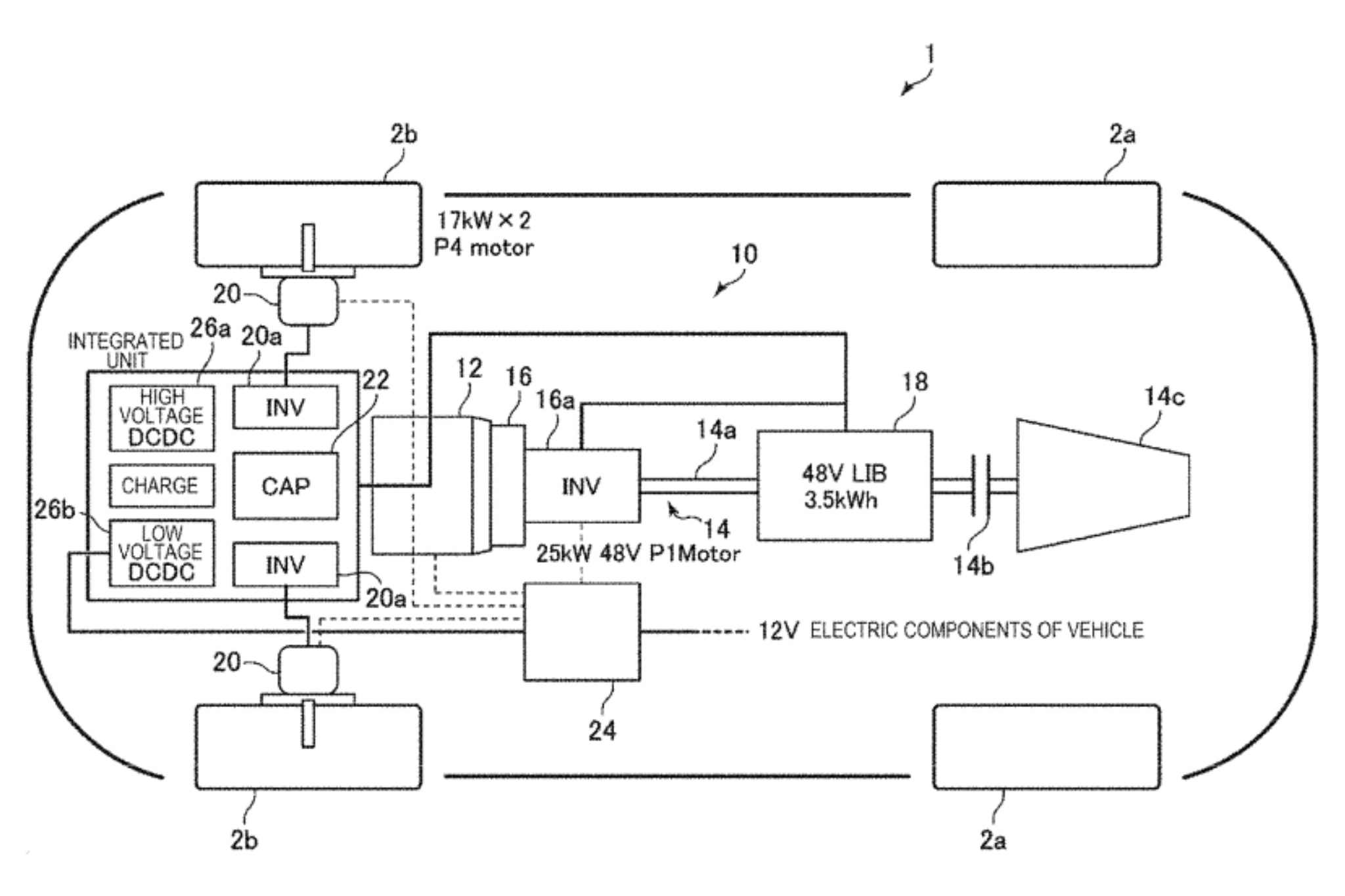
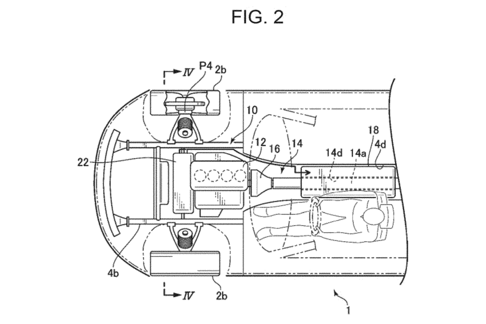
I say the system described is unorthodox because, well, let’s get into the meat and potatoes: it features a relatively small battery pack, a capacitor bank, three electric motors—two of them in-wheel and one mounted to the transmission—a transaxle with a torque tube like an older Corvette, and a regular internal combustion engine. It’s all a lot to take in, but Mazda’s technical illustrations from the early 2019-filed patent provide a little more context.



The battery pack, Mazda says, would be mounted somewhere in the transmission tunnel. Now, usually, a patent of this nature would only describe the location of the pack and how it works with the other systems. This patent describes its actual capacity; 3.5 kWh. That sort of detail is mirrored in the vehicle’s other components as well. The two front in-wheel motors, for instance, are 17 kW each (about 23 horsepower,) and the motor mated to the transmission is 25 kW (about 34 horsepower.) Patents usually do not have this level of detail. If they’re very conceptual in nature, like many are, there often isn’t a reason to provide it. That’s what makes this one so noteworthy.
Just the same, the document describes a vehicle that is very much Miata-like. First of all, Mazda builds no other front-engine, rear-wheel-drive car besides the MX-5, and the machine described in the patent is in that configuration. Also, it talks about maximizing interior space, balancing the masses of the drivetrain, and above all, saving weight wherever possible. In fact, that’s the whole rationale behind this complicated drive system, believe it or not.
The patent claims the purpose of all of this tech is “to provide a vehicle drive device capable of efficiently driving a [hybrid car] by using a motor without falling into the vicious cycle between enhancement of driving via the motor and an increase in vehicle weight.” Basically, Mazda says that as you want to increase the electric performance of a car you enter into a vicious cycle of needing more power, and then more batteries and body structure to support the power, and then more power to move around those batteries and structure, until you end up with something like the Hummer EV, which weighs over 9,000 pounds.
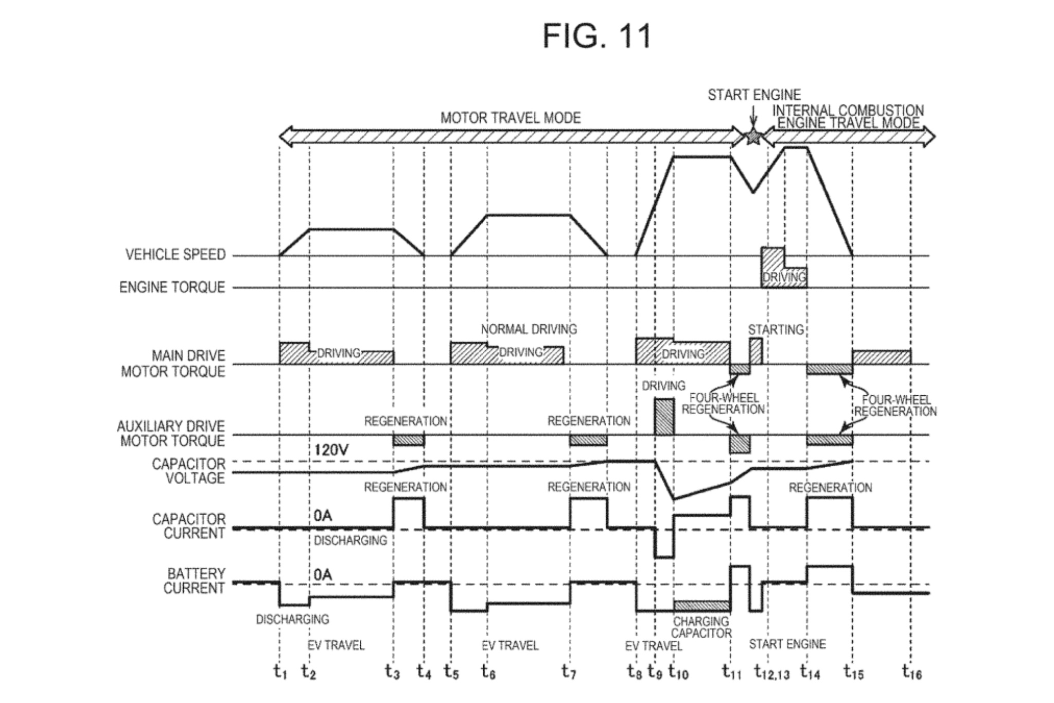
The patent states that in hybrids with a focus on electric power, “a large capacity battery is necessary and the electrical system that supplies a high voltage to the motors needs to be electrically insulated sufficiently, [and] the overall weight of the vehicle increases and the fuel efficiency of the vehicle reduces. Furthermore, in order to drive [a] vehicle with a heavy weight… a larger capacity battery and a higher voltage are required, thereby causing a vicious cycle that further increases the weight.” In short, Mazda isn’t interested in heavy, high voltage power systems and big batteries. Indeed, the patent explicitly states the battery is 48-volts, the same voltage as upcoming hybrid drivetrains confirmed by the automaker. This relatively low voltage powers the main electric motor mounted to the transmission, however, it feeds its power into the capacitor bank located ahead of the engine in order to power the front wheel motors. The capacitor can quickly send a lot of power to the front tires for a limited time without stressing the relatively small battery.

What’s smart about the patent and very typical of Mazda is that it takes into account the weight and size of all of these systems. That seems to be the reason why the automaker turned the transmission into a transaxle and mounted it at the back of the car in the same location as the differential. For those worried that this means no more manual, well, you might be right. The patent states the transmission will be “an automatic transmission with a torque converter, an automatic transmission without a torque converter, an automated manual transmission, [or] the like.” That basically means it’s probably going to be a single-clutch automatic, a DCT, or a straight-up torque converter automatic. The “[or] the like” part of the statement gives me a little hope, but not much.
From here the patent is very typical of a hybrid system, describing how the power is put down, how the regenerative braking will work, etc. Again, though, it gets really specific, stating the output of all of these electric motors and the combustion engine has been carefully tuned to work within the WLTP testing cycle, basically the European equivalent of the EPA. Why would Mazda state that if this drivetrain was strictly conceptual?



Also, if you’ve been crunching the numbers as I have in my head, you’ll realize that the completely speculative total system output here is pretty good. The electric motors alone produce 71 horsepower, which, even if Mazda decides to use the current engine out of the ND2 MX-5 in this machine, would give us a horsepower figure of 252 horsepower. That would make a possible mild-hybrid NE the most powerful factory Miata ever by a big margin. Also, this car is AWD, which would definitely increase its appeal to a broader range of potential buyers.
All-in-all, this system seems as intriguing as it is complex, and its documentation is so detailed that it makes me excited to consider its real-world applications. The NE Miata is going to be a pivotal vehicle in a lot of ways for the automaker. When the ND goes away, the NE is going to be charting a course into a world that’s not like the one the ND was born into.
If this is system is indeed intended to go in the MX-5, we might be looking at the future of the Miata as we know it—the future of arguably the most important enthusiast vehicle out there.
Got a tip or question for the author? You can reach them here: peter@thedrive.com