Mazda Patents Another Rotary Hybrid Sports Car Design. Is This Finally for Real?

The automaker is apparently planning something big, and it involves mixing batteries and a rotary to power all four wheels.
Mazda

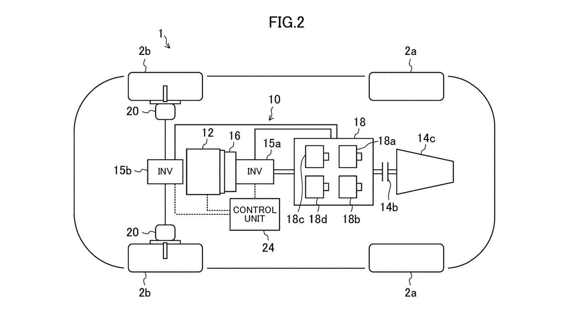
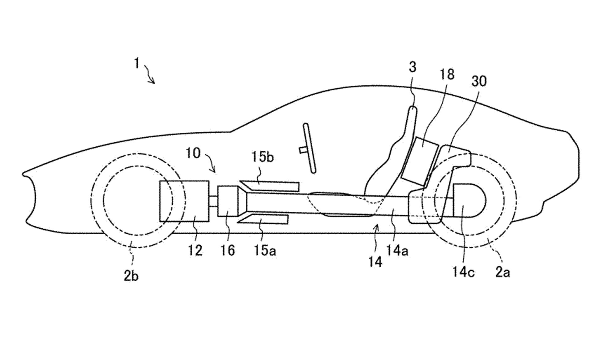
If Mazda wants to build one, it can. The automaker has applied for and been granted a patent for a rotary hybrid sports car. The basic design is similar to others we’ve seen applied for in the past, utilizing a combustion engine, a main electric drive motor mounted behind the engine, and two motors driving both front wheels. Those documents have not often mentioned rotary engines, though. This one does explicitly and also uses a unique dual voltage battery system which Mazda claims saves weight while allowing for high peak power outputs.

Applied for in June of 2021, the patent was published in the United States just six days ago on Tuesday, May 9. If you’ve read any of our other coverage surrounding Mazda’s mountain of hybrid sports car patents, you’ll know this particular configuration seems to be the one getting a lot of development. In this instance, the two front motors are in-wheel hub motors, although other patents have stated that they will be fixed to the frame and drive the front wheels through more conventional stub axles.

Mazda

There are a few interesting details worth talking about here related to the hybrid system, and it’s important to cover them first because Mazda doesn’t talk much about the rotary engine, despite it being a focus of the document. Indeed, it states explicitly that “the engine is a rotary engine and placed in a front part of the vehicle.” Outside of that, details like rotor count or other specs are not forthcoming.

Specifications of the hybrid system are clearly stated, as in documents we’ve covered in the past. In this case, the car uses a mix of 17-kilowatt (23 horsepower) induction motors for the front wheels and one 25kW (36 hp) permanent magnet synchronous motor mounted behind the engine. It’s unusual to see a mix of different electric motors like this, but it will at the very least make the car more interesting. Induction motors and PMSM machines deliver torque in slightly different ways, which may be why the 82-hp system mixes and matches them.

Mazda

For those worried about the weight of such a hybrid system, Mazda addresses these concerns head-on, as you might expect from the company that builds the MX-5. The first thing to know is that in-wheel hub motors don’t necessarily have to weigh very much. Commercially available PMSM motors producing around 17kW can weigh as little as six pounds, although induction motors could be heavier.

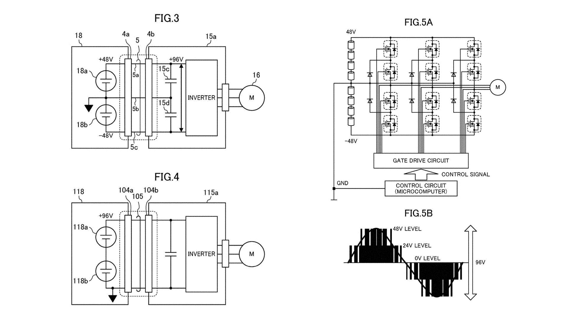
The weight of the battery is also addressed. Mazda is using a unique variable-voltage system I haven’t seen before. As I understand, it uses four 48-volt modules mounted in a pack behind the driver’s seat. At cruise, these systems act as a regular 48-volt battery and can deliver moderate power at a reasonable current to the wheels. When peak power is requested, the system uses electrical switches, MOSFETs, to instantly reconfigure two pairs of battery cells to operate in series at 96 volts. In this way, peak power can be obtained with less current, but at the same time, fewer high-voltage connections and power electronics systems have to be used. The automaker claims this saves weight.

Mazda

This system may sound complicated, but keep in mind that avoiding high voltages is not just cheaper and perhaps lighter in terms of power electronics; it makes assembly and maintenance considerably safer. As the patent recognizes, anything under 60 volts is generally not enough electrical potential to travel through a person. This means the hybrid system will be safer and easier to service.

As I’ve said before, there is just… a forest fire’s worth of smoke in terms of patents. We know the next Miata is going hybrid. We know Mazda wants to build something a lot like the RX Vision concept. It’s still developing rotary engines for God’s sake, even if we’re only seeing them in ultra-sanitized, series hybrid-style range extenders.

It’s reasonable to believe at this point that something big is coming soon, and it might just have rotary power to boot.

Got tips? Send ’em to tips@thedrive.com

Peter Holderith is a former staff writer for The Drive. He enjoys covering the regular news cycle, writing reviews, and hunting down long features on obscure pieces of automotive history.