Mazda is one of the car companies subscribed to the internal combustion forever club, but that doesn’t mean it’s opposed to hybrid technology. It currently offers a few hybrids for sale but has lately been filing what can only be described as a mountain of patents related to a particular configuration of performance hybrid sports car. There seem to be too many of these plans to amount to nothing. Whether it’s the new Miata or a larger GT, this potential future enthusiast’s machine is seriously taking shape and it’s a very interesting configuration.
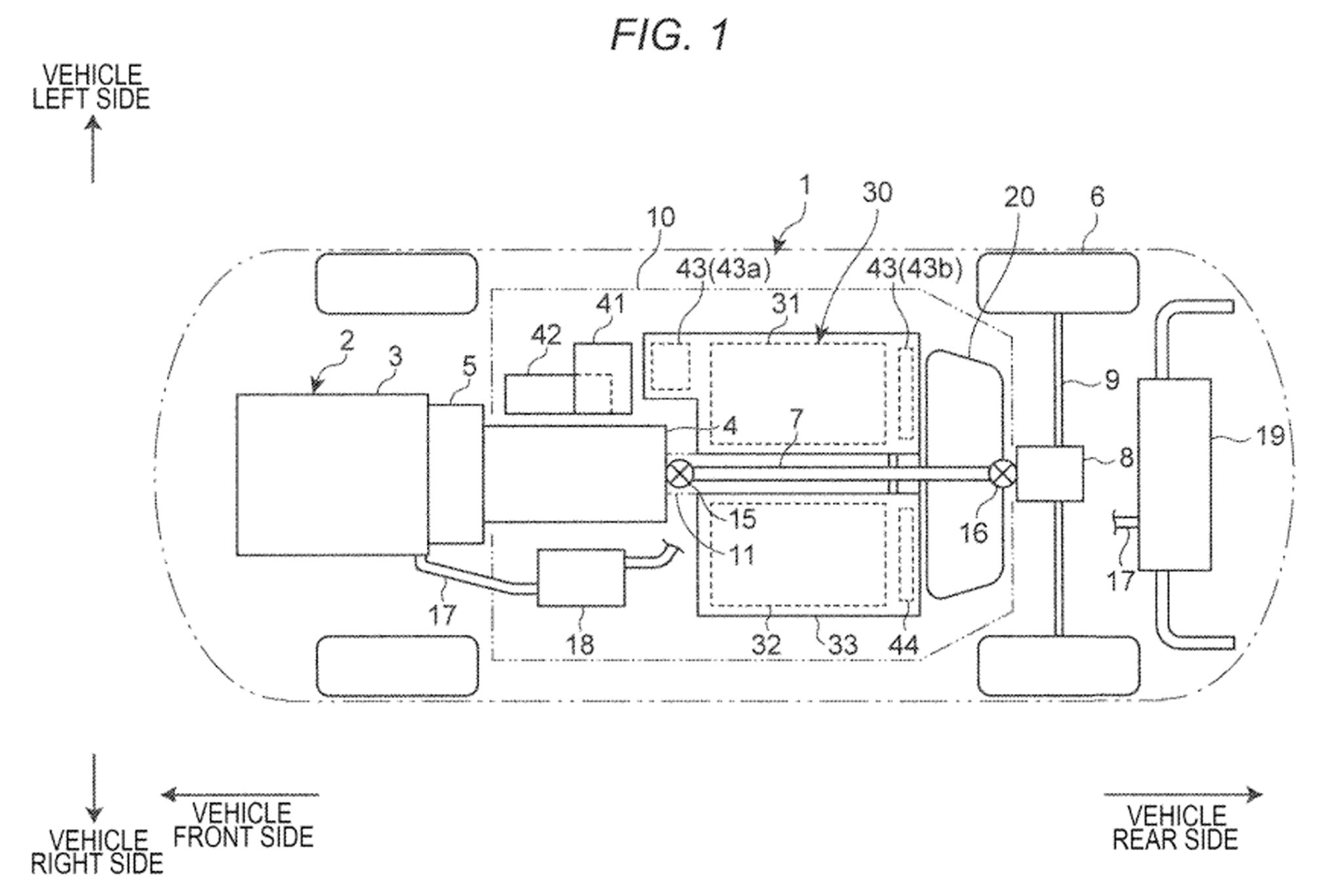
We’ve seen a similar setup before in older patents, but this latest round of documents is different and goes deeper in terms of the nitty-gritty details. It’s a longitudinal combustion engine, triple electric motor configuration with an automatic transmission. Two motors on the front axle sit on either side of the engine sending power to the front wheels via half-shafts. A third motor applies power directly to the transmission and drives the rear wheels along with the engine. It’s likely this motor could be used as a starter as well.
In the past, Mazda has described such hybrid systems as being able to provide a total of around 80 electric horsepower, although that figure can be adjusted up and down, at least for short bursts, with relative ease. These new patent documents not only detail the structure of the vehicle and where two underfloor battery packs will be located, but they also casually mention that the lithium-ion battery will likely be around 300 volts. While low for a BEV pack, it’s perfectly adequate for a hybrid. The old Chevy Volt had a 350-volt pack, for instance.
The design details of the two front power units are discussed in detail. Both are set to receive the latest silicon carbide inverters, which is one of the key technologies Tesla uses to extract the maximum range from its cars. They will be mounted right on the motor, with thermal management coming courtesy of a common cooling loop to keep weight down.
The aforementioned automatic transmission detail is interesting. Patent language is usually broad when it comes to this sort of thing, but not here. The document speaking of the transmission offers no alternatives. This differentiates it from older patents that talk about an automated manual or a full manual transaxle being available with a similar setup, likely in a smaller car. It’s plausible these patents are indeed referring to two separate cars; a Miata-like roadster, and a larger automatic-only GT car, perhaps powered by the automaker’s new six-cylinder engine. That is what I personally want to believe, of course, but there are other details to support this.



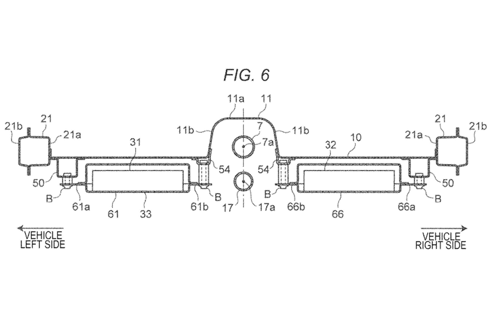
The series of patents Mazda has posted on this topic all point to an exhaust system routed down the center tunnel of the car below the driveshaft, mostly because there are few other good places to put it thanks to the batteries. Other documents describe routing it down the rocker panel, but this central configuration seems to have won out. Also mentioned in many of these documents is an angled center tunnel, which is not found on earlier patents related to what is likely a smaller more Miata-like vehicle.
There is no mention of a rotary engine in any of this stuff, so don’t get too excited here. I do, however, want to stress just how many patents Mazda has been filing about this particular layout and beyond. Everything from the minute details about the hybrid system to the exhaust and body structure has been described in detail across dozens of documents. Likewise, broader patents about construction methods for what are obviously sports cars have been getting published for months in the United States, Europe, and Japan. Patents are not a surefire guarantee of production intent, that has to be made clear, but this is a whole lot of smoke if there’s no fire. A lot more has gone into production with a lot less patent data, and knowing that a next-generation Miata is coming while Mazda is taking electrification seriously, it would be strange if what we’re seeing here wasn’t indicative of future cars.
Got a tip or question for the author? You can reach them here: peter@thedrive.com