I heard my neighbor say just this week, “Back in my day, we rode around in pickup beds—and didn’t get pulled over.” While those laws are more strictly enforced in the 21st Century, Ford has come up with a way to capitalize on that nostalgia without getting anyone into hot water, legally speaking. A recent patent application spotted first by Ford Authority shows a four-seat configuration in the bed of a Ford F-150, though the documents make clear that it’s solely for use in stationary vehicles.
It’s a pretty simple setup that would surely never, ever be abused by truck owners. Nope. No way.
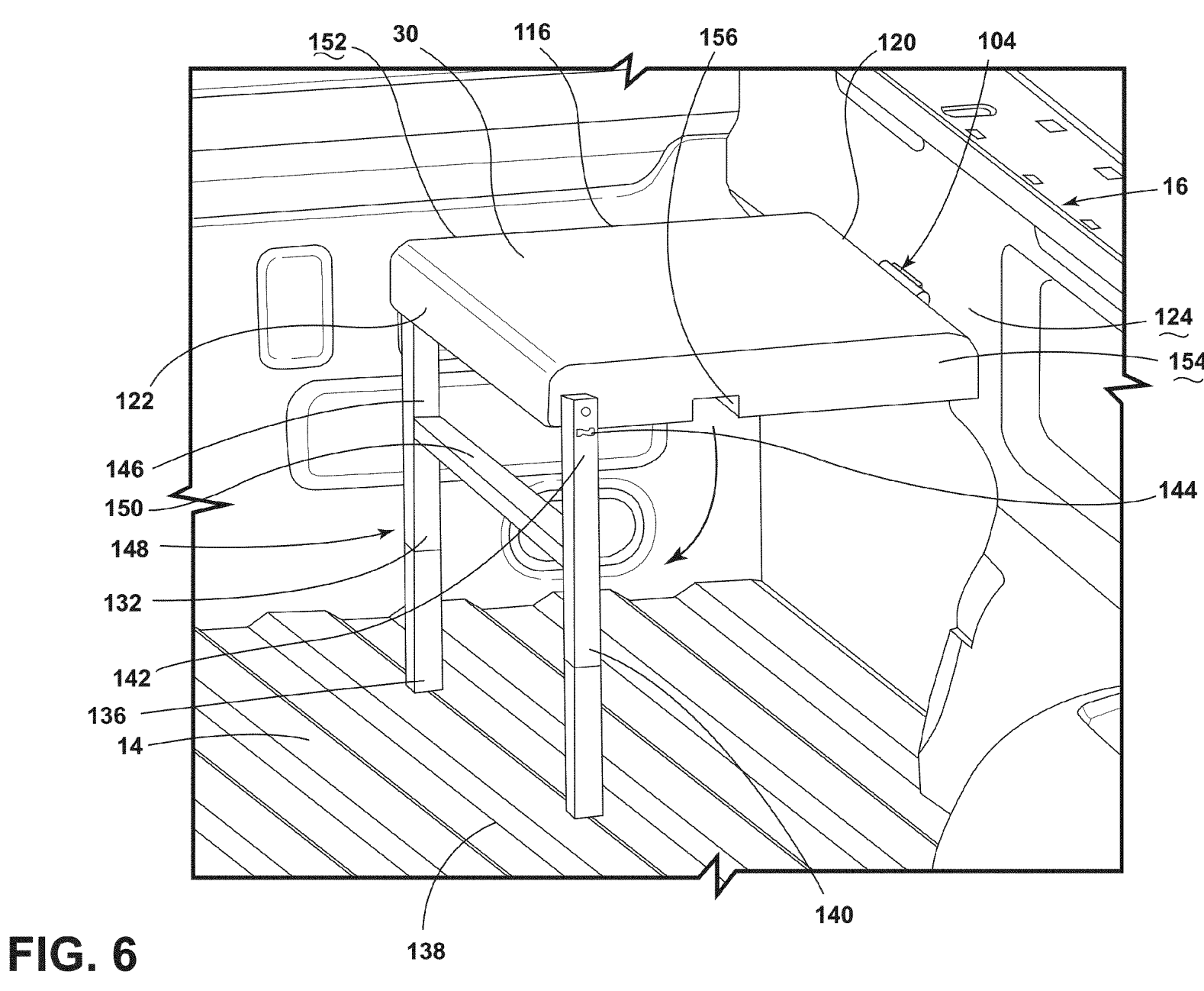
You see, the seats simply fold up and remain stored in the truck’s bedside when they’re not in use. Each chair has its own set of collapsible legs that also stow away easily. There’s no fancy seatback or massage function—a little disappointing if you’re into luxury tailgating—but I reckon it’d do the job just fine.





Interestingly enough, there are several attachments pitched in the different design illustrations. One is a rollout net that can stretch vertically or horizontally across the bed, holding whatever cargo you might take with you to a ballgame. Foam fingers, maybe? Meanwhile, another shows a folding bench that spans the gap over the wheel well. There aren’t any extra legs to hold it up, but the figure disclosure does call it a seat. Either way, it’s surely more than sufficient for holding a few paper plates stacked with wings and the requisite Solo cups.
This patio-type seating set would work great in a truck with Ford’s 7.2-kilowatt Pro Power Onboard mobile inverter. In case you missed it, my coworker Peter wrote about all the appliances you could run off that generator—an entire kitchen’s worth. So you maybe you have your bench seats, a table in the middle, and a few grills and fryers running off the outlets that are built into the bed. That sounds like a recipe for success.
Ford often applies to protect its best ideas when it comes to vehicular leisure. Remember that patent for a multi-car sound system? Or what about the killer tailgate package for the F-150 Lightning’s frunk? It’d be great to see at least one of these make it to production, but there’s no guarantee. Then again, I never thought I’d see a single swinging door at the back of an F-150, either.
Got a tip or question for the author? Contact them directly: caleb@thedrive.com