Ford’s latest patent could drastically increase the usability of pickup truck beds, allowing for customers to nearly double the size of their cargo capacity at the push of a button. The new patent, filed with the United States Patent and Trademark Office (USPTO), via CarBuzz, proposes rising rails on the walls of a bed that can not only hold large items of their own, but act as mounting points for additional storage compartments.
Under normal circumstances, the rails would stay retracted, inside the bed walls. But when deployed, actuators could extend the bed rails up on either side. With just the rails in their extended position, owners can store longer items like lumber or ladders—think anything too long to normally fit in the bed—horizontally across the bed, freeing up space underneath for other storage. If the long item is too heavy to lift up onto the fully extended rails, owners can place it across the bed walls with the rails retracted and then let the actuators do the lifting for them. According to Ford’s patent documents, each actuator is capable is lifting 1,320 pounds, but the filing doesn’t say how much weight each rail can hold without bending.





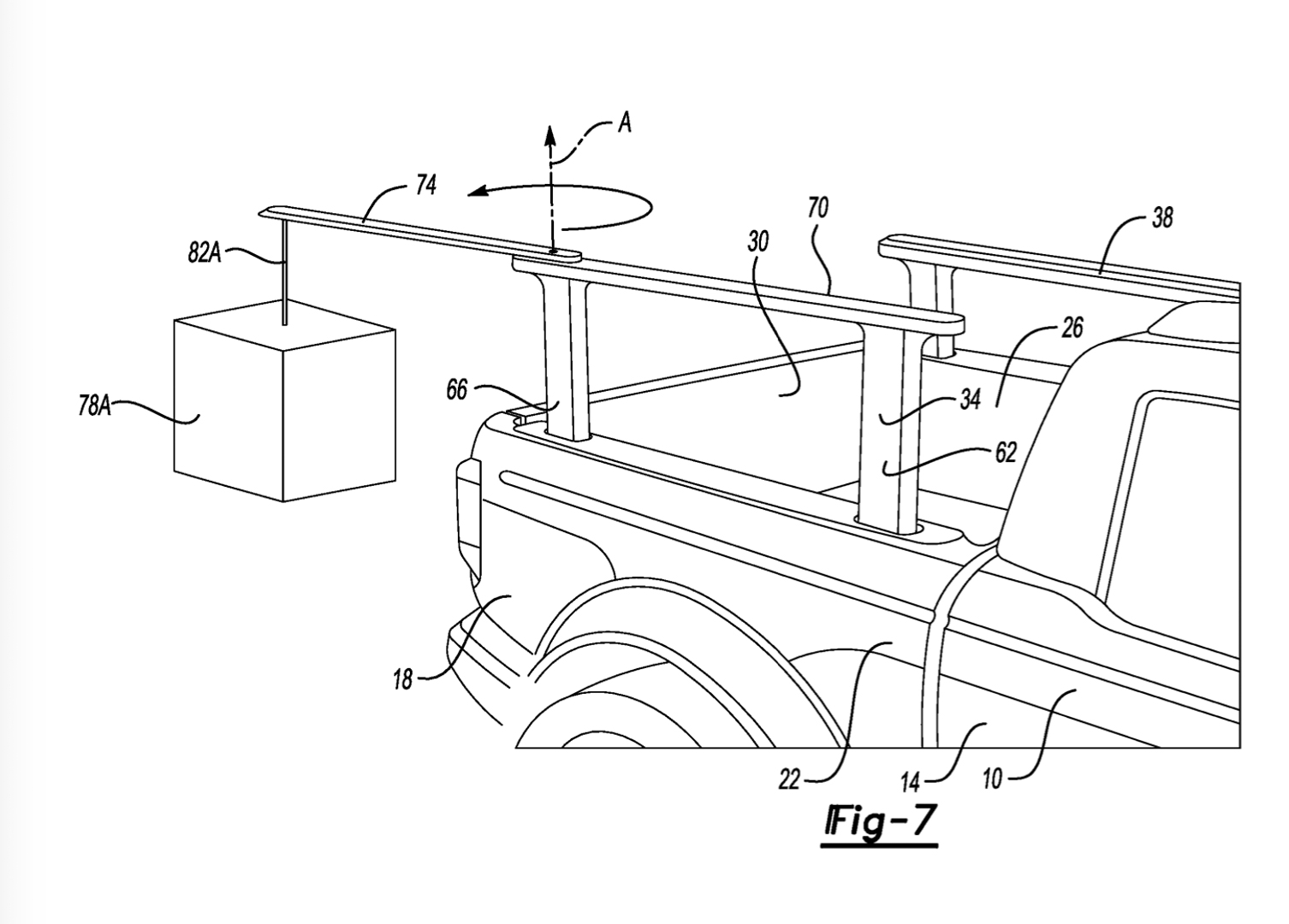
It gets even more practical, too. The upper rails are made of two pieces, the top of which Ford calls “pivot bars” that are thinner and can rotate 90 degrees across the bed like roof racks. With both rotated across, spanning the bed, they create another way for items to be stored up high. Those same pivot bars can also be turned 180 degrees, extending the length of the bed rails even further.
Ford also mentions a function that would allow the bed rails to secure any large cargo, to prevent it from falling or moving around. With a cargo net attached between the bed rails, the actuators can retract the bed until the net presses down on the cargo. Once it detects a certain degree of resistance, it slows down its retraction before stopping, holding the cargo in place.
The applications for these extending bed rails are limited only by imagination, as they would give owners a ton of added flexibility. Rivian offers similar rails but they’re accessories with fixed mounting heights and need to be physically removed. Ford’s patent would allow the rails to be raised and lower with the push of a button, used when they’re needed and hidden when they’re not. This tech could also be implemented on all Ford pickups, as the actuators would be the same, only the height and length of the rails would need to change. Patents of course aren’t indicative of launching products, but if Ford manages to find a way to debut this technology on pickups, it’s not hard to imagine many customers ticking the option box.
Got tips? Send ’em to tips@thedrive.com