Ford’s Clever Sliding Tray Could Make Unloading Your Truck’s Bed Easier

It can even tilt downward, creating a mini-dump bed.
USPTO

Anyone who’s ever owned a pickup truck or borrowed a friend’s knows that sometimes cargo rolls to the back of the bed, requiring you to climb in to retrieve it. It’s an annoyance, particularly with larger, heavier items, and aftermarket cargo unloaders can help address it for some. But Ford’s just patented its own solution it’d theoretically offer straight from the showroom: a tray that slides out of the bed and can even be angled downward, called the “Adjustable Base Plate.”

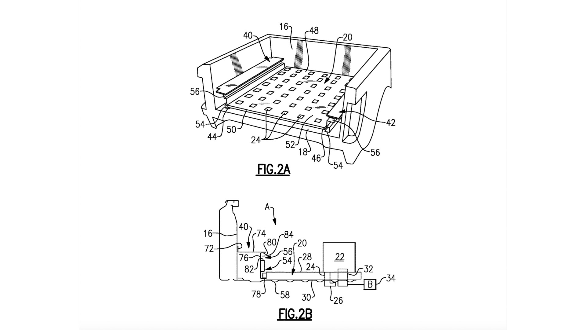
Ford Authority unearthed the application, originally filed with the United States Patent and Trademark Office (USPTO) in August of 2022 but published only a few days ago. In the drawings, you can see the aforementioned plate in the bed, with tracks that hold a sliding tray. The tray itself could have slots or cutouts to hold tools and other small cargo, putting them within easy reach for owners.

USPTO

One interesting feature is the tray’s ability to tilt downward once it’s reached its outermost position. In Figure 3C, you can see the tray angled down a bit, which may allow items to slide down the tray and out of the bed on their own, like a mini-dump bed. That would be useful for hauling mulch, dirt, or stone for landscaping work, for example. Rather than shoveling it out, just move the tray out, tilt it downward, and let gravity do the rest.

The height of the tray can be adjusted as well, as there are multiple track positions for it. At the tray’s highest position, there would still be space for low, flat items to be placed underneath directly on the bed floor, while the entire top of the tray would be available to carry more cargo above. Items below the tray might also be less likely to shift in transit. You can imagine shovels or tools stuffed in the cubby below, and loose topsoil up top.

USPTO

Ford could offer this technology on any of its pickupscommercial or passenger—and I could see it being a big hit. Contractors and customers alike would surely find plenty of uses for such a tray system. And unlike the very imaginative patents we sometimes see in the automotive industry, this one’s actually realistic enough to envision on a production pickup in the not-too-distant future.

Got tips? Send ’em to tips@thedrive.com

Nico DeMattia Avatar

Nico DeMattia

Contributing Writer

Nico is a writer and reviewer who combines all of his nerdy knowledge to talk about cars and hopefully cause a few laughs along the way.