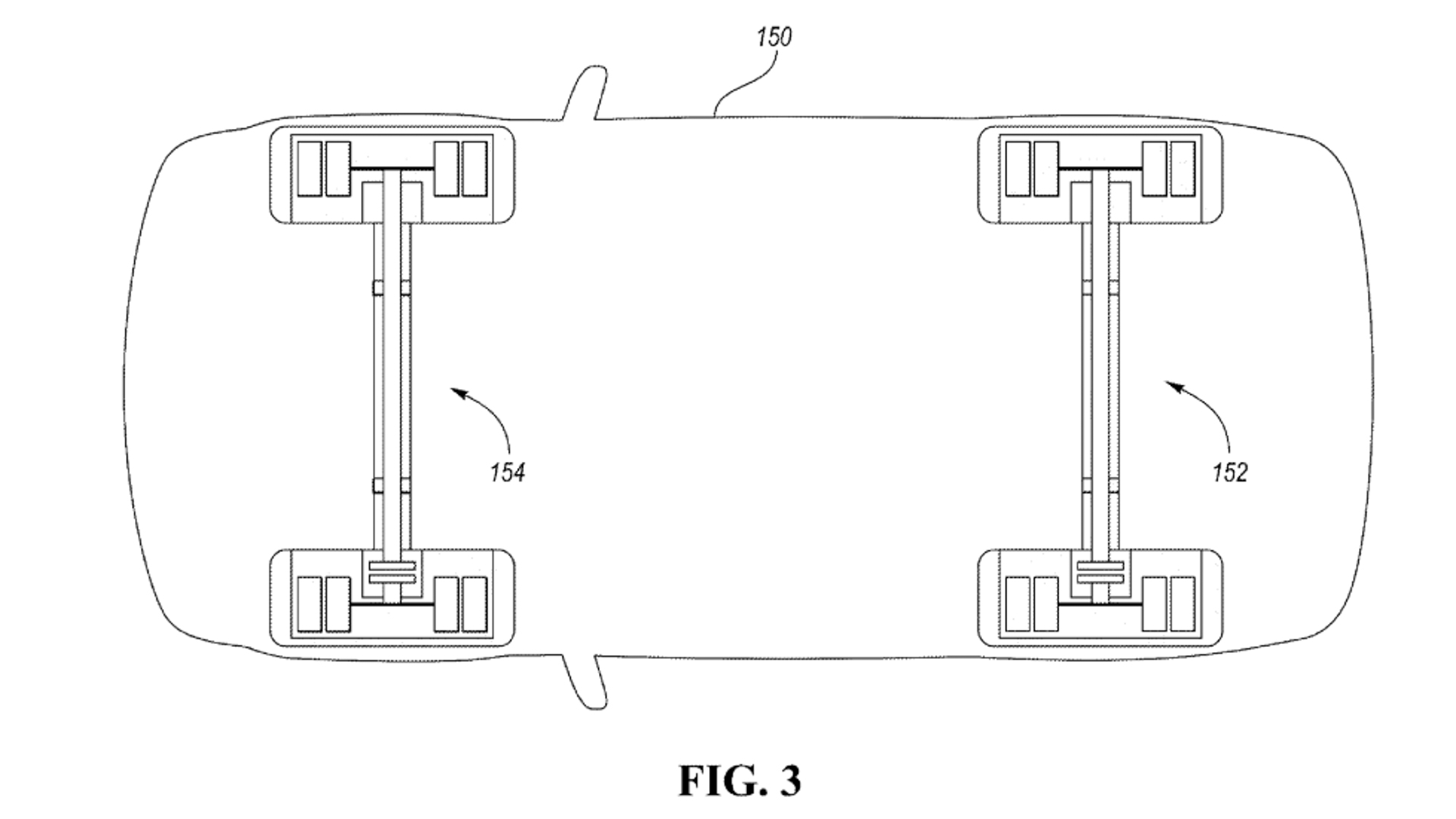
Every electric pickup on the market—the Ford F-150 Lightning, Rivian R1T, and GMC Hummer EV—utilizes independent rear suspension instead of the solid rear axles typically found in full-sized trucks. At the moment, it’s the most practical way to package electric powertrains into the rear axle. However, a recent Ford patent filing unearthed by Motor Authority hints at a potential solid rear axle with electric motors integrated into the wheel hubs.
In half-ton trucks, IRS is fine because it provides superior on-road comfort and handling over a solid rear axle. Also, in the case of the F-150 Lightning, it’s still capable of towing 10,000 pounds. What IRS can’t do, though, is support gooseneck and fifth-wheel trailers. This is why heavy-duty trucks retain solid rear axles. In order to plan for a heavier-duty electric pickup, Ford came up with this solution.


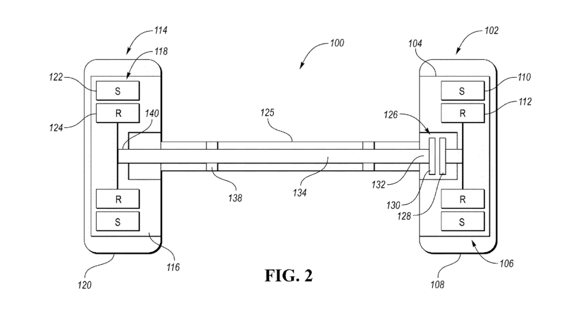
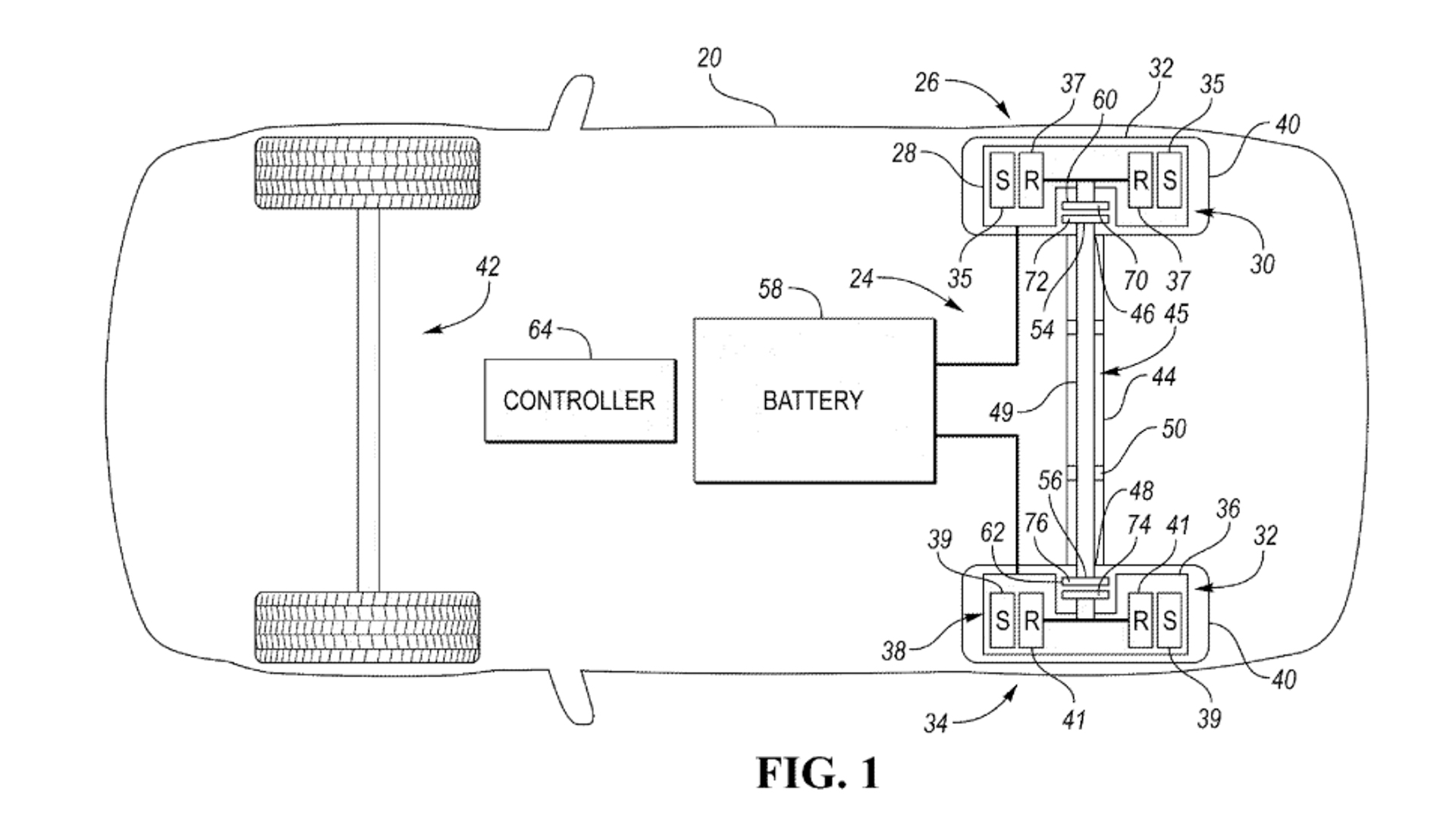
This new technology would allow for several different configurations. It could be used in a dual-motor rear-wheel drive truck, with one of these solid rear axles and independent front suspension. A single front electric motor could also be added to the IFS to make a tri-motor setup. And heavier-duty trucks could have two of Ford’s new solid electric axles with four motors, one at each wheel hub.
Ford isn’t the only company to develop a solid axle for electric powertrains. Magna and ZF have already released designs for solid electric axles but they both feature an electric motor right smack in the middle of the axle instead of at the wheels. Slovenian company Elaphe also has direct-drive electric motor wheel hubs, like Ford’s proposed design here.
Both Magna’s and ZF’s designs should work well. In both cases, the electric power unit (motor, inverter, and transmission) is a stressed member of the axle. In turn, they’re quite a bit different than what Ford has here.
At this point, it’s difficult to say which design will work better—having the motors integrated into the wheel hubs or in the center of the axle. However, with several brands working on electrified solid rear axles, it’s safe to say we’ll see them used on heavy-duty electric trucks in the near future. Of course, there’s still the issue of diminishing driving range while towing heavy trailers, but that’s its own hurdle. First, electric trucks need to be able to handle the weight and either of these rear axle designs could, in theory, do the trick.
Got tips? Send ’em to tips@thedrive.com