Being stuck on the side of the road has been a problem since cars were invented, and indeed it still happens today. Toyota seems to be especially tired of it, though, because we recently came across a patent that outlines a system by which an autonomous drone could be automatically dispatched to refuel or recharge stranded gasoline- or battery-powered vehicles.
Somewhat reminiscent of aerial refueling in planes, it’s not clear whether the system would only work on stationary vehicles, or if the system could work while the car is still moving. It’s likely it could only work with stopped vehicles for safety reasons, however, the patent’s title is “on-the-fly,” which can be interpreted in a few different ways. The patent drawings show the drone in extremely close proximity with the vehicle it’s refueling/recharging, which may imply the vehicle is stopped. But then again, this is also just a patent drawing.






The patent claims this sort of system could find use in autonomous vehicles, although it doesn’t say it couldn’t work for regular vehicles. I find the idea of one vehicle helping another vehicle rather nice. Your robot car being refueled by its robot drone friend. At least, I’m assuming they would be friends. It reminds me of the forklift pit-stop character Guido, from the movie Cars. I think the whole interaction would have that vibe.
It’s claimed that this sort of system could theoretically work with any fuel. Hydrogen, gasoline, and electricity, of course. It also details a method by which efficiency could be gained by a vehicle doing multiple fuel stops over a route before being sent back to get refueled itself, therefore taking advantage of a lightening fuel load for increased efficiency when not just toting around batteries.
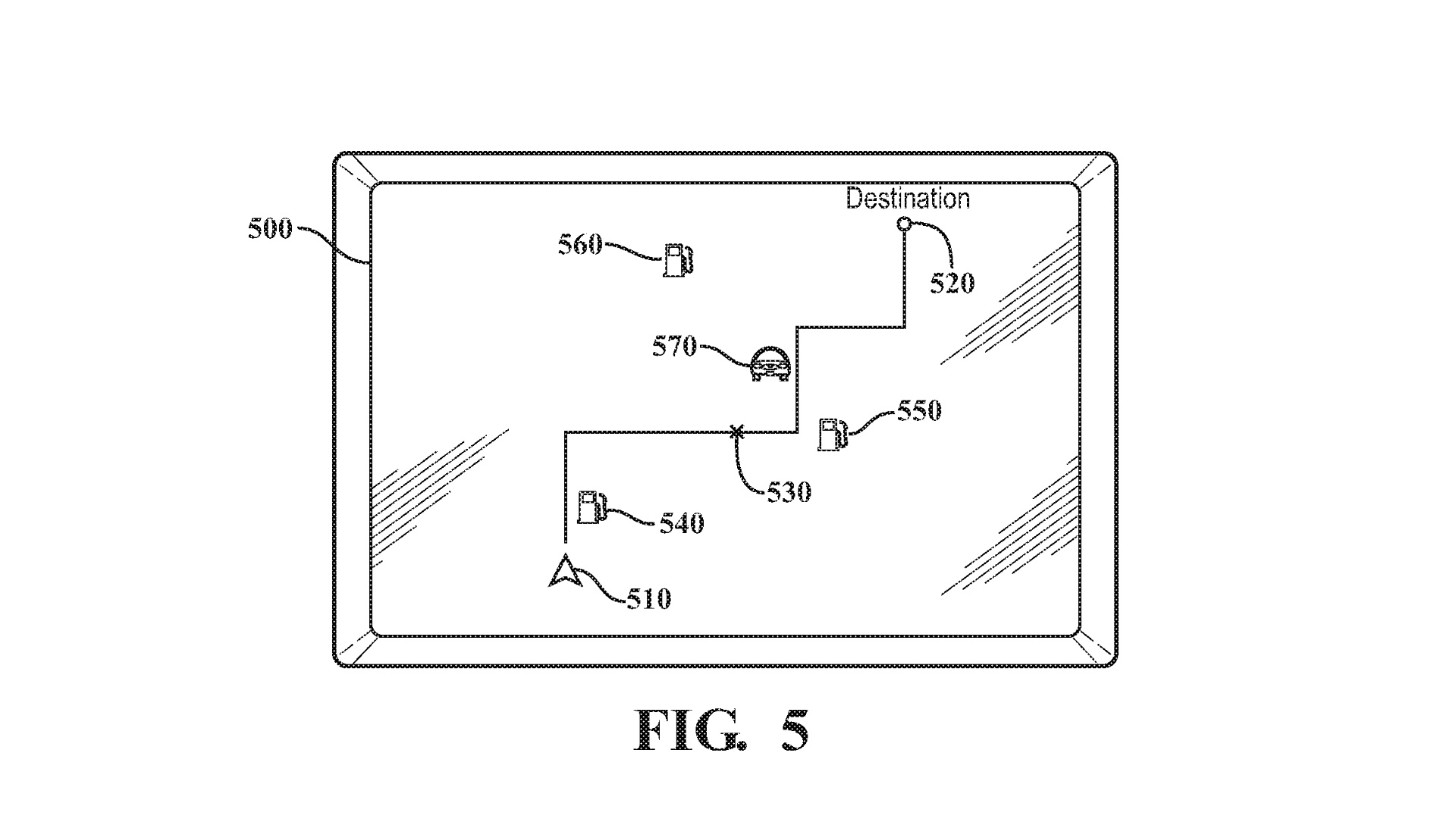
The drone would find cars to refuel using GPS, and then use a series of other sensors, such as the proximity kind, to find its way over to the fuel filler/recharging port to replenish the vehicle’s range. The documents don’t state that the driver would have to lift a finger for this system to work, which seems unlikely. The driver would have to open a fuel door or charging port, which works several different ways on different cars. Unless Toyota standardized a system by which the drone could open any type of fuel door, the driver (or computer) would have to be involved.
There is, of course, no timeline for tech like this to get onto public roads, and indeed it won’t be feasible until mass-market, fully autonomous vehicles are approved for use on roads alongside human drivers. Right now, cars are at SAE automation level two, and Honda will soon be rolling out the Legend with SAE level three in the next few months in Japan. It will be some time until the pinnacle, level five is reached.
At that point, however, we might expect to see these refueling drones to start hitting the streets and helping stranded motorists.
Got a tip? Send us a note: tips@thedrive.com