Ranges for electric cars are creeping up every year, but that’s still not enough to convince many car buyers that an electric car won’t eventually leave them stranded. If you’re Ford, soon to release the electric version of the best-selling vehicle in the country, you don’t want people to be anxious about that. So what do you do? You design a range extender, probably one that goes in the bed of the truck and looks like a cool toolbox.
That may seem like an odd solution, but it’s what Ford is considering doing, according to patent documents discovered by The Drive submitted to the United States Trademark and Patent Office in April of 2018 and published on Sept. 15. The patent, which is titled “Electrified vehicles with a removable and interchangeable range-extending generators,” describes range extenders shaped like toolboxes that can be placed into the bed of a pickup truck.





Figure 1 is just a basic diagram of how the system would work, while 2-3 shows where the generator would go in the bed. Note that Figure 3 shows a range-extending pack of several different sizes, hinting at different models that may offer more or less added range. Figures 5-7 describe the sort of electrical connections the brand would use to join the range extender and the truck’s EV powertrain.
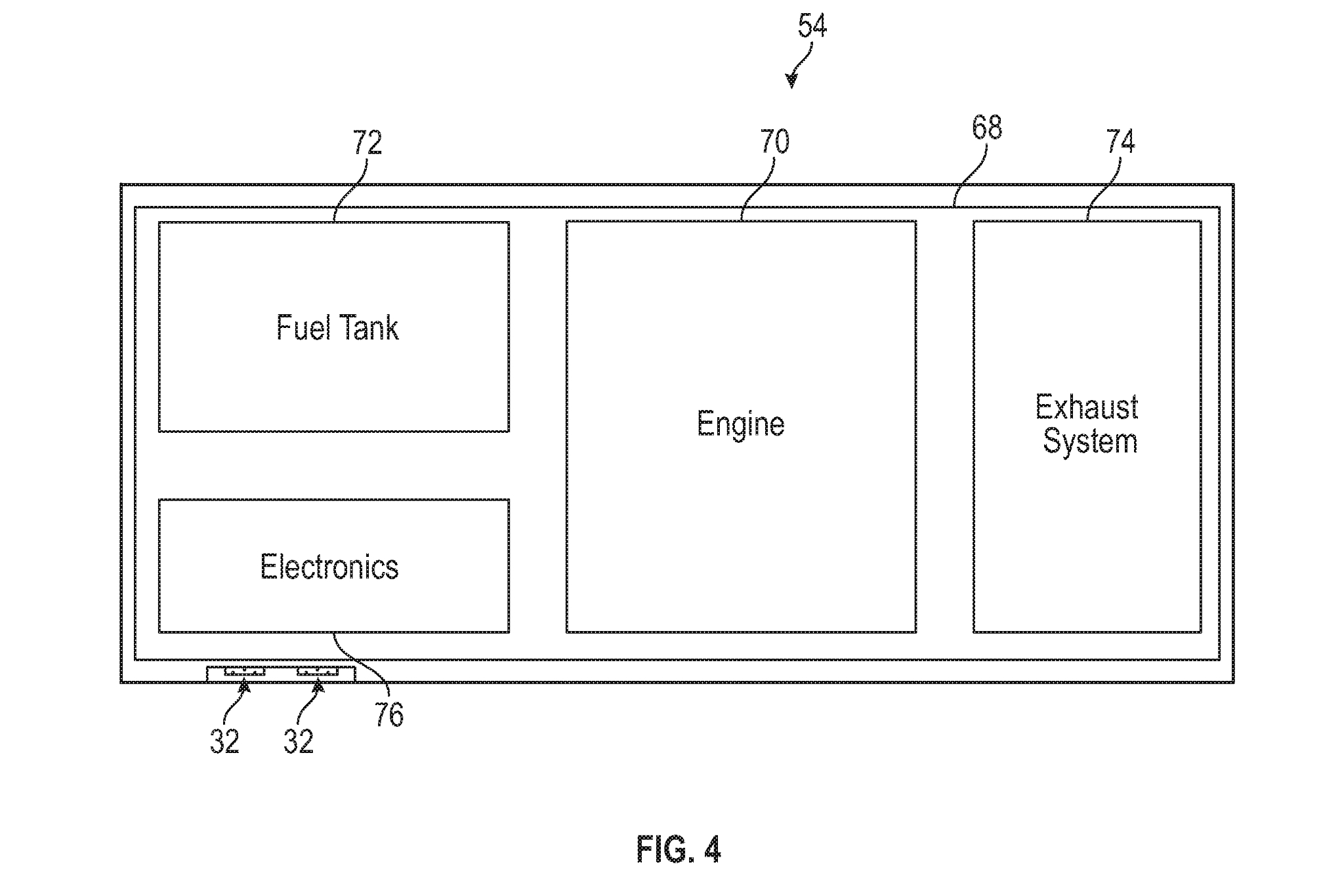
One of the more interesting drawings to go along with the patent is Figure 4, as it describes what the inside of one of these packs would actually look like.

In this layout, most of the pack is taken up by the engine, but that raises the question of what sort of engine would be used for the swappable, range-extending generators. The smallest engine Ford makes is its 1.0-liter EcoBoost, which is still big by range-extender standards. With three cylinders and 123 horsepower, it would be overkill. BMW’s range extender in its i3 compact, for instance, is a 650cc twin-cylinder scooter engine producing only 34 horsepower.
The Drive has yet to find any other patent documents relating to such a small engine in development. It’s possible that Ford hasn’t posted any patents for it, or that it will approach an outside company to engineer it for them. Other Ford patent documents related to range extenders do not specifically cite gasoline as the fuel, either. A range-extender like this could theoretically be fueled by diesel, a high-alcohol gasoline mixture like E85, or even a hydrogen fuel cell.
Got a tip? Send us a note: tips@thedrive.com