Electric two-seat performance cars are not quite in their prime yet, but companies including Rimac, Porsche, General Motors, and more are working hard to get them on the road. British automaker McLaren just put a horse in the race, too. It already makes the hybrid Artura, but now it’s applied to patent a potent three-motor drive system for a supercar likely driven purely by electricity.
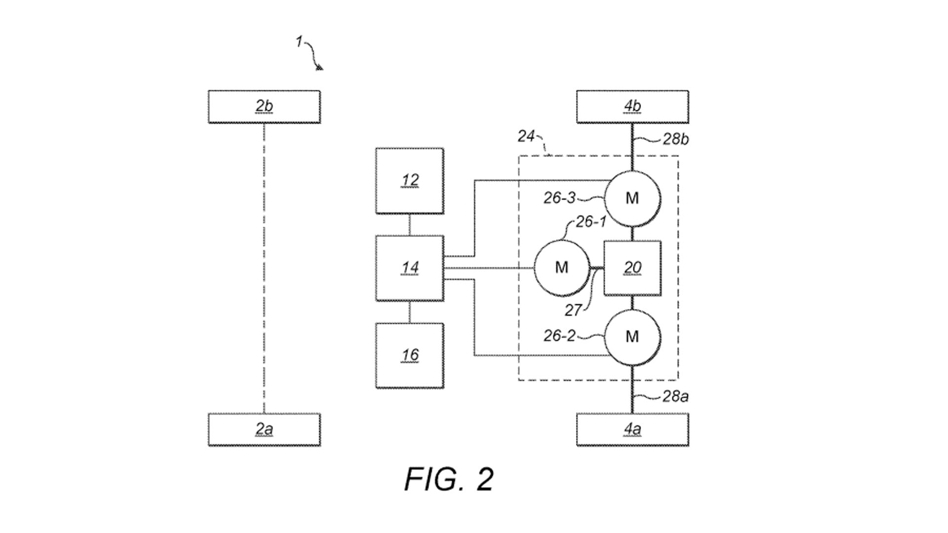
The drive unit consists of a differential with an electric motor at every input/output. There’s a primary motor at the input and one at each output where the axle shafts exit for a total of three. All of this is housed in one case made of aluminum or magnesium to save weight. The three motors work in tandem to not only drive the vehicle forward but also provide torque vectoring and regenerative braking. By braking or powering one of the two outside motors, the vehicle can move in all sorts of funny ways—and put its power down more effectively.


McLaren’s patent doesn’t specify the system’s total output. It also does not detail any individual motor’s output. The drive unit has stated applications beyond BEVs, though. The patent claims this system could be driven not just by a conventional battery pack, but also by a hydrogen fuel cell or a bank of supercapacitors. It also says this unit could be used in a hybrid vehicle, where it would be placed on the front axle with the rear axle driven by an internal combustion engine.
The system does seem particularly well-suited for a fully electric supercar, though. Having three separate electric motors in a hybrid car isn’t unheard of, but it adds a lot of complexity. Hybrid cars with multiple motors also don’t typically have them located in the same drive unit; they’re typically distributed throughout the drivetrain.
Using three motors in tandem with a differential is an interesting choice. Driving one output shaft in a differential will spin the other in the opposite direction unless it has some sort of locking or limited-slip mechanism. This means one of the outside motors driving an axle will also apply a torque in the opposite direction to the other axle. Synchronizing both outside motors might be a challenge, and indeed, it’s one McLaren anticipates. The patent states the center diff could be a locking unit, which would simplify the process of the outside motors applying torque strictly for driving the vehicle forward.
This sort of system is reasonably complex, but it could allow for unprecedented levels of control in terms of torque vectoring. This patent was published for public viewing in early January, but only filed in June 2022. In other words, it’s a very recent development. It’s possible McLaren is figuring out the nuts and bolts of a gizmo like this as we speak.
Got a tip? Send us a note: tips@thedrive.com