A production version of Hyundai’s awesome N Vision 74 concept is nowhere close to showrooms or absolutely confirmed, depending entirely on who you ask. It’s in a state of rumor-mill purgatory right now. It would be nice to get some solid information from the Korean automaker concerning what’s going on. Now we have that.
Hyundai hasn’t said anything new, but two patent documents we’ve found show a body structure for something a lot like the N Vision 74, if not that car exactly. If Hyundai made any other two-door coupes with a structural tunnel ready to be stuffed with batteries, well, we could speculate on that. But we only know of one that’s rumored to enter production.
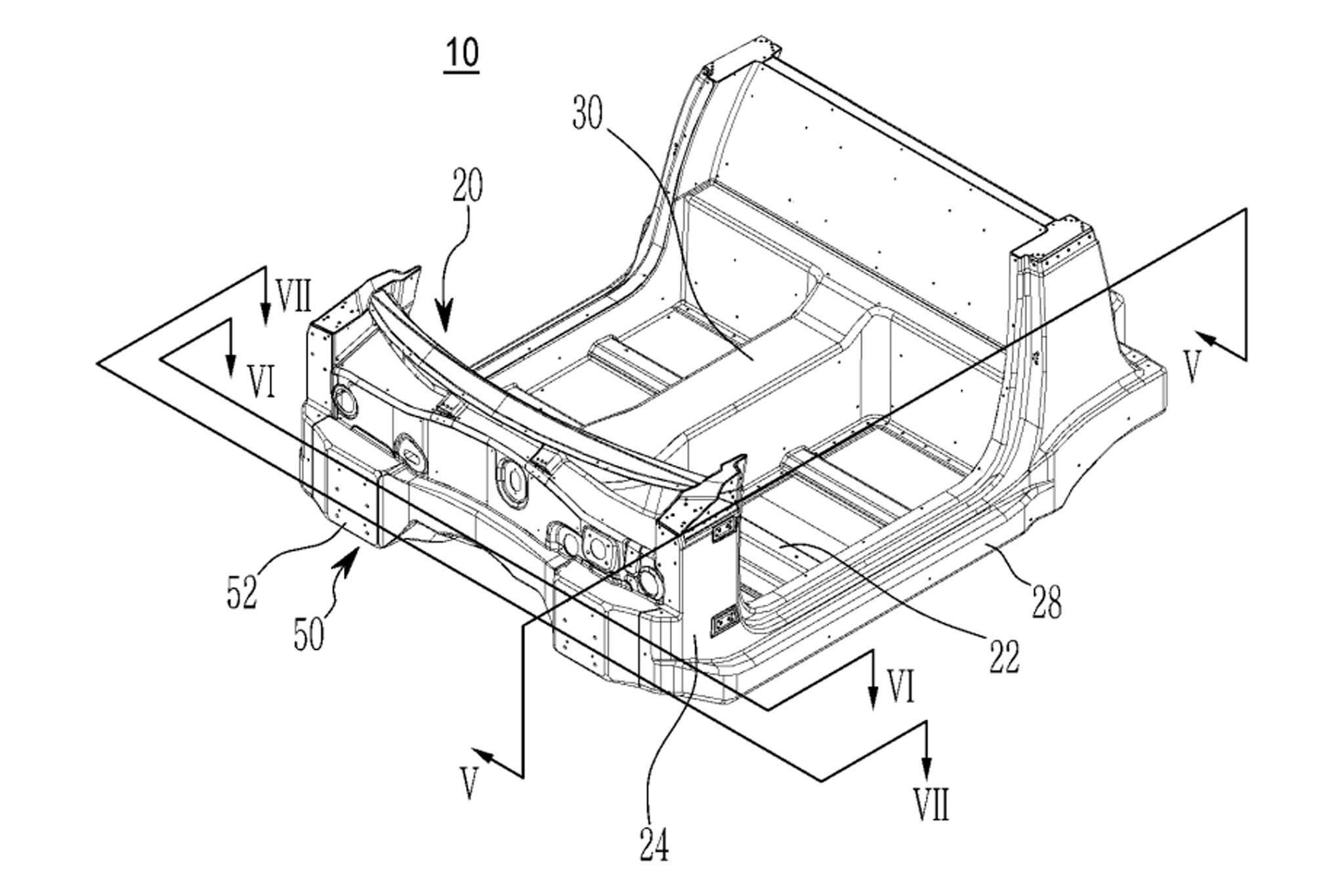
The documents describe a two-door low-slung chassis and they were published within the last few weeks. The more significant of the two details a carbon fiber reinforced plastic tub, with a tall and wide structural center tunnel. The patent document describing the tub claims that “The tunnel may mount electrical components inside therein, and [increase] the length direction strength of the vehicle body.” It also notes whatever goes in there could improve NVH performance, which is a bit of a giveaway. Batteries are a great sound deadener.


Beyond providing several angles of the tub’s design and its construction method, the first patent is light on other details. It states where fasteners go, where protrusions need to be, and other information. It gets a little more interesting with the second patent.
The individual patent items are clearly a part of the same car because—and this doesn’t happen often—you can simply combine images from the two documents to form the front half of the vehicle in question. The patents even have common credited inventors, which means the same people are working on this design.
The actual design of the chassis is very similar to other sports cars with a central structural tunnel. The C8 Corvette’s frame, for instance, looks a lot like what we’re seeing here, although that car is mostly rendered in aluminum. The Chevy also has a combustion engine in the back, of course, but it’s unclear what may be powering this particular car, besides some type of electric power. It could be a hydrogen fuel cell, hydrogen combustion, a hybrid, or a full EV. The latter seems most likely.
Other discernable details include what looks like some kind of wishbone suspension up front and some serious bracing around the engine bay. This is no doubt a very stiff, high-performance machine with two doors. There may be other patents that relate to this design from the same credited inventor(s), but they have no associated art and may not be from the same car.
I say this a lot when it comes to documents like this, but there’s a lot of smoke for no fire here. Even if this is not a production version of the N Vision 74, it’s something very interesting we want to know more about. As soon as we do know more, you’ll see it here.
Got a tip or question for the author? Contact them directly: peter@thedrive.com