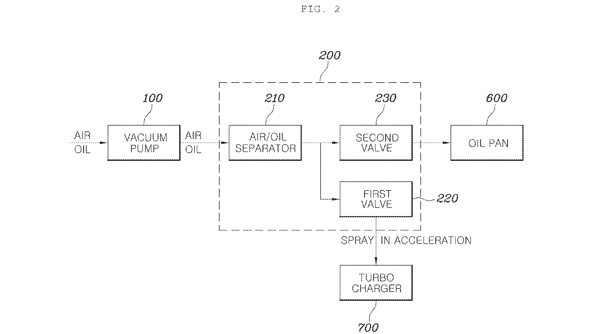
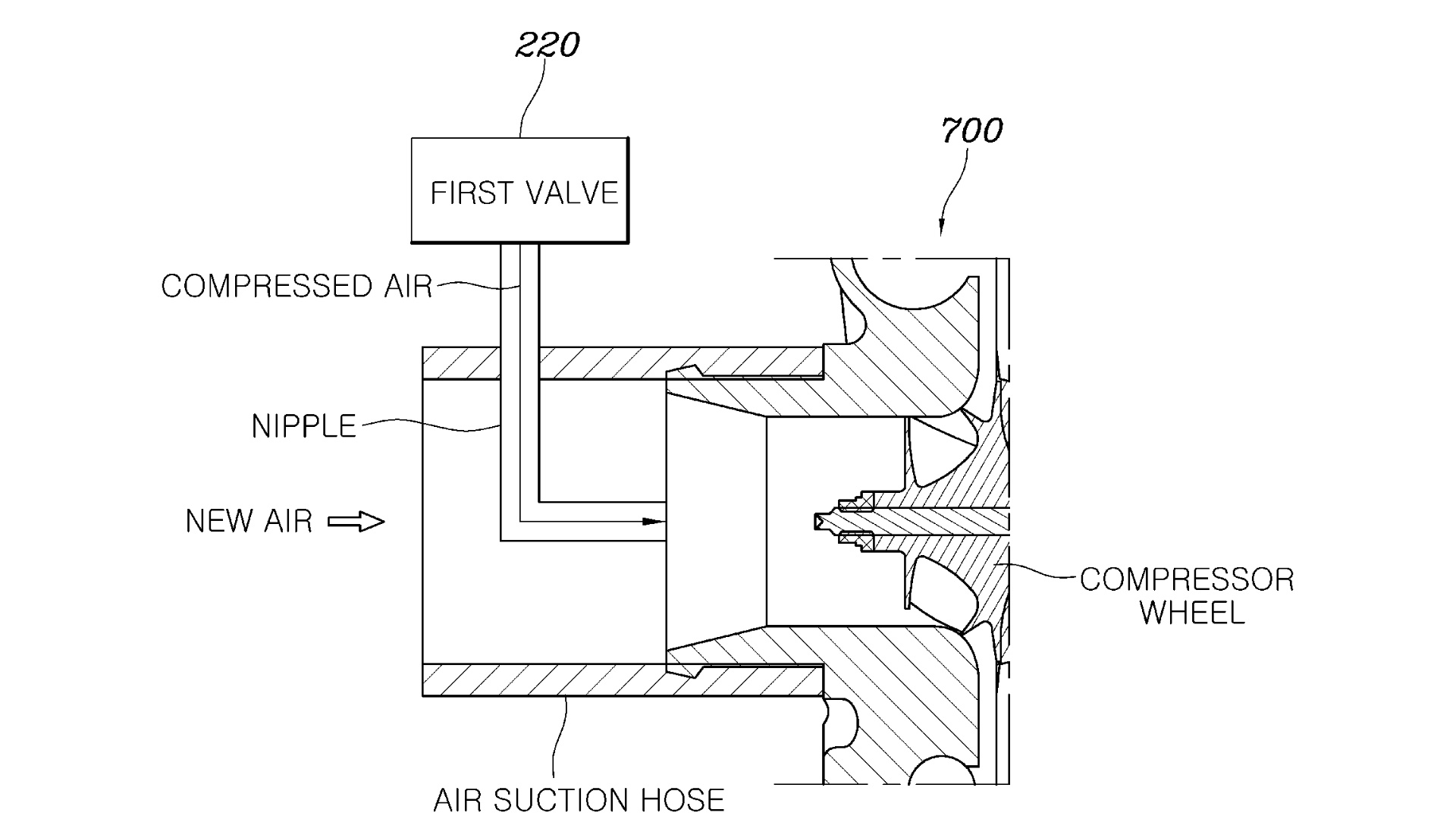
Hyundai doesn’t currently offer a diesel engine for sale in the United States, so it may surprise you to hear that the brand recently patented some interesting diesel engine technology. According to a patent published on May 20th, the Korean automaker plans to use a vacuum pump to gather pressure from the crankcase, store it in a tank, and when the driver applies the gas, release the stored pressure into the inlet, supplementing boost until the turbocharger can spool up.
This is interesting for a few reasons. The first is that crankcase vacuum pumps are capable of increasing an engine’s output by themselves—typically by 2-4%. They do so by creating negative pressure in the crankcase, allowing for better oil control and less pumping losses due to windage. The pressure gathered from the pump is usually vented to the atmosphere after the oil is separated out of it. However, what Hyundai is attempting to do is use the pressure that would otherwise be discarded in such a system.






Volvo does something similar in its diesel engines as well, although it’s not quite as smart. The Swedish brand simply uses an engine-driven air pump to fill a tank with compressed air, and then discharges it when turbo lag is occurring. It’s a bit much to correct an inconvenience like turbo lag, especially considering many Volvos already have a hybrid system on board to drive the wheels. That’s where Hyundai’s system is more intelligent. By putting a vacuum pump to work to store the boost pressure, it’s making the device work double duty.
The control logic of Hyundai’s system is surprisingly simple. If the pressure in the intake manifold is lower than the pressure in the tank—and the engine detects turbo lag is likely going on—it releases the pressure. If the pressure in the intake manifold is higher than that of the tank, nothing happens.
The only complication with this system will likely be adequately separating the oil and the compressed air. If engine oil gets into the inlet tract, it would likely end up fouling the turbocharger or being burned, both of which are bad. However, Hyundai does comment in the patent saying that vacuum pumps can help avoid oil consumption, and it’s likely they would have any oil separation issues sorted out by the time the system was ready for production anyway.
While this interesting technology was patented in the United States, there’s no news of the Korean automaker offering a diesel here anytime soon, not even in the new Santa Cruz pickup (which will likely be diesel-equipped in other markets). So, as it is with other interesting vehicles, it’s the sort of thing that we here in North America will probably have to admire from a distance.
Got a tip? Send us a note: tips@thedrive.com