Ferrari, like any good supercar manufacturer, is always looking for ways to get more performance out of its cars. Whether it’s funky new shocks from Multimatic or advanced hybrid systems coupled to ever more powerful turbocharged engines, the Italian automaker has a slew of tricks up its sleeve. One recent patent application is out of left field, though. The Maranello brand is looking into gas thrusters.
This may sound familiar to any Tesla fans out there. Elon Musk has talked about a similar system for the new Tesla Roadster and Ferrari’s concept is roughly the same. I wasn’t able to find a patent on Tesla’s system, though—at least not describing something like this so explicitly. Ferrari’s patent was also filed in late 2019, although it was only published a few days ago.
As Jason Fenske at Engineering Explained has… uhh… explained before, gas thrusters to increase the performance of a car are actually plausible. A good way to do it is with compressed air, but the pressures are huge. Ferrari’s patent states that between 700 and 900 bar is necessary, or between 10,000 PSI and 13,000 PSI. Creating such a pressure vessel to contain this immense force is surprisingly possible; hydrogen storage tanks in fuel cell vehicles already do it. That’s not the only method Ferrari suggests, however.
Let this sentence mark where the sanity ends in this patent application.


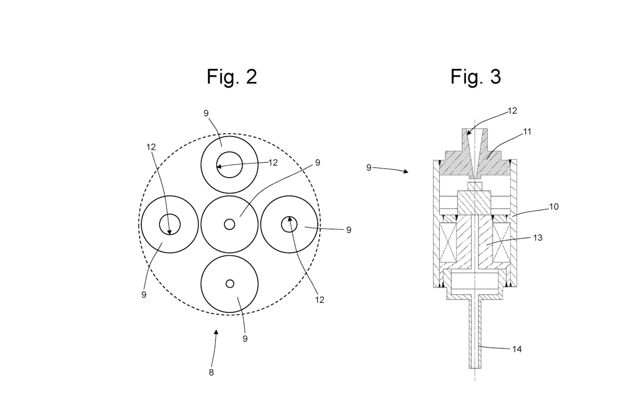
Ferrari’s system does not work like a compressed air gun you might’ve used before. Each thruster location, of which there would be a “plurality,” contains multiple nozzles. Ferrari’s documentation describes five nozzles per thruster location, each with a progressively larger orifice. The idea is that when the tank is full and the pressure is high, a small orifice can be used to get the required force, which Ferrari estimates to be around 5,000 newtons. When the tank is emptier and pressure is lower, the system switches to a larger diameter nozzle to deliver the same force, albeit with a shorter impulse. In this way, a consistent push can be achieved for a longer period of time. It’s worth mentioning that all of this flow would be supersonic and extremely loud.
The whole system, which Ferrari estimates would add just “40-45 kg” in weight, is far more sophisticated than what Elon Musk has described on Twitter. This is a patent application, after all. The thrusters are not just used to add downforce and make the car accelerate and decelerate quicker. They do that, to be clear, but they also create aerodynamic downforce by flowing large volumes of air between the vehicle’s floor and the road, which not only accelerates the car but produces downforce via the ground effect—the venturi effect—as well. It would sort of work like a fan car but without a fan.
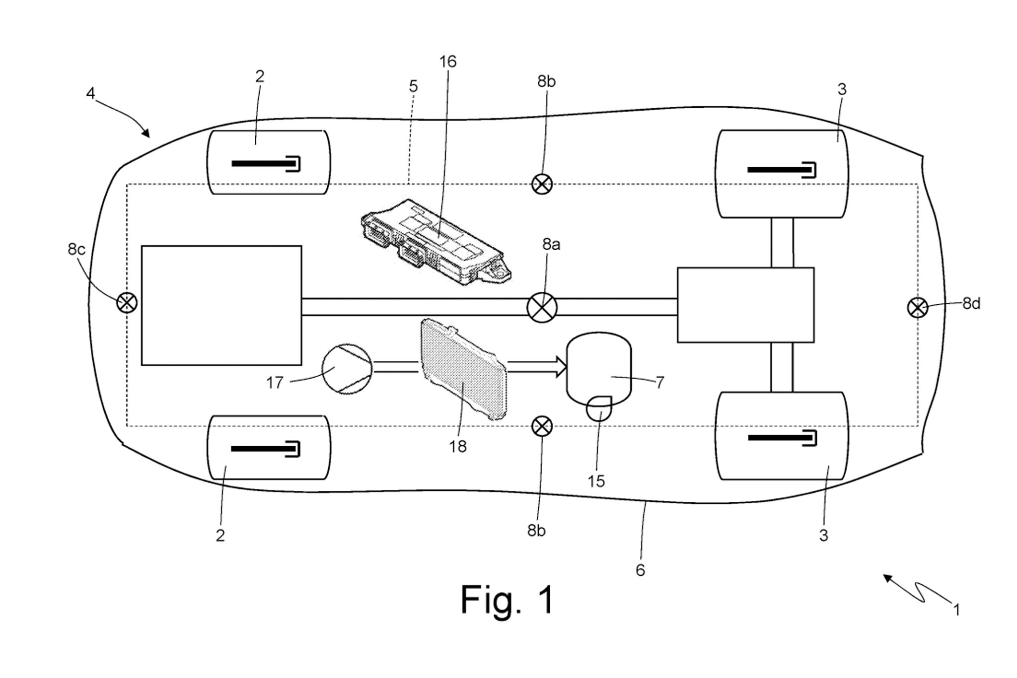
Tesla’s proposed system has been described by Musk as moving air with an electric compressor. Ferrari’s system does not do that. In one description, it uses a compressor that is mated mechanically to the front or rear axle working in concert with a heat exchanger to keep the air density as high as possible. This system allows the compressor to effectively be used as a kinetic energy recovery system. Energy from braking would be used to compress air which could be used again to accelerate the car, increase cornering speeds, etc. Wacky. Alternatively, an external filling system could also be used, although this would limit the system’s effectiveness.
Ferrari’s patent app comes to a close soon after describing all of this, but not before mentioning something Tesla is less likely to pursue. I’ll just let the patent speak for itself here. “According to a different possible embodiment, the gas pushers do not operate through compressed air… but are pulsejets, which are supplied with a liquid fuel (typically, the same liquid fuel supplying [the] internal combustion heat engine.)” In other words: no compressed air, no problem. Ferrari will just use gasoline pulsejets to create the necessary force. Yes, those pulse jets.
I double-checked to make sure this patent is real. It is. God, let it be granted to Ferrari.
Email the author at peter@thedrive.com