Rivian Patents Digital Trail Guide System for Off-Roaders to Share Location-Specific Tips

More than maps, these guides would coach novice drivers over off-road trails.
Rivian / USPTO (edited by The Drive)

From its button-less interfaces to its numerous software-based features, Rivian takes off-roading into the digital age. Traversing different kinds of terrain just involves switching drive modes via the touchscreen—no shifting into low range or flipping diff-lock switches required. A newly surfaced patent filing shows another way Rivian is looking to make off-roading more accessible for novice drivers.

Instead of further improving the drivability of the vehicles themselves, this idea could compensate for a driver’s unfamiliarity with a certain trail or lack of a spotter. Described in a filing with the United States Patent and Trademark Office (USPTO) published January 20 of this year (but filed by Rivian in 2022), it’s a “virtual off-road guide” that would use data from vehicles that have previously covered a given trail to adjust settings and coach drivers through the same stretch.

Each guide would be based on “trace parameters” from another vehicle. These could include traces of its positioning on the trail, location data, and vehicle parameters like ride height, drive mode, regenerative-braking level, steering angle, acceleration, and torque output. These data could be uploaded to an online portal for other drivers to access.

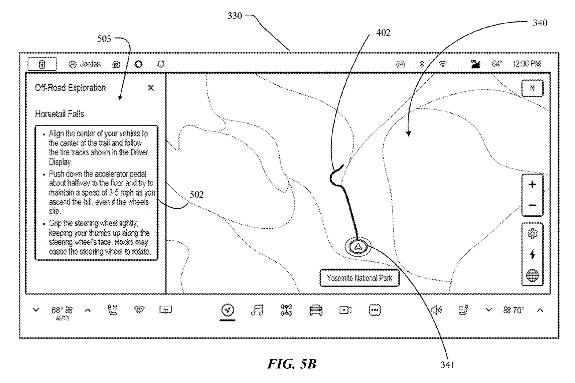
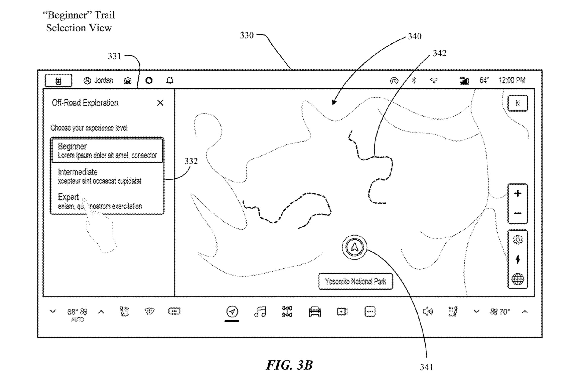
When drivers reach a trail that’s been scouted by another vehicle, they would select from experience levels like “Beginner,” “Intermediate,” and “Expert,” according to the patent filing. The vehicle would also switch ride height, regen, and drive mode settings to match those in the guide. Driver-assist systems could also be looped in to provide some help with steering or accelerator-pedal control.

But that’s not all. Drivers could also get messages on the dashboard screens telling them to maintain a certain speed up a hill, or how best to ford a stream. These could include general tips like keeping your thumbs out of the steering wheel spokes, to more specific instructions, like keeping the right pedal depressed about halfway to the floor while climbing a hill with a loose surface.

Like other patented ideas, this one isn’t guaranteed to reach customers. If nothing else, it relies on other Rivian owners with more off-roading skills to share data that can form the basis of these guides, or for Rivian itself to create said data in much the same time-consuming way as companies map roads for hands-free driving systems.

Got a tip? Send it in: tips@thedrive.com

Stephen Edelstein

Weekend Editor

Stephen has always been passionate about cars, and managed to turn that passion into a career as a freelance automotive journalist. When he's not handling weekend coverage for The Drive, you can find him looking for a new book to read.