Rivian/USPTO
Rivian/USPTO
Rivian has just patented a very cool and practical pickup truck accessory idea for the R1T. You know how tonneau covers are basically retractable awnings that pull out to cover a truck bed? Well, if such a cover had compatible mounting points on the roof as well as the bed, it could do double duty as a camp awning, covering your cargo while you’re driving, and then make shade for people when the truck is parked.
The patent Rivian filed with the U.S. Patent Office in May covers various specific details, but the meat of the product description is this:
“…the multi-purpose cover may adaptably operate in the first configuration as a tonneau cover to extend and retract to protect the cargo area of the vehicle and the driver or owner’s cargo from environmental elements … and, alternatively, operate in the second configuration as an awning to provide the driver or owner shade and shelter…”



I dropped Rivian’s PR people a line asking for details. They probably will not comment on a future product, but we’ll update the story if they share anything interesting.
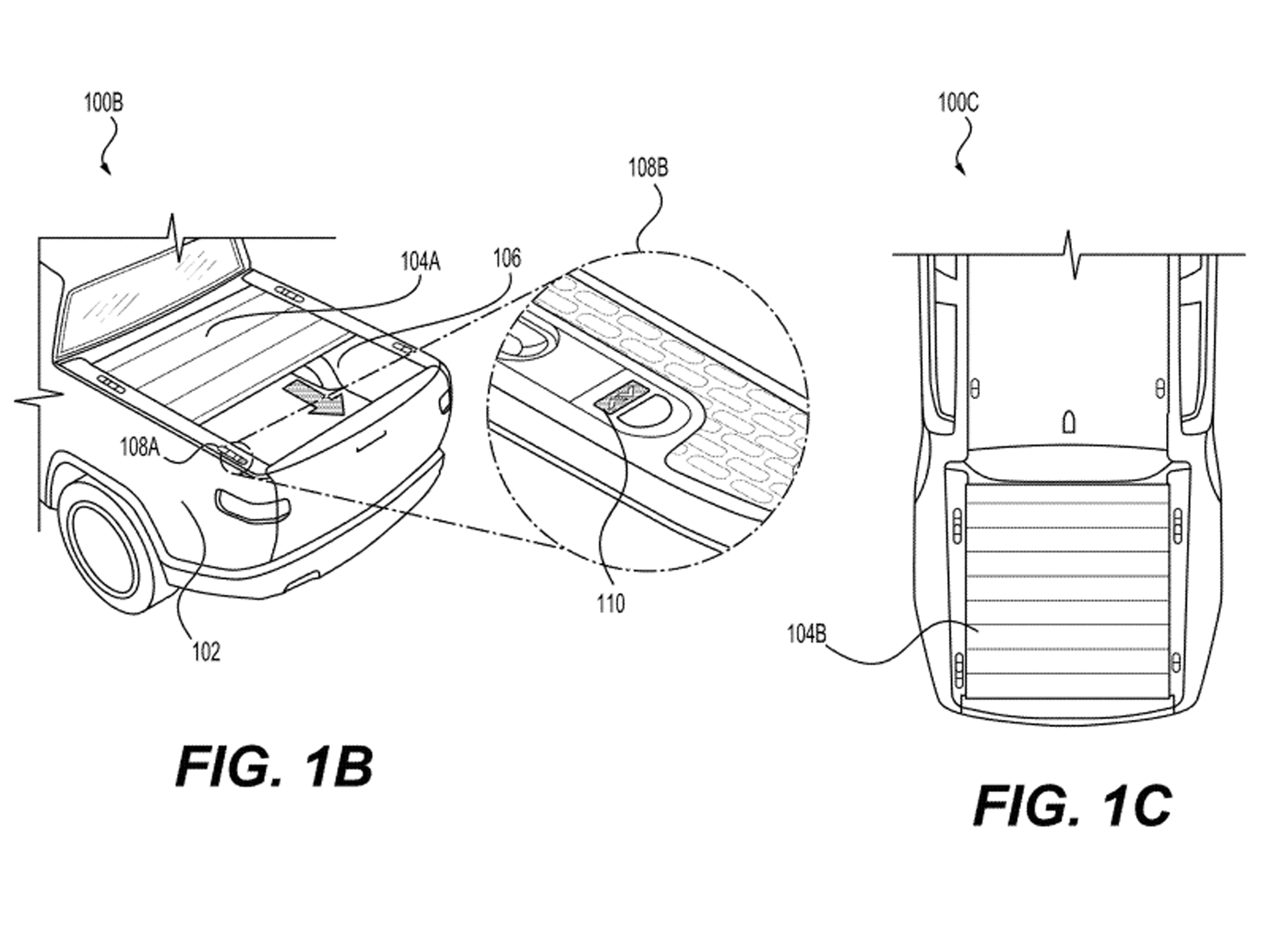
Images of Rivian’s existing tonneau cover for the R1T pickup give us some hints about what this new accessory might look like, though. The current cover can fold into a neat little bag that then slides into the gear tunnel, that little extra cargo hold that’s one of Rivian’s most practical novel features.




Roof-mounted retractable awnings have been around forever, and they got a popularity surge when everybody started going crazy for overland accessories circa 2020. When I was off-road guiding in Australia around 2012, we would just hang a tarp between a couple of vehicles during lunch breaks. But these days you can easily find quick-deploying high-end units that float over your campsite, like the Kammok Crosswing:

If you haven’t seen a truck awning, that image above should be all the context you need.
According to the drawings and description in the patent, Rivian’s awning/tonneau combo would have support poles while in awning mode. But, if the company’s plans come true, it looks like they’re working out how to make it extend and retract electronically while it’s in tonneau bed-covering mode, which would be pretty trick.
This seems like a great idea to me. Why lug around two accessories that are basically the same thing—an engineered tarp—when you wouldn’t need them both at once? Well, except, I guess, if you wanted shelter during a lunch stop in the rain. Then you’d have to pick between a dry picnic area or a dry bed cover. Still, the only real downside of this idea that comes to my mind is that the Rivian R1T pickup truck’s bed is not exceptionally large. A tonneau cover would be about 55 inches long and 51 inches wide. That’d be a viable shelter, but not the most luxurious one.
In the patent drawing, it appears that the gear tunnel door allows for side access to the bed, but I suspect that’s just a byproduct of the image being more conceptual than practical. Being able to grab this cover from the side would make it easier to remove and hoist up onto the roof, but if you look at this cutaway of the R1T’s body, you can see that the gear tunnel is isolated from the bed and altering that would require significant changes to the truck’s structure. Possible, but a lot more complex than a dual-purpose sun shade.

Here’s hoping Rivian goes through with plans to actually make this thing, because it’ll be tough for the aftermarket to step up now that Rivian’s planted its flag with the patent.
Got a tip? Send us a note at tips@thedrive.com