Rivian Patent Reveals Slide-Out Camp Kitchen for R1S

The R1S lacks the R1T's Gear Tunnel, so this kitchen takes up trunk space.

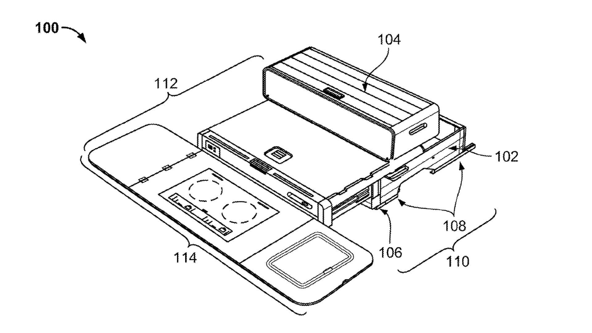
Rivian made splashy headlines when it first debuted its R1T pickup truck, with its clever Camp Kitchen option. In the R1T, the Camp Kitchen slides out of Rivian’s famous Gear Tunnel, the tunnel-like storage area between the truck’s bed and cab. However, since the Rivian R1S SUV lacks the Gear Tunnel, it also lacks the Camp Kitchen. But maybe not for long.

A member of RivianForums found a patent filing, showing off a Camp Kitchen design for the R1S’s rear cargo area. The patent drawings seem to show a kitchen setup similar to the R1T’s but it slides out of a compartment on the floor of the trunk, which means it takes up cargo space, which is a bummer. The coolest part about the R1T’s Gear Tunnel kitchen was it didn’t take up any typically used space in either the bed or the cab.

However, Rivian no longer sells the Camp Kitchen option for the R1T. Earlier this year, Rivian sent out a letter to customers, saying that it was temporarily removing the kitchen option, as it was updating the design. Could this be that new update? As some RivianForum members point out, Rivian could be streamlining the Camp Kitchen design by making one design for both the R1S and R1T, in the trunk and bed, respectively. That would reduce manufacturing costs and potentially get the option back into the R1T quicker.

There’s obviously no word on pricing, nor is there even any guarantee that the R1S gets this Camp Kitchen design. If it does, though, expect it to be priced around $6,000, as that’s what the option was for the R1T. Though, at the same price, the new design wouldn’t be as good of a value, due to its space-eating size.

If you’re going to take up precious cargo space, why not just bring an induction burner and plug it into the truck when you want to use it? The Camp Kitchen comes with high-end cookware and cleverly designed storage, so it does minimize the storage necessary for an outdoor kitchen. But its potentially high cost and reduced cargo capacity has Rivian customers second-guessing the need for a kitchen in the R1S.

Got tips? Send’ em to tips@thedrive.com

Nico DeMattia Avatar

Nico DeMattia

Contributing Writer

Nico is a writer and reviewer who combines all of his nerdy knowledge to talk about cars and hopefully cause a few laughs along the way.