Range anxiety can be a real thing for both new and seasoned EV owners. It sets in for those who road trip often or live in more rural areas where the location of the next charger might be an unknown variable. It can also be a big worry for those looking to take their EV off the beaten path where a charger may not be available, period.
Ford’s proposed solution to all of that charging uncertainty? According to a newly filed patent application—which, interestingly, shows an illustration of a Ford Bronco—the answer is a high-capacity, roof-mounted battery pack. It sounds like a good idea, but only for about two seconds until the drawbacks become glaringly obvious.



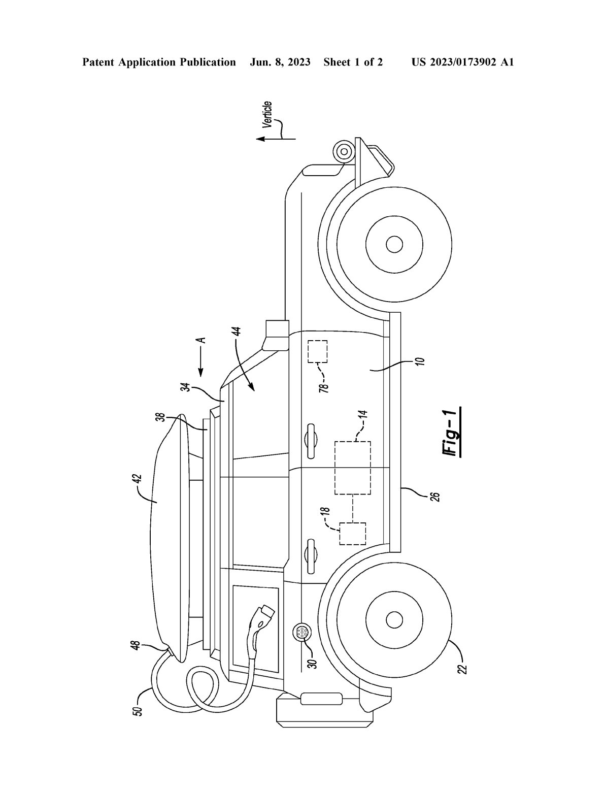
The patent app was discovered by the folks over at the Lightning Owners forum. In the text, Ford describes the invention as a removable battery pack that is mounted to the top of an EV. The pack’s primary use would be a backup battery meant to recharge the vehicle should its original pack need topped off when an external charger isn’t available.
Ford makes several references to the availability of chargers being a key factor in the pack’s usefulness. Specifically, it mentions that owners may be reluctant to drive an EV in remote areas that lack charging stations. It also calls out off-roading vehicles as making use of the pack, which is a valid concern for those who want to take their new EVs overlanding. Rivian has also thought of this problem and while it did patent a removable battery pack, it also designed its Adventure Network of charging stations around trailheads to solve the problem.
Now, the Blue Oval did at least go through the trouble of concealing the battery pack by shaping it like a traditional roof-mounted cargo box, so it’s not like the backup battery looks out of place. However, that doesn’t mean that it’s all that practical.



The most obvious problem with the battery is the weight. EV batteries aren’t exactly light—even a moderately sized battery pack can weigh hundreds of pounds. By mounting the battery on the roof, the center of gravity is transferred way up high, and for those looking to actually off-road their EV like Ford suggests in this patent, a high center of gravity is pretty counterintuitive. Plus, imagine trying to lift a 500-pound battery onto the roof of your truck or SUV.
Another concern would be the cost of the battery pack. Most automakers keep their cost per kilowatt-hour a secret; however, the EPA estimates that battery packs cost automakers around $153 per kilowatt-hour in 2022. That would mean that a 25-kWh backup battery pack could cost around $3,800.
Lastly, mounting a big brick made of batteries on the top of your car isn’t going to be great for efficiency. EV makers pride themselves in building slick vehicles, and it’s not just for looks. The ability to slice through the air with minimal resistance is one of the many keys to efficiency, so strapping something to your vehicle’s roof isn’t the way to do that.
While Ford’s proposal seems like a good idea on the surface, it doesn’t exactly scream practicality. America’s charging networks are getting better by the day, but that doesn’t account for off-road vehicles, a problem which Ford gets kudos for at least attempting to solve. All that said, a heavy, high-mounted battery pack isn’t the answer drivers are looking for.
Got a tip or question for the author? Contact them directly: rob@thedrive.com