Everyone’s been waiting for a new rotary-powered Mazda since the RX-8 bowed out in 2012. Mazda itself even built an RX-Vision Concept that many believed would preview an eventual RX-9; that was way back in 2015, though, and we still haven’t seen anything like it enter production. The car world had more or less accepted that rotaries would only have a future as EV range extenders—that is, until Friday when a patent application was unveiled showing what looks like a hybrid rotary engine that drives the rear wheels.
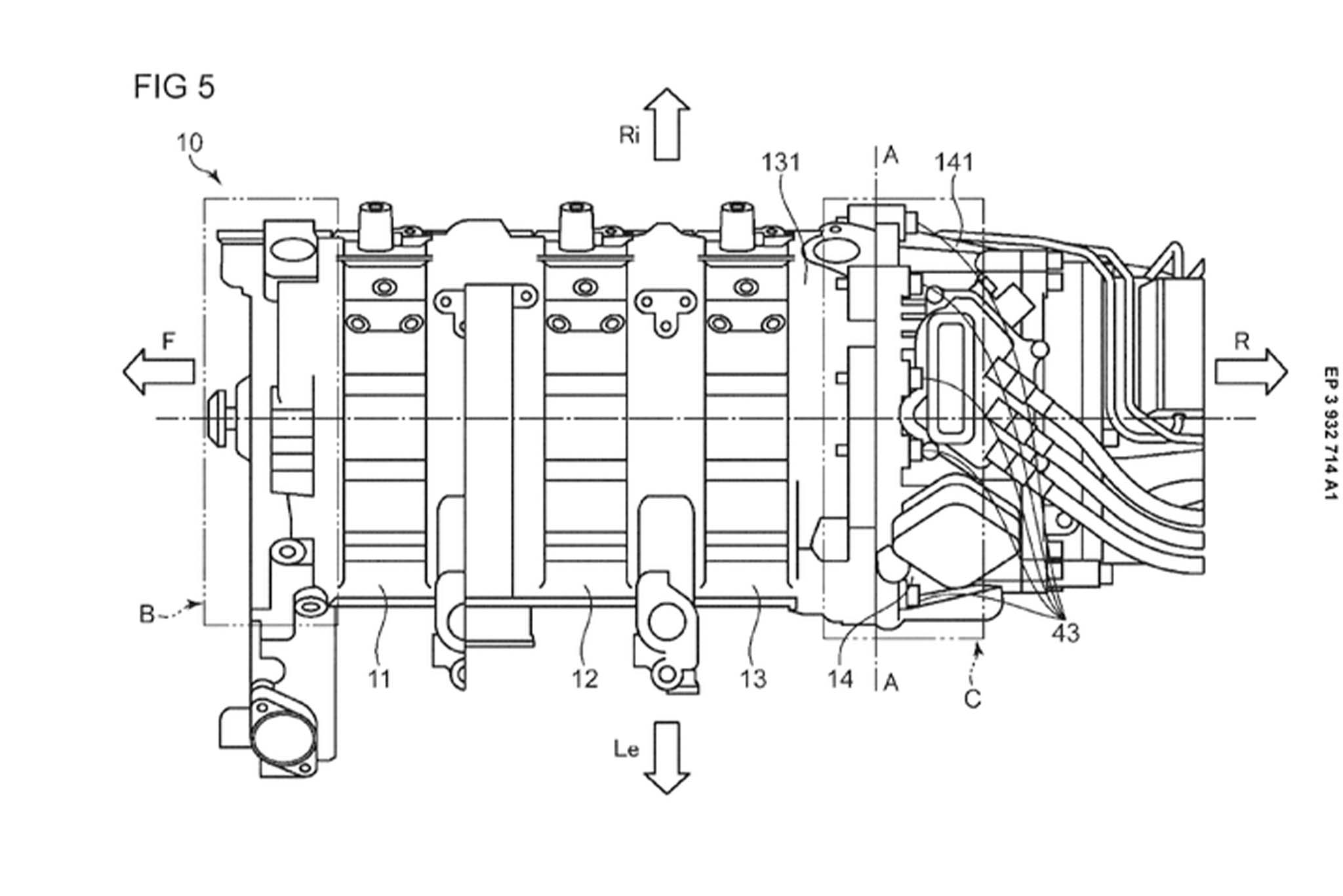
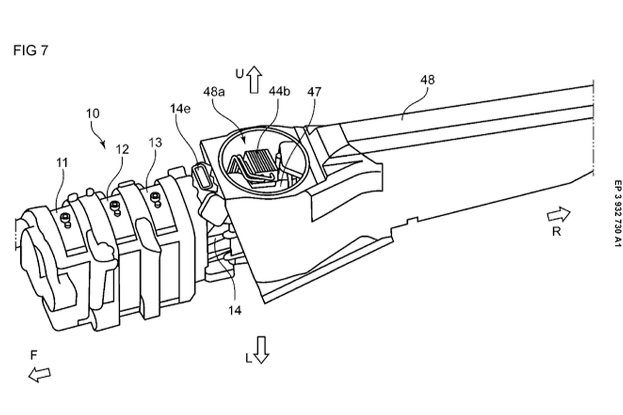
Detailed patent drawings from Europe were published on a Japanese Hatena blog, which pointed out key details that hint this may be a three-rotor engine. Indeed, there are what look like three spark plug holes and three rotor housings, so it would likely be pretty potent. Factor in the electrification aspect and it’s doubtful anyone would call it underwhelming like they did with the naturally aspirated RX-8.






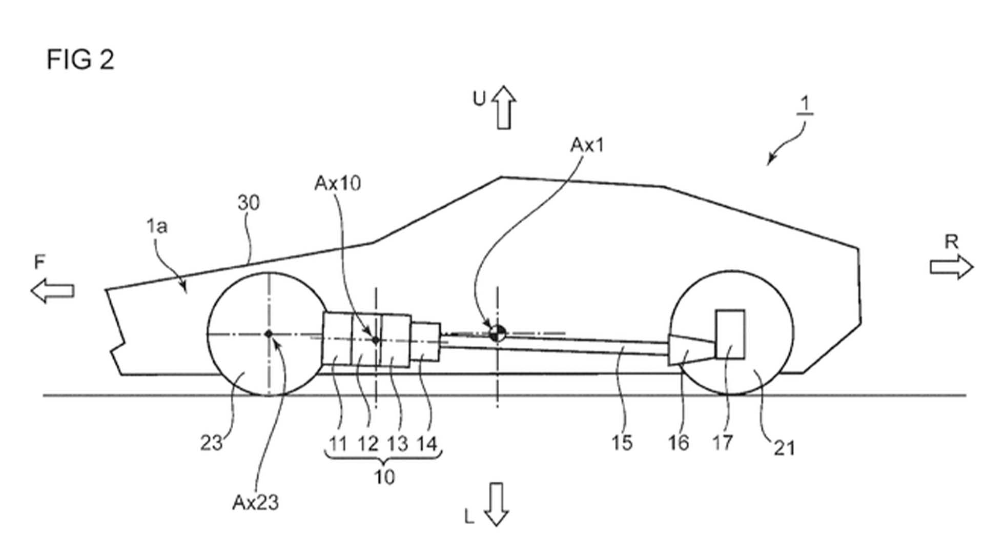
Importantly, these patent illustrations show that the engine is connected to the rear wheels via a traditional driveline. This is crucial for enthusiasts who want to see the spinning Dorito exist outside of drab crossovers that are driven by electric motors instead. It also indicates that another performance model may be on the way to join the MX-5 as Mazda’s crossovers are going for smooth, six-cylinder power—not peaky rotary output.
The Mazda3 is currently Mazda’s only car aside from the Miata that isn’t a crossover. The automaker even constructed a new large vehicle platform that makes room for hybridized power plants, one that’s rear-wheel-drive-based with flexibility for all-wheel-drive as well. This could fit that architecture well.

It’s all speculation at this point and, indeed, just because Mazda applied to patent such tech doesn’t mean it’ll make production. We’ve seen this time and again with all types of outlandish concepts from automakers. Instead, this could be Mazda simply protecting its ideas for potential future use—gotta cover your bases.
Then again, we can’t help but dream.
Got a tip or question for the author? Contact them directly: caleb@thedrive.com