Tesla is working on a new kind of clamping assembly method that would, as the newly published patent explains, provide the manufacturing process of Tesla vehicles with more flexible body panel adjustments and the ability to more easily reconfigure them during assembly.
The patent, titled “Clamping Assembly for Securing Together a Pair of Adjacently Located Panels,” was filed last April and published on Thursday. Should the methods described therein be implemented as described, any unintended gaps between a Tesla vehicle’s panels could be easily aligned without the need for time-consuming removal or starting over.
The company’s patent explains that traditional clamps, which typically connect body panels to the car frame, are an imperfect method for Tesla’s unique design choices.
“Although (conventional clamps) can be used to secure adjacently located parts to one another, the clamp does not account for parts that have large manufacturing tolerances or parts that must not be fixed in at least one direction (that is there must be gaps between the parts),” the patent reads. “Attempting to use a traditional clamp to secure two parts that must have some play between them may introduce unsightly gaps and/or overlaps between the parts, reducing the aesthetic appearance upon assembly.”
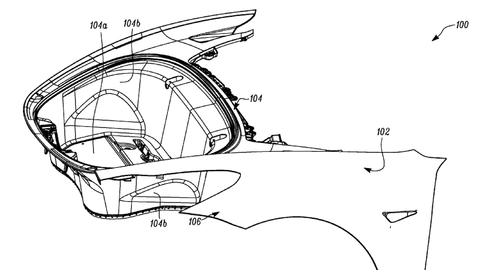
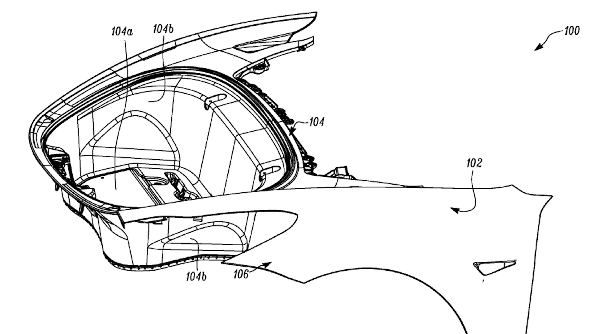
The patent does provide an example of a specific instance where this new clamping assembly system would come in handy, but let’s take a look at the accompanying illustrations first.


“For instance, the clamping of an electric vehicle’s front-trunk space (or ‘frunk’) formed from a plastic to a fender or another adjacently located panel requires a degree of freedom to allow the panel and the frunk to move relative to one another in at least one direction during assembly,” the patent states. “However, traditional designs of clamps are not well suited to this or similar applications.”
For the purposes described in the document, Tesla’s new patent certainly seems like it’d provide its manufacturers with far more practical leeway to implement the company’s design choices without the frustrating assembly issues it’s currently facing. While we’ve reported on misassembled panel issues coming out of Tesla factories before, this seems like a more wide-scale endeavor to make the future its overall assembly process run more smoothly, and allow for more design choices to actually be feasible.