4007 Results From "honda"

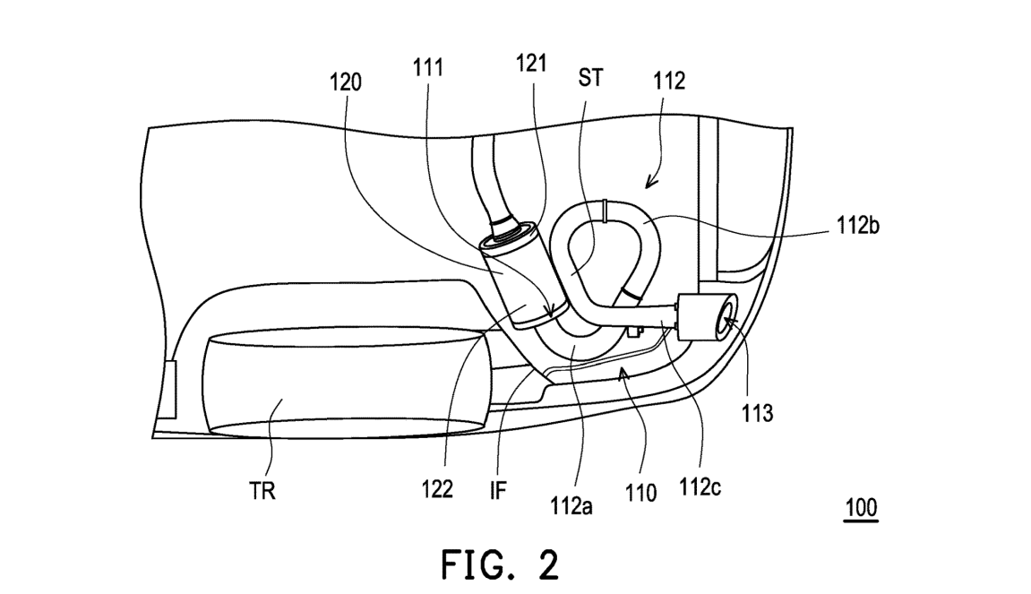
Curly Fries: Honda Filed a Patent for a Spiral Exhaust
Honda News

Curly Fries: Honda Filed a Patent for a Spiral Exhaust

2023 Honda Pilot TrailSport Review: A Great Grocery Getaway
Honda Pilot

2023 Honda Pilot TrailSport Review: A Great Grocery Getaway

Honda Sports EV concept
Honda News

New Honda Sports Car May Debut This Year, Executive Hints

Honda Diving Back Into F1 as Aston Martin Engine Supplier in 2026
F1

Honda Diving Back Into F1 as Aston Martin Engine Supplier in 2026

Acura NSX and Nissan GT-R side by side
Acura News

Nissan Exec Says Co-Developed Nissan GT-R and Acura NSX Could Work

2023 Honda Accord Is the Only Mid-Size Sedan to Score Straight ‘Good’ in Rear Seat Safety: IIHS
Honda News

2023 Honda Accord Is the Only Mid-Size Sedan to Score Straight ‘Good’ in Rear Seat Safety: IIHS

Acura ZDX side profile image.
Acura News

Dead: Acura Kills Off ZDX EV After Less Than 18 Months

This Honda Civic Si Safari Build Is a Questionable but Very Fun Summer Toy
Honda News

This Honda Civic Si Safari Build Is a Questionable but Very Fun Summer Toy

Why the Time for Tiny EVs in America Is Now
Honda News

Why the Time for Tiny EVs in America Is Now

Honda S2000 CR experiencing oversteer
Honda News

There’s No Such Thing As Snap Oversteer

You Must Visit Honda’s Magnificent Car and Bike Collection Before You Die
Honda News

You Must Visit Honda’s Magnificent Car and Bike Collection Before You Die

Italdesign NSX 1
Acura News

The Acura NSX Is Back From the Dead With an Official, Ultra-Limited Redesign

Check Out T-Pain’s Sweet 1994 Honda Accord in Person in Atlanta This Weekend
Builds

Check Out T-Pain’s Sweet 1994 Honda Accord in Person in Atlanta This Weekend

Acura NSX Type S in grey.
Acura News

Acura Confirms Pivot From Full EV Lineup, Expect More ICE and Hybrids

2023 Honda HR-V: Will It Dog?
Honda Reviews

2023 Honda HR-V: Will It Dog?

TOKYO, JAPAN - JANUARY 12 : Akio Toyoda, Chairman of Toyota Motor Corp. makes a presentation during the Tokyo Auto Salon at the Makuhari Messe Convention Center in Chiba Prefecture, Tokyo, Japan on January 12, 2024. (Photo by David Mareuil/Anadolu via Getty Images)
Nissan News

A Toyota-Nissan Alliance Would Be a Disaster Waiting to Happen

Stylized image of car on a sales chart.
Car Buying

Q4 Auto Sales Numbers Are Going to Be Rough

Nissan GT-R rear three-quarter view
Nissan News

Nissan Shares Rise on Blind Hope That Tesla Wants Anything to Do With Them

Honda’s Manufacturing Situation Is a Complete Mess Right Now
Honda News

Honda’s Manufacturing Situation Is a Complete Mess Right Now

Toyota president Akio Toyoda gives a thumbs up as he speaks during a briefing on EV (electric vehicle) battery strategies at the companys showroom in Tokyo on December 14, 2021. (Photo by Behrouz MEHRI / AFP) (Photo by BEHROUZ MEHRI/AFP via Getty Images)
Nissan News

Toyota Chairman Says Nissan Never Asked Toyota About a Merger