One of the biggest fears that any potential EV buyer will face is the dreaded range anxiety; worrying if the vehicle will complete a trip without running out of juice before it can reach a charger or its destination. A patent application filed by Rivian, the new electric automaker making waves in the EV startup industry, appears to be tacking this anxiety head-on by introducing a series of modular battery packs which are designed extend the range of its vehicles, such as its upcoming R1T pickup truck.
The patent application, originally uncovered by the staff at Rivian Forums, is titled “Electric Vehicle With Modular Removable Auxiliary Battery With Integrated Cooling” and describes removable battery packs which can be stored in the bed of a pickup truck. Auxiliary connectors for coolant and power are said to be made available from the rear of the truck’s cab in order to properly utilize the extra cells in the packs.

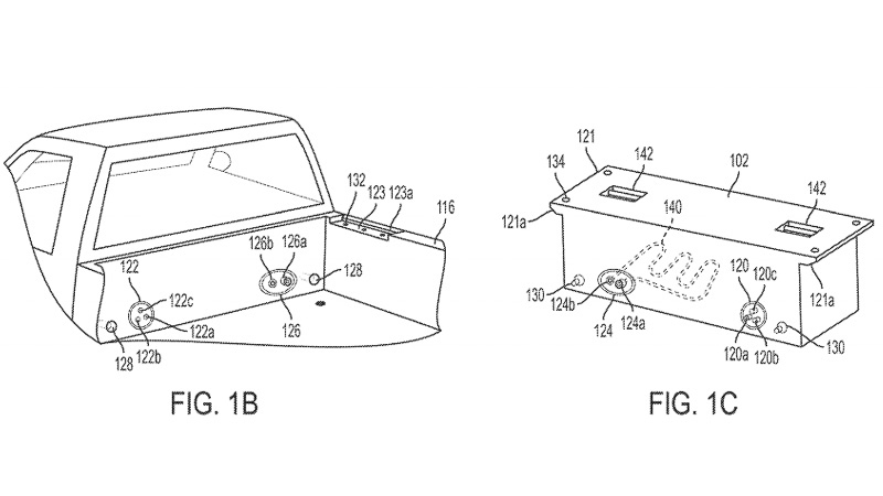
Rivian describes two different battery pack form factors in its patent application. The packs, referenced as “102” and “202,” describe both horizontal and vertically-mounted battery packs; both of which are installed into the bed of the truck and used for the same purpose.
Pack 102 is mounted vertically, similar to a toolbox that would sit in the bed of a work truck. After being set in place, a fastening mechanism (like a bolt) could be used to secure the battery pack in place. This configuration leaves the depth of the bed untouched, but would reduce the overall usable length of the bed.
Pack 202 is mounted horizontally along the bottom of the bed and would appear to act similarly to a false floor. It would utilize the same modular connections as pack 102, but be oriented in such a way that the length of the bed is left untouched and instead reduces the overall usable depth.

Rivian also describes utilizing the packs in parallel. One could place multiple 102 packs across the bed horizontally and utilize modular connections for electricity and coolant flow, or stack the 202 packs on top of one another in order to achieve maximum range. The patent application does not describe using both a 102 and 202 pack simultaneously.
One caveat is that it doesn’t appear that the packs are meant to be removed and installed frequently at home by the average Joe—most likely due to size and/or weight. Rather, it seems to be meant to act as an industrial or semi-permanent range extender that requires a hoist (or forklift) to set in place.
Rivian as a whole seems to be taking the “adventuring” vehicle route a bit more luxuriously than startup Bollinger Motors, all while maintaining a level of innovation that addresses some very real issues with the battery technology of today. Investors seem to agree, considering the automaker recently received a funding round worth $700 million lead by e-commerce giant Amazon.
When questioned about the patent application, a Rivian spokesperson told The Drive that the automaker does not comment on patents.