Curly Fries: Honda Filed a Patent for a Spiral Exhaust

In pursuit of extra efficiency, Honda wants to make its proposed spiral exhaust pull double-duty as a splash shield.
Honda

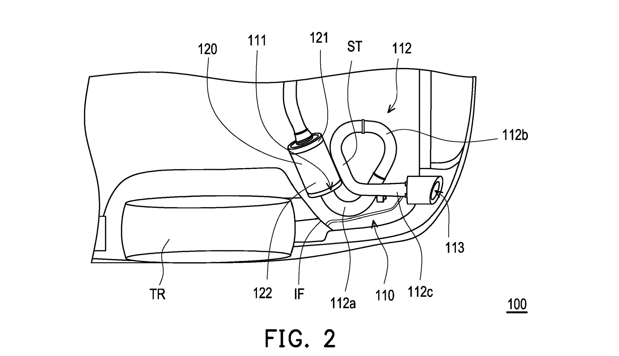
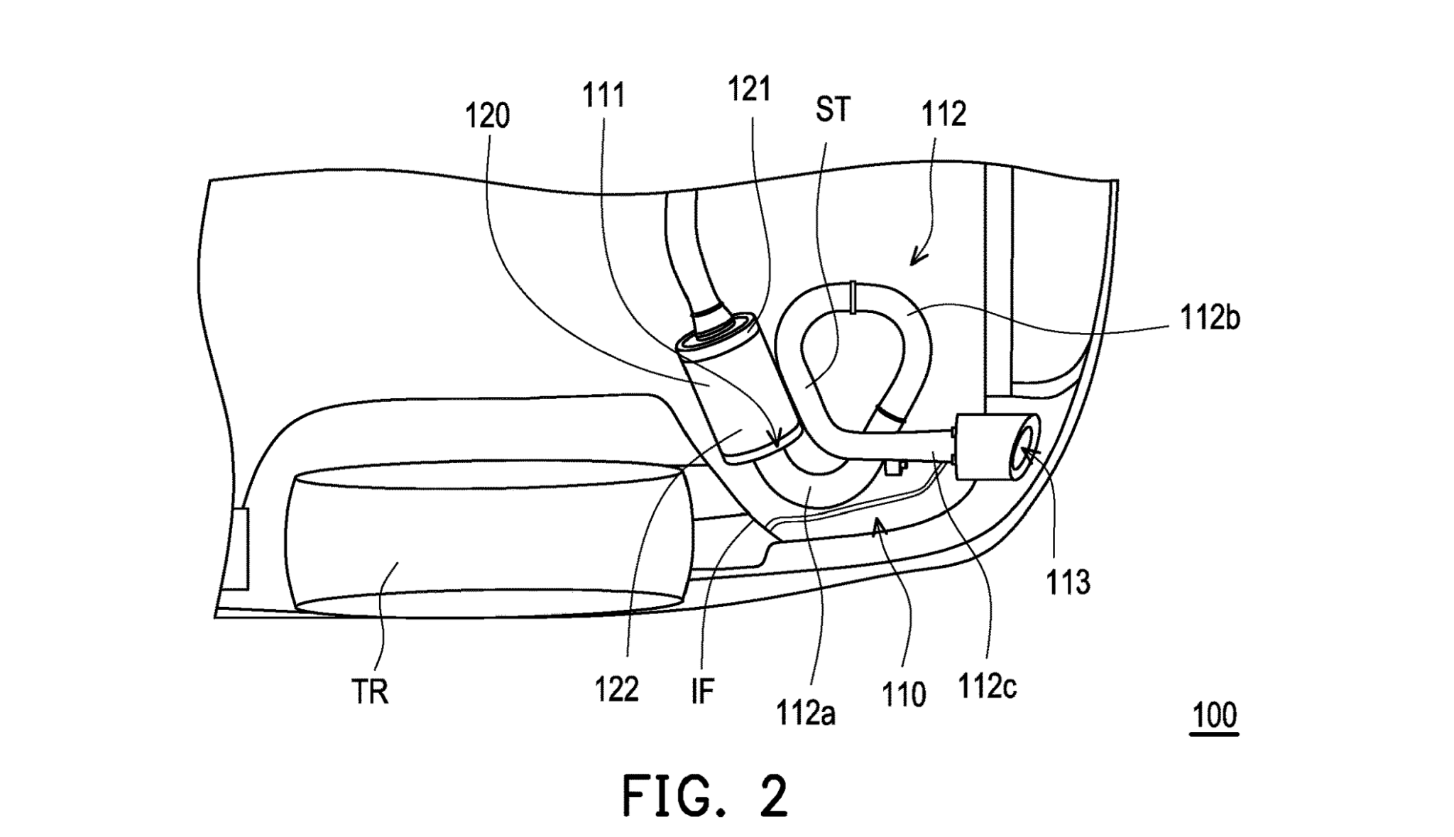
Automakers are in constant pursuit of efficiency. Not just fuel economy, but efficiency in parts, costs, materials, and finding as many possible purposes for one single part. In that pursuit, Honda has filed a patent for a spiral exhaust pipe that will work as an exhaust and a splash guard.

In the patent originally reported by Carbuzz, Honda proposes a spiraled section of exhaust where there would normally be a muffler. The patent also shows a muffler within the spiraled section, and looks largely like a curly fry at the back of the car. Interestingly, the muffler section looks like it will be mounted in such a way that it could play double duty as a splash guard instead of a plastic panel or a mudflap. Though in other images in the same patent filing, it’s quite out of the way and possibly couldn’t serve that purpose.

Ekaterina Gorbacheva

The text of the filing explores the possibilities of saving money and environmental cost on materials by using the exhaust pipe for two things, but also concedes that the pipe may need a splash cover made of lightweight material so that the pipe doesn’t deform from cold water hitting the hot metal. According to the filing, the muffler is able to take the brunt on any water splash

Also, the patent filing looks identical to the exhaust design that is used on the current Honda Civic Si, which Honda claims was for increased flow while providing more optimized muffling. Currently, it’s only present on the Si, and the curly fry design is good for 27% more exhaust flow. Also, the mufflers are exposed to water splash on the Si while having a slightly smaller rear splash shield to compensate. 

Honda has had the tech on the Civic Si for a couple of years but it looks like it wasn’t patented until now. Hopefully, this has unraveled the spiral mystery of the coiled Honda exhaust.

Got a tip? Email tips@thedrive.com

Chris Rosales Avatar

Chris Rosales

Contributor

Chris Rosales is a former staff writer for The Drive. He covers a myriad of topics, mostly focused on the technical side of automobiles as well as performance driving and automotive history. Born and raised in Los Angeles, he frequents the Southern California canyons and car culture.