VW Could Eliminate Turn Signal Stalks Like Tesla

A recent patent application suggests that VW might drop stalks and move all their functions to the steering wheel.
Volkswagen

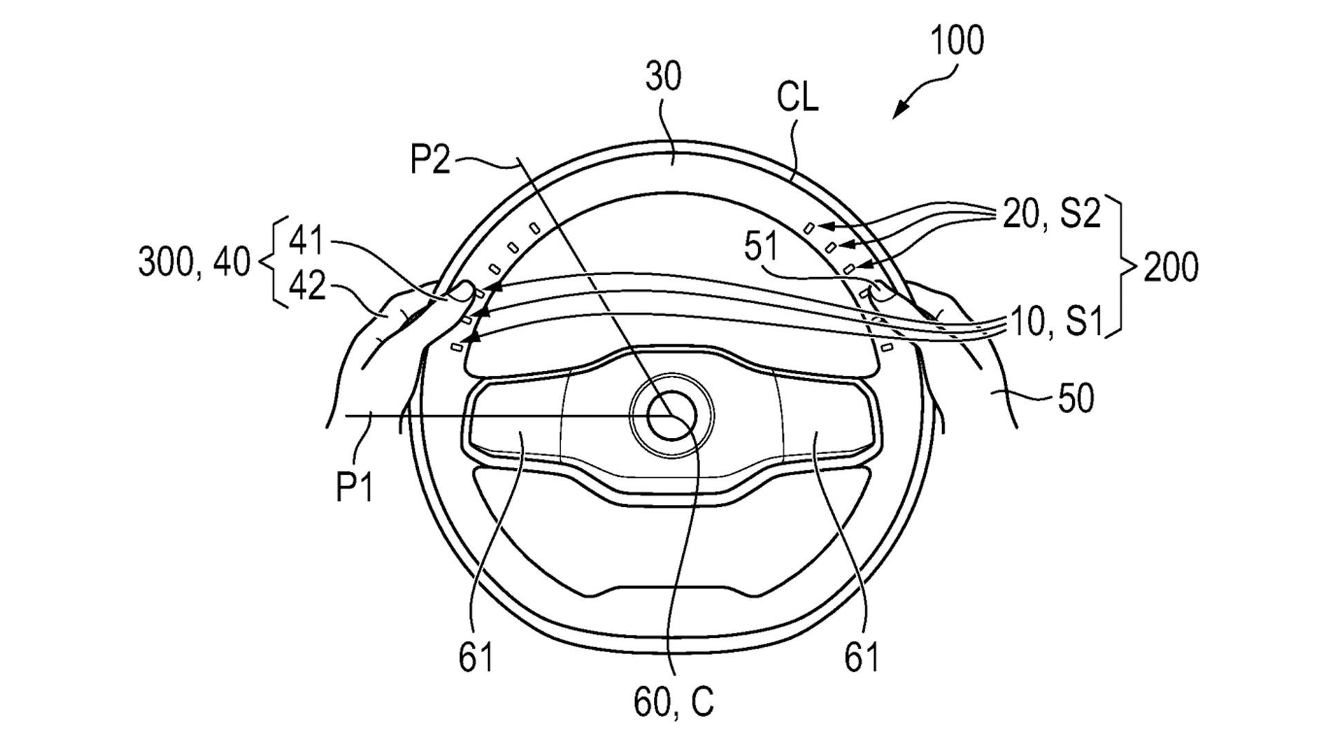
German automaker Volkswagen is investigating removing blinker stalks from its vehicles, similar to Tesla’s approach in some of its cars. Controls for the turn signals would be moved onto the steering wheel as opposed to having their own dedicated control area. If VW is looking into this for the same reason as Tesla, it’s likely being done to streamline vehicle manufacturing.

VW’s plans currently exist in the form of a brief patent application which was first uncovered by Car Buzz. It doesn’t offer much detail, only noting that controls wouldn’t be on the spokes of the steering wheel like Tesla, but mounted to the inside of the wheel itself. It does say that these controls wouldn’t necessarily be physical buttons, though. They could simply be touch-sensitive surfaces that offer some manner of haptic feedback.

Volkswagen

Other automakers have removed blinker stalks before Tesla, notably Ferrari. The Italian brand did so to make room for large stationary shift paddles. Volkswagen’s impetus is not quite the same, needless to say.

Tesla’s integration of blinkers on the steering wheel is particularly clunky. Both of them are placed on the left steering wheel spoke and they are haptic controls, not actual buttons. Accidental blinker engagements are frequent and it’s not always clear if you’re using them right. Volkswagen’s version of this system could be better, but in the end, a separate control off the steering wheel, even if it’s not a stalk, would probably be more ergonomic.

Peter Holderith

VW needs to do something to change its ways. It’s remarkably uncompetitive in the United States, with product planning decisions often seeming to be in the face of market realities. It has trouble across the pond, too, where flip-flopping on the design of its small EVs has led to unnecessary delays. Steering wheel-mounted blinkers, needless to say, will not be its saving grace. This is just a patent, though. It doesn’t necessarily translate into VW’s intent to put a system like this into cars.

Got a tip? Email us at tips@thedrive.com

Peter Holderith is a former staff writer for The Drive. He enjoys covering the regular news cycle, writing reviews, and hunting down long features on obscure pieces of automotive history.