Ever been so frustrated with your car that you want to go full Karen/Kevin on the people who designed it? Well, Ford has applied for a patent on an electronic system that will patiently listen to your feedback and pass it along to the manufacturer in the form of good, old-fashioned service tickets, neatly categorized and tagged for easy perusal.
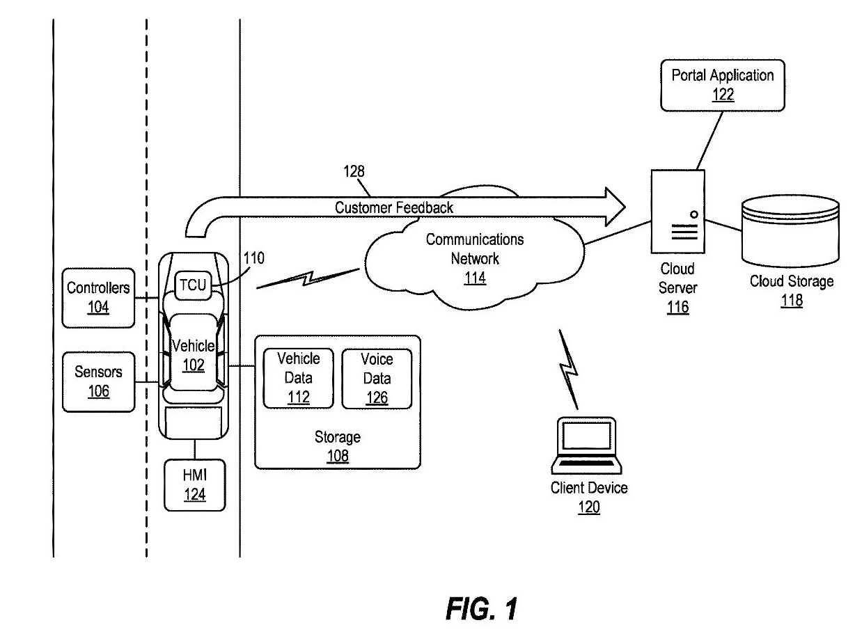
As presented in the application, the process would begin by triggering a recording in the vehicle’s infotainment menus, or prompting the owner to record and send feedback. In other words, this doesn’t propose a system where your Ford would secretly listen for positive or negative comments, which is a rare win for 2025 and thankfully not as dystopian as some of the company’s other proposals.

The feedback would be stored as both voice and text, then fired off to the cloud, where it would be subsequently crunched by a pair of algorithms. The first analyzes the language in an attempt to “understand” your feedback; the second categorizes it so that it can be easily displayed to the automaker.
Taken at face value, that doesn’t seem too bad, right? You’d have a direct line to Ford to report issues, and the company could use that insight to design better products. Where this could fall apart, however, is how Ford chooses to respond to your dissatisfaction. One diagram in the document shows an email response to an owner who’s left feedback; the reply says “It appears from your feedback that you expected the dealership to show you how to use all the features of your new truck. Please use the following link to schedule a virtual guided tour of your new vehicle,” followed by a URL.

If the system’s basic response to design flaws is to say “Oh, you just don’t know how to use your new car!” it’ll be the equivalent of someone on a customer service hotline asking “Have you tried turning it on and off?” It’ll merely add insult to injury. If you’ve ever spent more than 30 seconds interacting with a chatbot, you’re likely feeling a certain sense of hopelessness and dread here.
The application suggests that, in addition to Ford itself, dealers may be able to access this feedback as well. Ford envisions the system offering to schedule service visits or solicit dealer communications, also sort of like a chatbot. On the other hand, the manufacturer is not suggesting that any of this would replace the traditional customer service avenues currently available.
In theory, such an initiative would help Ford identify areas where its quality control or dealer training is lacking. Addressing these issues would drive the company to preemptively address more customer complaints, transparently improving the experience for everyone. As for the folks who have already bought the cars, at least you’d get the satisfaction of ranting without feeling compelled to buy your service department donuts afterward. Patents are never guarantees of future products—even if this one is ultimately granted—so we’ll have to watch where it goes.
Got tips? Send ’em to tips@thedrive.com