Every few months, it seems like somebody comes along and tries to put an exhaust system on an electric vehicle. Dodge’s physical sound generator is perhaps the most novel attempt at something we’d consider a traditional “exhaust,” but GM just patented something that is long on function and short on form. It’s an emergency exhaust designed to head off a rare but catastrophic condition known as thermal runaway.
Under normal circumstances, an EV only emits heat, rendering a traditional exhaust system pointless. Too much heat, however, is a potentially serious problem. Thermal runaway happens when, as a result of defect or damage, the battery begins to generate more heat than its cooling system can disperse, starting a chain-reaction effect that produces flammable gasses. It’s the precursor to everybody‘s favorite electrified euphemism, the “thermal event.”
You know, fire.
Salt water warning 😳
byu/Sir-Kyle-Of-Reddit inelectricvehicles
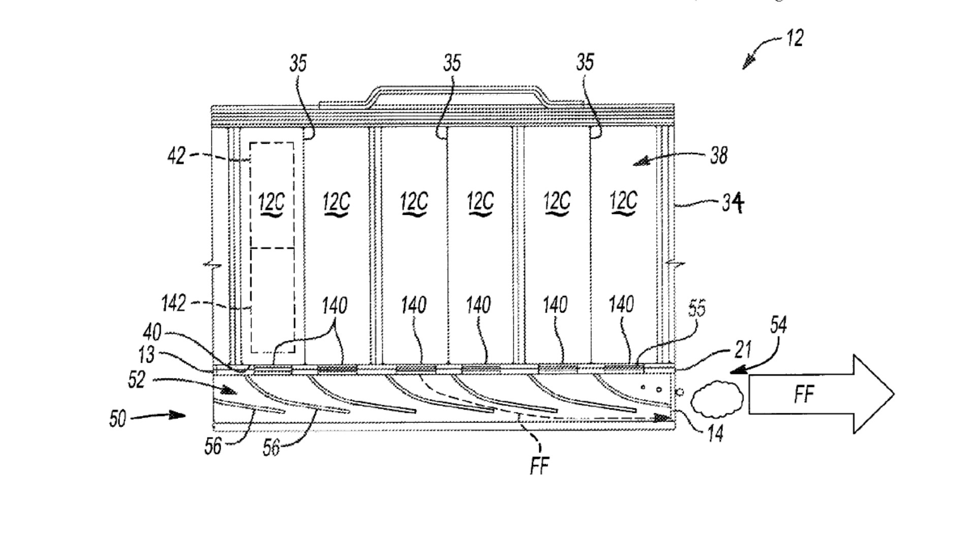
GM’s patent describes a system designed to help prevent thermal runaway from instigating a thermal event. To call it an “exhaust” seems a bit generous; it’s more like an elaborate wastegate.
Essentially, it consists of a series of valves and/or caps that physically release the hot, combustible gases being generated within the malfunctioning battery cells and shunt them through a series of baffles that divert them away from adjacent cells and into a central exhaust chamber, where they’re vented to the atmosphere, removing heat from the pack and eliminating potential ignition sources all in one go.


While the greatest threat of fire would come from within the EV’s battery, GM doesn’t address the fact that it would expel combustible gases into what could be a chaotic, post-accident environment. Stellantis applied for a patent on a similar system earlier this year that incorporated a scrubber (akin to a catalytic converter) to remove unwanted components of the expelled mixture.
Functionally, what GM has designed here has more in common with that emergency relief valve hanging off the side of your water heater than it does with a traditional internal-combustion exhaust system. But, it is technically an exhaust system. Ideally, a car equipped with such an “exhaust” would never utilize it. But in the event of an accident or a defective/damaged battery, it could mean the difference between replacing a dead pack and rebuilding a burned-down garage—or home. Sounds like a winner.
Got tips? Send ’em to tips@thedrive.com