We recently entered a new era of automated driver assist features that are not only clever enough to be useful, but smart enough to know when they are and aren’t needed. And while such “Smart” driving aids are already starting to appear in some current luxury cars (see the new BMW X3 and iX3, for example), GM wants to take it one step further and integrate that same tech into its semi-autonomous driving suite, allowing drivers to simply look where they want to go in order to prompt a lane change.
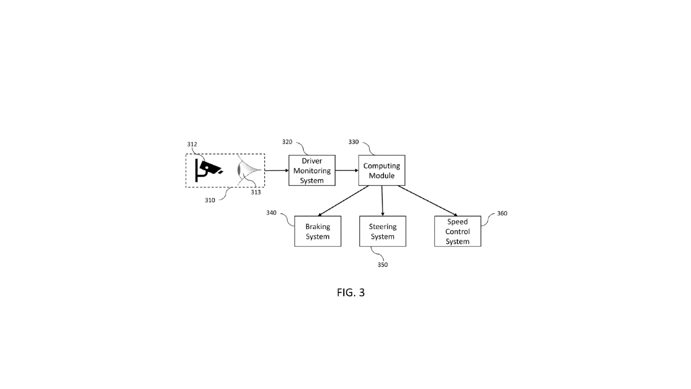
The patent application describes a system using an internal camera to stream video and monitor the “driver’s” (using that term somewhat loosely here) face. Using eye movements, the system would be able to determine when and where the driver would like to change lanes, triggering the action within the self-driving suite.
It’s an interesting concept, I’ll admit, and perhaps even one that would be fascinating to see implemented, but I’m struggling to identify a use case. After all, GM’s own Super Cruise software already knows how to pass slower traffic without relying on driver intervention at all. It simply identifies slower traffic ahead and queues the vehicle up to pass when it’s safe and practical to do so. This? Well, check out the process flow:


All that, just go go around a slower car. Seems excessive, doesn’t it? And it seems like an odd half-measure that would exist only to impress the occasional passenger, rather than proving itself useful every day.
That said, I’m generally on board with anything that gives control back to the driver, and I’m curious to see what other uses GM can identify for similar tech. I suppose we’ll have to keep our eyes open for more, eh?
Got a news tip? Let us know at tips@thedrive.com!