Samsung filed a patent application for a quadcopter display drone which is essentially a flying screen and camera-drone that would respond to your eyes, facial expression, and hand gestures last month. On Feb. 13, the United States Patent and Trademark Office granted that patent to the South Korean tech giant.
Certainly this is a pretty significant step with all sorts of implications on the potential shifts in industries such as advertising, surveillance, and more. But how capable of an unmanned aerial vehicle would this be, specifically? How likely are we to see these things sell us Coca-Colas while trying to check out at CVS? Let’s get acquainted.
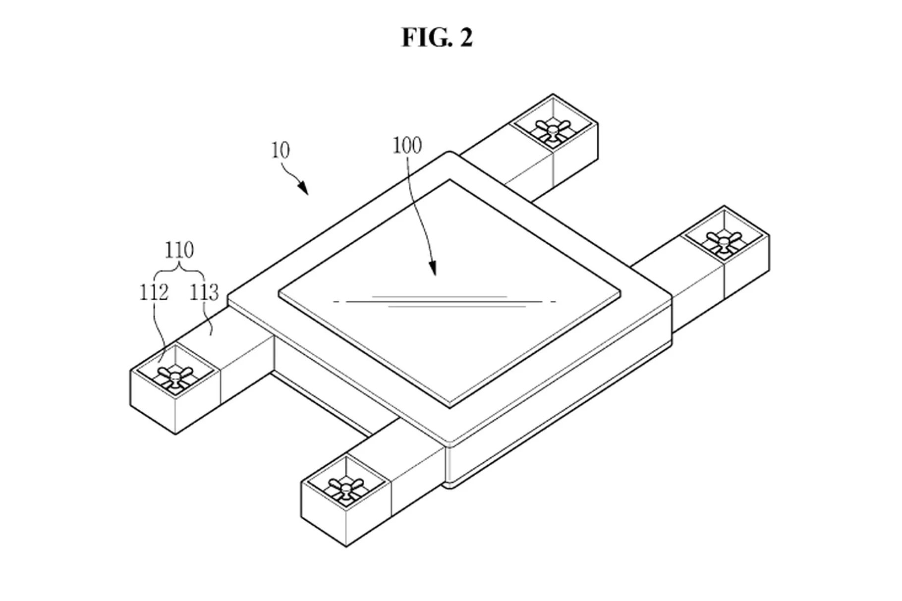
According to the patent, Samsung’s “Flying Display Device” would essentially be a flying quadcopter equipped with a camera unit, display, GPS, a “WiFi-based positioning system,” and voice-recognition capabilities.
Upon first glance at the basics, here, it’s clear that this would be the perfect, autonomous targeted-advertising machine. One could easily imagine this thing whirring by you at a shopping mall, for example – identifying you, giving you targeted store suggestions or offering you deals in exchange for your willingness to provide personal information. In an era of ubiquitous social-media relationships between users and corporations, and the increasing affordability in the drone technology sector – this frankly seems like the logical next step we’ve all thought of before. The device would reportedly be able to change the incline angle of the screen, allowing for more precise directional positioning.
Let’s take a look at this “Flying Display Drone,” shall we?

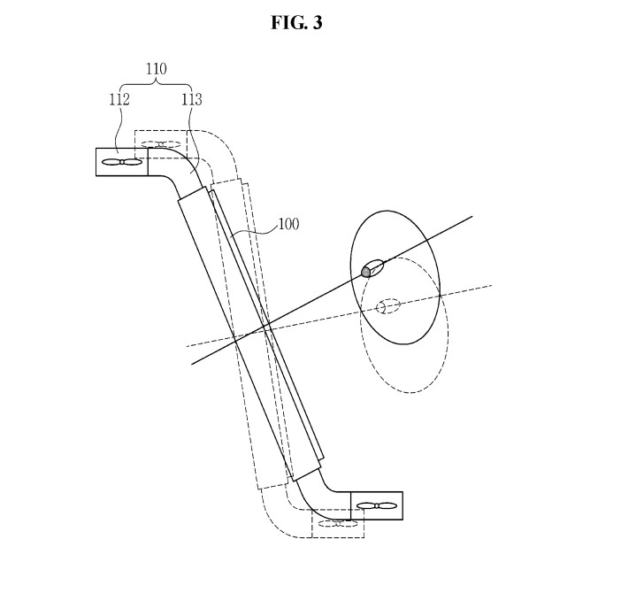
The embedded camera here would reportedly detect a person’s pupils, facial expression, their hand gestures and general position. According to The Verge, the captured data would be sent to the main control unit, while the drone itself would be commanded by those being recorded via the aforementioned body parts and areas. Naturally, a modern-day autonomous UAV requires an obstacle avoidance system, a motion-sensor, and a gyroscope and accelerometer to call itself capable, and the patent certainly includes those as potential features. Regarding the “joint-manipulator” allowing for the drone’s incline angle to be altered, this figure from the patent below should visually clarify how that would work.

While there are some who are strongly against the ever-increasing presence of camera-drones, there are those that think a billion active UAVs are inevitable. For those of us in the middle, patents like these are expected. We will soon live in a world where drones like the above will be a common part of everyday life. Advertising, monitoring, marketing, surveillance—all of these industries will take advantage of the advent of affordable drone tech. The only real remaining question is, how ingeniously will UAVs like these be employed? Only time will tell. For now, we’ll just have to get used to “flying display drones” flying one step closer to reality.