General Motors confirmed to The Drive what GM Inside News first reported about a document found in the U.S. Patent and Trademark Office showing GM considering the viability of reviving twincharging as a method of forced induction on internal combustion engines. Twincharging is the name given to systems which use both a belt-driven supercharger and exhaust-driven turbocharger. It offers the supercharger’s instant boost, and the turbocharger’s efficiency, though at the cost of complexity inferior to either system. Outside of niche use in motorsport, such as in the Lancia Delta S4 rally car, twincharging has not seen wide use, albeit in Volkswagen’s 1.4-liter TSi series of engines and Volvo’s latest series of inline-four power plants.
Back in August, we found Mazda’s own USPTO filing for a twincharging system, one which utilizes a supercharger spun by an electric motor, and a pair of turbochargers.
The GM system differs in that while it also uses a unique system to spin the supercharger, its solution is more mechanical. It remains belt driven, though it instead utilizes a continuously variable transmission-esque set of pulleys and cones to vary supercharger speed, and thus, boost pressure.

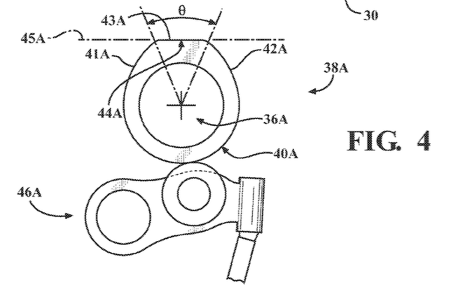
To further aid the engine’s intake of air, a pair of systems which delay the intake valve’s closing have been devised. The first, seen in Figure 4, alters the cam profile from a narrow peak to a wide plateau, keeping the intake valve open to its widest for more time, allowing in more air for combustion. This system, according to the filing, could allow for the intake valve to be fully open for up to 40 degrees of crankshaft rotation, or a little more than 22 percent of the intake stroke.

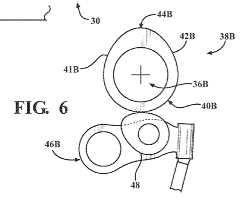
An alternative system, depicted in Figure 6, targets a similar result with a traditional camshaft design, instead using a cam-shaped roller in place of a circular roller. Actuation of this system could be accomplished with oil pressure, similar to how some variable valve timing and lift systems use oil pressure to adjust cam profiles.
This system, though it operates with little similarity to Koenigsegg’s FreeValve system, shares the goal of controlling valve timing and lift with greater precision.
Compression ratio is said to target a minimum of 10:1. For reference, the competing Ford Ecoboost series of engines sit in this range of compression ratios, with the current 2.0-liter Ecoboost at 9.7:1 compression. Though this ratio is still well shy of Mazda’s Skyactiv-X HCCI engine, its valve technology advantage is certain to keep GM’s fossil fuel-powered vehicles competitive for years to come.