Depending on who you talk to, Apple is either furiously developing its own car or has abandoned the project entirely. What we do know is that the tech giant has been hard at work on car tech, including its already popular CarPlay but also newer, cooler stuff. An interesting patent regarding a windshield with augmented reality capabilities was recently filed with the U.S. Patent and Trademark Office (USPTO).
Per the patent documents, it’s clear this has been in the works for some time, despite only just getting published this month. The divisional application references various former patent applications dating all the way back to 2015. It’s thus clear that Apple has long been pursuing automotive applications of augmented reality. That’s no surprise, given the strong value placed on the company’s CarPlay ecosystem.



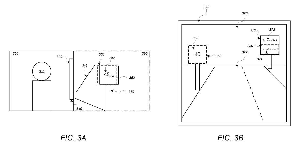
Augmented reality or AR, refers to a variety of display technologies that overlay digital imagery over the real world. A simple heads-up display merely projects information onto a screen, but an augmented reality display is able to recognize physical reality and create graphics that interact with elements or layer over them. A simple example is a navigation system that shows a floating arrow pointing down a side street for the driver to follow. This video shows how Mercedes-Benz utilizes AR in some of its newest models, though this tech only applies to the infotainment screens when navigation is on, and not the cars’ entire windshields.
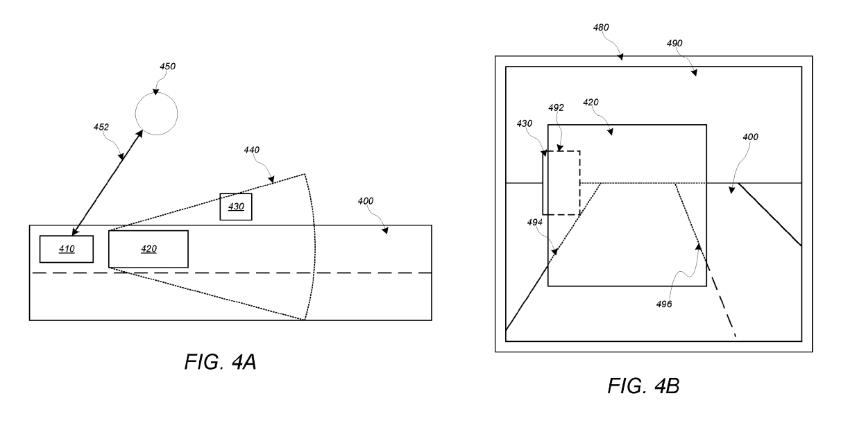
The patent suggests Apple’s AR system would rely on a variety of sensors to collect information about the surrounding environment. This could include visible light cameras, various types of infrared cameras, as well as ultrasonic and light-based scanning devices for building up a three-dimensional picture of the car’s surroundings. The patent also mentions the use of geographical positioning devices and radar devices as key to its technology.

Armed with a three-dimensional model of the world outside the windshield, the AR system can then overlay data that appears to exist within the environment itself, rather on top of it. Apple cites a wide variety of use cases, such as overlaying or highlighting signs with relevant information, or revealing the outline of a navigation destination when it is obscured by surrounding buildings or vehicles.
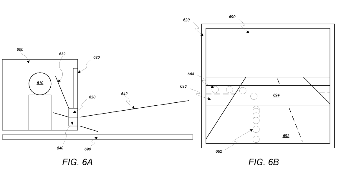
The patent explores more outlandish ideas, too. One example from the patent suggests that the AR system could display simulated speed bumps in the environment if the driver is detected to be driving too fast. This would encourage the driver to slow down. To complete the effect, the AR system could work with a car’s active suspension to create the feeling of passing over speed bumps or rumble strips as desired. Another concept involves the AR system detecting the presence of “human child individuals” in a given area, and using this information to help overlay data indicating that an area may be a school zone.




The one thing the patent is light on is the details of how the technology would work in practice. It’s one thing to project a small heads-up display at the bottom of a windshield, but it’s another entirely to turn an entire windshield into an AR display of decent quality. Various techniques involving projection or LCDs could be used, but doing so at full scale in a car would be a technological feat of some merit.
As cars keep getting smarter, expect an arms race to develop. The automotive world is frantically reimagining the user interface for the world of tomorrow, and augmented reality is just one feature on the wishlist for the future.
Got a tip? Let the author know: lewin@thedrive.com