Manual-Equipped Toyota Performance Hybrids May Be Coming Soon

A recent patent shows the automaker is laying the groundwork for a future where the manual transmission lives on.
Toyota

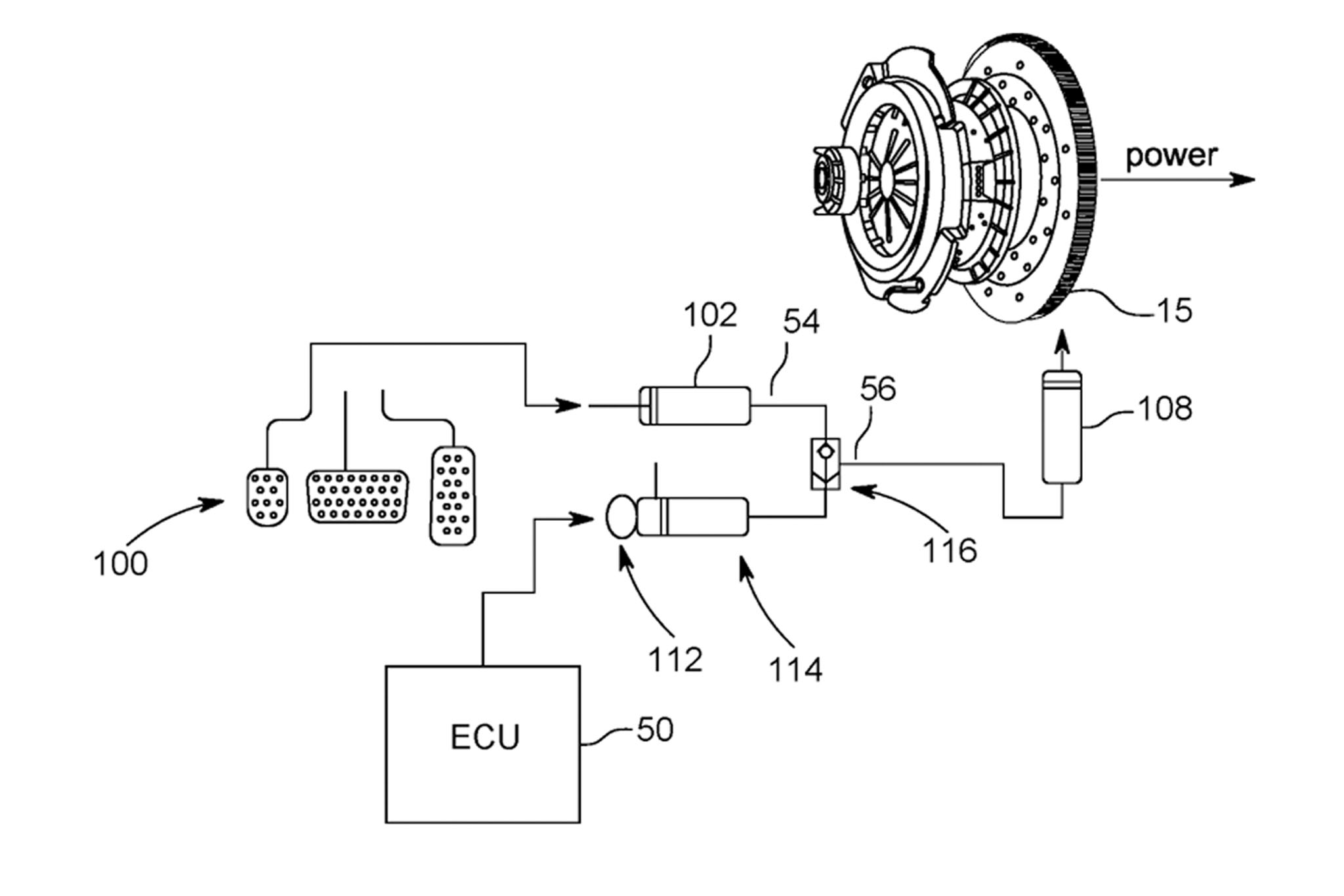
Toyota is skeptical of fully electric vehicles, but it loves hybrids. The automaker offers most of its models with an internal combustion engine as well as electric power, and now it’s looking into adding a manual transmission to the mix. A recent patent from the Japanese manufacturer describes a unique system to manage the clutch in stick-equipped performance hybrids. The language and art included in the document seem to indicate the company’s intentions.

The patent was filed in early August 2021, though it was only published for public viewing in mid-February of this year. In it, Toyota says it knows what enthusiasts prefer, and as such what it lays out is not a “clutch-by-wire” system, which disconnects the clutch pedal mechanically from the actual hydraulic clutch actuation system. Instead, it opts for a unique shuttle valve-based setup that has three—yes, three—clutch cylinders.

Toyota

There is still effectively one master cylinder for the clutch. The inlet for that cylinder is the output of a shuttle valve, though. The valve takes two inputs from two separate cylinders and, depending on which cylinder provides more pressure, allows that stream of fluid to get into the master cylinder. One of these input cylinders is connected directly to the clutch pedal. The other is controlled by the car’s ECU.

The system allows for the car’s computer to cut in and declutch the engine from the wheels whenever it pleases. This is important for hybrid cars which may need to do this to coast, start or stop smoothly, and more. Here’s where it gets appealing to enthusiasts.

Because the setup uses a shuttle valve, the driver can always override what the computer does just by depressing the clutch and applying more pressure than the ECU’s cylinder provides. So if the car is doing something the driver doesn’t like, then they can adjust for it. Furthermore, the patent describes a sport mode where the ECU’s cylinder will be completely deactivated. At that point, the car will work exactly like a normal manual would. Check out the art provided with the patent below and you’ll see where Toyota is going with this.

Toyota

Toyota wants to continue catering to enthusiasts, even those who demand internal combustion. The automaker is also investing in hydrogen combustion, hydrogen fuel cells, and solid-state batteries for use in hybrids. It’s even tested a “fake” manual transmission for use in electric vehicles.

In short, Toyota is aware that all single-speed electric vehicles effectively deliver power the same and it isn’t giving up on injecting more fun into future cars, whatever they might be. ICE cars and hybrids are always going to be more interesting and exciting to enthusiasts, and this latest patent document is evidence of the brand’s commitment.

Got a tip? Send us a note: tips@thedrive.com

Peter Holderith is a former staff writer for The Drive. He enjoys covering the regular news cycle, writing reviews, and hunting down long features on obscure pieces of automotive history.